1. PURPOSE
This document contains scoping and technical requirements for accessibility to buildings and facilities by individuals with disabilities under the Americans with Disabilities Act (ADA) of 1990. These scoping and technical requirements are to be applied during the design, construction, and alteration of buildings and facilities covered by titles II and III of the ADA to the extent required by regulations issued by Federal agencies, including the Department of Justice and the Department of Transportation, under the ADA.
The illustrations and text of ANSI A117.1-1980 are reproduced with permission from the American National Standards Institute.
Paragraphs marked with an asterisk have related, nonmandatory material in the Appendix. In the Appendix, the corresponding paragraph numbers are preceded by an A.
2. GENERAL
2.1 Provisions for Adults and Children
The specifications in these guidelines are based upon adult dimensions and anthropometrics. These guidelines also contain alternate specifications based on children's dimensions and anthropometrics for drinking fountains, water closets, toilet stalls, lavatories, sinks, and fixed or built-in seating and tables.
2.2* Equivalent Facilitation
Departures from particular technical and scoping requirements of this guideline by the use of other designs and technologies are permitted where the alternative designs and technologies used will provide substantially equivalent or greater access to and usability of the facility. Appendix Note 2.2
2.3 Incorporation by Reference
2.3.1 General
The publications listed in 2.3.2 are incorporated by reference in this document. The Director of the Federal Register has approved these materials for incorporation by reference in accordance with 5U.S.C. 552(a) and 1 C.F.R. part 51. Copies of the referenced publications may be inspected at the Architectural and Transportation Barriers Compliance Board, 1331 F Street, NW., Suite 1000, Washington, DC; at the Department of Justice, Civil Rights Division, Disability Rights Section, 1425 New York Avenue, NW., Washington, DC; or at the Office of the Federal Register, 800 North Capitol Street, NW., Suite 700, Washington, DC.
2.3.2 Referenced Publications
The specific edition of the publications listed below are referenced in this document. Where differences occur between this document and the referenced publications, this document applies.
2.3.2.1 American Society for Testing and Materials (ASTM) Standards.
Copies of the referenced publications may be obtained from the American Society for Testing and Materials, 100 Bar Harbor Drive, West Conshohocken, Pennsylvania 19428 (http://www.astm.org).
- ASTM F 1292-99 Standard Specification for Impact Attenuation of Surface Systems Under and Around Playground Equipment (see 15.6.7.2 Ground Surfaces, Use Zones).
- ASTM F 1487-98 Standard Consumer Safety Performance Specification for Playground Equipment for Public Use (see 3.5 Definitions, Use Zone).
- ASTM F 1951-99 Standard Specification for Determination of Accessibility of Surface Systems Under and Around Playground Equipment (see 15.6.7.1 Ground Surfaces, Accessibility).
2.3.2.2 International Code Council (ICC) Codes
Copies of the referenced publications may be obtained from the International Code Council, 5203 Leesburg Pike, Suite 600, Falls Church, VA 2204-3401 (http://www.intlcode.org).
- International Building Code 2000 (see 15.3.3.2 Height).
3. MISCELLANEOUS INSTRUCTIONS AND DEFINITIONS
- 3.1 Graphic Conventions
- 3.2 Dimensional Tolerances
- 3.3 Notes
- 3.4 General Terminology
- 3.5 Definitions
3.1 Graphic Conventions
Graphic conventions are shown in Table 1. Dimensions that are not marked minimum or maximum are absolute, unless otherwise indicated in the text or captions.
3.2 Dimensional Tolerances
All dimensions are subject to conventional building industry tolerances for field conditions.
3.3 Notes
The text of these guidelines does not contain notes or footnotes. Additional information, explanations, and advisory materials are located in the Appendix.
3.4 General Terminology
- comply with
- Meet one or more specifications of these guidelines
- if, if ... then
- Denotes a specification that applies only when the conditions described are present
- may
- Denotes an option or alternative
- shall
- Denotes a mandatory specification or requirement
- should
- Denotes an advisory specification or recommendation
3.5 Definitions
- Access Aisle
- An accessible pedestrian space between elements, such as parking spaces, seating, and desks, that provides clearances appropriate for use of the elements.
- Accessible
- Describes a site, building, facility, or portion thereof that complies with these guidelines.
- Accessible Element
- An element specified by these guidelines (for example, telephone, controls, and the like).
- Accessible Route
- A continuous unobstructed path connecting all accessible elements and spaces of a building or facility. Interior accessible routes may include corridors, floors, ramps, elevators, lifts, and clear floor space at fixtures. Exterior accessible routes may include parking access aisles, curb ramps, crosswalks at vehicular ways, walks, ramps, and lifts.
- Accessible Space
- Space that complies with these guidelines.
- Adaptability
- The ability of certain building spaces and elements, such as kitchen counters, sinks, and grab bars, to be added or altered so as to accommodate the needs of individuals with or without disabilities or to accommodate the needs of persons with different types or degrees of disability.
- Addition
- An expansion, extension, or increase in the gross floor area of a building or facility.
- Administrative Authority
- A governmental agency that adopts or enforces regulations and guidelines for the design, construction, or alteration of buildings and facilities.
- Alteration
- An alteration is a change to a building or facility that affects or could affect the usability of the building or facility or part thereof. Alterations include, but are not limited to, remodeling, renovation, rehabilitation, reconstruction, historic restoration, resurfacing of circulation paths or vehicular ways, changes or rearrangement of the structural parts or elements, and changes or rearrangement in the plan configuration of walls and full-height partitions. Normal maintenance, reroofing, painting or wallpapering, or changes to mechanical and electrical systems are not alterations unless they affect the usability of the building or facility.
- Amusement Attraction
- Any facility, or portion of a facility, located within an amusement park or theme park which provides amusement without the use of an amusement device. Examples include, but are not limited to, fun houses, barrels, and other attractions without seats.
- Amusement Ride
- A system that moves persons through a fixed course within a defined area for the purpose of amusement.
- Amusement Ride Seat
- A seat that is built-in or mechanically fastened to an amusement ride intended to be occupied by one or more passengers.
- Area of Rescue Assistance
- An area, which has direct access to an exit, where people who are unable to use stairs may remain temporarily in safety to await further instructions or assistance during emergency evacuation.
- Area of Sport Activity
- That portion of a room or space where the play or practice of a sport occurs.
- Assembly Area
- A room or space accommodating a group of individuals for recreational, educational, political, social, civic, or amusement purposes, or for the consumption of food and drink.
- Automatic Door
- A door equipped with a power-operated mechanism and controls that open and close the door automatically upon receipt of a momentary actuating signal. The switch that begins the automatic cycle may be a photoelectric device, floor mat, or manual switch (see power-assisted door).
- Boarding Pier
- A portion of a pier where a boat is temporarily secured for the purpose of embarking or disembarking.
- Boat Launch Ramp
- A sloped surface designed for launching and retrieving trailered boats and other water craft to and from a body of water.
- Boat Slip
- That portion of a pier, main pier, finger pier, or float where a boat is moored for the purpose of berthing, embarking, or disembarking.
- Building
- Any structure used and intended for supporting or sheltering any use or occupancy.
- Catch Pool
- A pool or designated section of a pool used as a terminus for water slide flumes.
- Circulation Path
- An exterior or interior way of passage from one place to another for pedestrians, including, but not limited to, walks, hallways, courtyards, stairways, and stair landings.
- Clear
- Unobstructed.
- Clear Floor Space
- The minimum unobstructed floor or ground space required to accommodate a single, stationary wheelchair and occupant.
- Closed Circuit Telephone
- A telephone with dedicated line(s) such as a house phone, courtesy phone or phone that must be used to gain entrance to a facility.
- Common Use
- Refers to those interior and exterior rooms, spaces, or elements that are made available for the use of a restricted group of people (for example, occupants of a homeless shelter, the occupants of an office building, or the guests of such occupants).
- Cross Slope
- The slope that is perpendicular to the direction of travel (see running slope).
- Curb Ramp
- A short ramp cutting through a curb or built up to it.
- Detectable Warning
- A standardized surface feature built in or applied to walking surfaces or other elements to warn visually impaired people of hazards on a circulation path.
- Dwelling Unit
- A single unit which provides a kitchen or food preparation area, in addition to rooms and spaces for living, bathing, sleeping, and the like. Dwelling units include a single family home or a townhouse used as a transient group home; an apartment building used as a shelter; guestrooms in a hotel that provide sleeping accommodations and food preparation areas; and other similar facilities used on a transient basis. For purposes of these guidelines, use of the term "Dwelling Unit" does not imply the unit is used as a residence.
- Egress, Means of
- A continuous and unobstructed way of exit travel from any point in a building or facility to a public way. A means of egress comprises vertical and horizontal travel and may include intervening room spaces, doorways, hallways, corridors, passageways, balconies, ramps, stairs, enclosures, lobbies, horizontal exits, courts and yards. An accessible means of egress is one that complies with these guidelines and does not include stairs, steps, or escalators. Areas of rescue assistance or evacuation elevators may be included as part of accessible means of egress.
- Element
- An architectural or mechanical component of a building, facility, space, or site, e.g., telephone, curb ramp, door, drinking fountain, seating, or water closet.
- Elevated Play Component
- A play component that is approached above or below grade and that is part of a composite play structure consisting of two or more play components attached or functionally linked to create an integrated unit providing more than one play activity.
- Entrance
- Any access point to a building or portion of a building or facility used for the purpose of entering. An entrance includes the approach walk, the vertical access leading to the entrance platform, the entrance platform itself, vestibules if provided, the entry door(s) or gate(s), and the hardware of the entry door(s) or gate(s).
- Facility
- All or any portion of buildings, structures, site improvements, complexes, equipment, roads, walks, passageways, parking lots, or other real or personal property located on a site.
- Gangway
- A variable-sloped pedestrian walkway that links a fixed structure or land with a floating structure. Gangways which connect to vessels are not included.
- Golf Car Passage
- A continuous passage on which a motorized golf car can operate.
- Ground Floor
- Any occupiable floor less than one story above or below grade with direct access to grade. A building or facility always has at least one ground floor and may have more than one ground floor as where a split level entrance has been provided or where a building is built into a hillside.
- Ground Level Play Component
- A play component that is approached and exited at the ground level.
- Mezzanine or Mezzanine Floor
- That portion of a story which is an intermediate floor level placed within the story and having occupiable space above and below its floor.
- Marked Crossing
- A crosswalk or other identified path intended for pedestrian use in crossing a vehicular way.
- Multifamily Dwelling
- Any building containing more than two dwelling units.
- Occupiable
- A room or enclosed space designed for human occupancy in which individuals congregate for amusement, educational or similar purposes, or in which occupants are engaged at labor, and which is equipped with means of egress, light, and ventilation.
- Operable Part
- A part of a piece of equipment or appliance used to insert or withdraw objects, or to activate, deactivate, or adjust the equipment or appliance (for example, coin slot, pushbutton, handle).
- Path of Travel
- (Reserved).
- Play Area
- A portion of a site containing play components designed and constructed for children.
- Play Component
- An element intended to generate specific opportunities for play, socialization, or learning. Play components may be manufactured or natural, and may be stand alone or part of a composite play structure.
- Power-assisted Door
- A door used for human passage with a mechanism that helps to open the door, or relieves the opening resistance of a door, upon the activation of a switch or a continued force applied to the door itself.
- Private Facility
- A place of public accommodation or a commercial facility subject to title III of the ADA and 28 C.F.R. part 36 or a transportation facility subject to title III of the ADA and 49 C.F.R. 37.45.
- Public Facility
- A facility or portion of a facility constructed by, on behalf of, or for the use of a public entity subject to title II of the ADA and 28 C.F.R. part 35 or to title II of the ADA and 49 C.F.R. 37.41 or 37.43.
- Public Use
- Describes interior or exterior rooms or spaces that are made available to the general public. Public use may be provided at a building or facility that is privately or publicly owned.
- Ramp
- A walking surface which has a running slope greater than 1:20.
- Running Slope
- The slope that is parallel to the direction of travel (see cross slope).
- Service Entrance
- An entrance intended primarily for delivery of goods or services.
- Signage
- Displayed verbal, symbolic, tactile, and pictorial information.
- Site
- A parcel of land bounded by a property line or a designated portion of a public right-of-way.
- Site Improvement
- Landscaping, paving for pedestrian and vehicular ways, outdoor lighting, recreational facilities, and the like, added to a site.
- Sleeping Accommodations
- Rooms in which people sleep; for example, dormitory and hotel or motel guest rooms or suites.
- Soft Contained Play Structure.
- A play structure made up of one or more components where the user enters a fully enclosed play environment that utilizes pliable materials (e.g., plastic, netting, fabric).
- Space
- A definable area, e.g., room, toilet room, hall, assembly area, entrance, storage room, alcove, courtyard, or lobby.
- Story
- That portion of a building included between the upper surface of a floor and upper surface of the floor or roof next above. If such portion of a building does not include occupiable space, it is not considered a story for purposes of these guidelines. There may be more than one floor level within a story as in the case of a mezzanine or mezzanines.
- Structural Frame
- The structural frame shall be considered to be the columns and the girders, beams, trusses and spandrels having direct connections to the columns and all other members which are essential to the stability of the building as a whole.
- TDD (Telecommunication Devices for the Deaf)
- See text telephone.
- TTY (Tele-Typewriter)
- See text telephone.
- Tactile
- Describes an object that can be perceived using the sense of touch.
- Technically Infeasible
- See 4.1.6(1)(j) EXCEPTION.
- Teeing Ground
- In golf, the starting place for the hole to be played.
- Text Telephone (TTY)
- Machinery or equipment that employs interactive text based communications through the transmission of coded signals across the standard telephone network. Text telephones can include, for example, devices known as TDDs (telecommunication display devices or telecommunication devices for deaf persons) or computers with special modems. Text telephones are also called TTYs, an abbreviation for tele-typewriter.
- Transfer Device
- Equipment designed to facilitate the transfer of a person from a wheelchair or other mobility device to and from an amusement ride seat.
- Transient Lodging*
- A building, facility, or portion thereof, excluding inpatient medical care facilities and residential facilities, that contains sleeping accommodations. Transient lodging may include, but is not limited to, resorts, group homes, hotels, motels, and dormitories. Appendix Note 3.5
- Transition Plate
- A sloping pedestrian walking surface located at the end(s) of a gangway.
- Use Zone.
- The ground level area beneath and immediately adjacent to a play structure or equipment that is designated by ASTM F 1487 Standard Consumer Safety Performance Specification for Playground Equipment for Public Use (incorporated by reference, see 2.3.2) for unrestricted circulation around the equipment and on whose surface it is predicted that a user would land when falling from or exiting the equipment.
- Vehicular Way
- A route intended for vehicular traffic, such as a street, driveway, or parking lot.
- Walk
- An exterior pathway with a prepared surface intended for pedestrian use, including general pedestrian areas such as plazas and courts.
4. ACCESSIBLE ELEMENTS AND SPACES: SCOPE AND TECHNICAL REQUIREMENTS
4.1 Minimum Requirements
- 4.1.1 Application
- 4.1.2 Accessible Sites and Exterior Facilities: New Construction
- 4.1.3 Accessible Buildings: New Construction
- 4.1.4 (Reserved)
- 4.1.5 Accessible Buildings: Additions
- 4.1.6 Accessible Buildings: Alterations
- 4.1.7 Accessible Buildings: Historic Preservation
4.1.1* Application
(1) General
All areas of newly designed or newly constructed buildings and facilities and altered portions of existing buildings and facilities shall comply with section 4, unless otherwise provided in this section or as modified in a special application section.
(2) Application Based on Building Use
Special application sections provide additional requirements based on building use. When a building or facility contains more than one use covered by a special application section, each portion shall comply with the requirements for that use.
(3)* Areas Used Only by Employees as Work Areas
Areas that are used only as work areas shall be designed and constructed so that individuals with disabilities can approach, enter, and exit the areas. These guidelines do not require that any areas used only as work areas be constructed to permit maneuvering within the work area or be constructed or equipped (i.e., with racks or shelves) to be accessible. Appendix Note 4.1.1(3)
(4) Temporary Structures
These guidelines cover temporary buildings or facilities as well as permanent facilities. Temporary buildings and facilities are not of permanent construction but are extensively used or are essential for public use for a period of time. Examples of temporary buildings or facilities covered by these guidelines include, but are not limited to: reviewing stands, temporary classrooms, bleacher areas, exhibit areas, temporary banking facilities, temporary health screening services, or temporary safe pedestrian passageways around a construction site. Structures, sites and equipment directly associated with the actual processes of construction, such as scaffolding, bridging, materials hoists, or construction trailers are not included.
(5) General Exceptions
- In new construction, a person or entity is not required to meet fully the requirements of these guidelines where that person or entity can demonstrate that it is structurally impracticable to do so. Full compliance will be considered structurally impracticable only in those rare circumstances when the unique characteristics of terrain prevent the incorporation of accessibility features. If full compliance with the requirements of these guidelines is structurally impracticable, a person or entity shall comply with the requirements to the extent it is not structurally impracticable. Any portion of the building or facility which can be made accessible shall comply to the extent that it is not structurally impracticable.
- Accessibility is not required to or in:
- raised areas used primarily for purposes of security or life or fire safety, including, but not limited to, observation or lookout galleries, prison guard towers, fire towers, or fixed life guard stands;
- non-occupiable spaces accessed only by ladders, catwalks, crawl spaces, very narrow passageways, tunnels, or freight (non-passenger) elevators, and frequented only by service personnel for maintenance, repair, or occasional monitoring of equipment; such spaces may include, but are not limited to, elevator pits, elevator penthouses, piping or equipment catwalks, water or sewage treatment pump rooms and stations, electric substations and transformer vaults, and highway and tunnel utility facilities;
- non-occupiable spaces accessed only by ladders, catwalks, crawl spaces, very narrow passageways, tunnels, or freight (non-passenger) elevators, and frequented only by service personnel for maintenance, repair, or occasional monitoring of equipment; such spaces may include, but are not limited to, elevator pits, elevator penthouses, piping or equipment catwalks, water or sewage treatment pump rooms and stations, electric substations and transformer vaults, and highway and tunnel utility facilities;
- raised structures used solely for refereeing, judging, or scoring a sport;
- water slides;
- animal containment areas that are not for public use; or
- raised boxing or wrestling rings.
4.1.2 Accessible Sites and Exterior Facilities: New Construction
An accessible site shall meet the following minimum requirements:
- (1) At least one accessible route complying with 4.3 shall be provided within the boundary of the site from public transportation stops, accessible parking spaces, passenger loading zones if provided, and public streets or sidewalks, to an accessible building entrance.
- (2)(a) At least one accessible route complying with 4.3 shall connect accessible buildings, accessible facilities, accessible elements, and accessible spaces that are on the same site.
- (2)(b)* Court Sports: An accessible route complying with 4.3 shall directly connect both sides of the court in court sports. Appendix Note 4.1.2(2)(b)
- (3) All objects that protrude from surfaces or posts into circulation paths shall comply with 4.4.
- EXCEPTION: The requirements of 4.4 shall not apply within an area of sport activity.
- (4) Ground surfaces along accessible routes and in accessible spaces shall comply with 4.5.
- EXCEPTION 1*:The requirements of 4.5 shall not apply within an area of sport activity. Appendix Note 4.1.2(4) Exception 1
- EXCEPTION 2*:Animal containment areas designed and constructed for public use shall not be required to provide stable, firm, and slip resistant ground and floor surfaces and shall not be required to comply with 4.5.2. Appendix Note 4.1.2(4) Exception 2
- (5) (a) If parking spaces are provided for self-parking by employees or visitors, or both, then accessible spaces complying with 4.6 shall be provided in each such parking area in conformance with the table below. Spaces required by the table need not be provided in the particular lot. They may be provided in a different location if equivalent or greater accessibility, in terms of distance from an accessible entrance, cost and convenience is ensured.
-
Total Parking in Lot Required Minimum Number of Accessible Spaces 1 to 25 1 26 to 50 2 51 to 75 3 76 to 100 4 101 to 150 5 151 to 200 6 201 to 300 7 301 to 400 8 401 to 500 9 501 to 1000 2 percent of total 1001 and over 20 plus 1 for each 100 over 1000 - (5)(b) One in every eight accessible spaces, but not less than one, shall be served by an access aisle 96 in (2440 mm) wide minimum and shall be designated "van accessible" as required by 4.6.4. The vertical clearance at such spaces shall comply with 4.6.5. All such spaces may be grouped on one level of a parking structure.
- EXCEPTION: Provision of all required parking spaces in conformance with "Universal Parking Design" (see appendix A4.6.3) is permitted.
- (5)(c) If passenger loading zones are provided, then at least one passenger loading zone shall comply with 4.6.6.
- (5)(d) At facilities providing medical care and other services for persons with mobility impairments, parking spaces complying with 4.6 shall be provided in accordance with 4.1.2(5)(a) except as follows:
-
- Outpatient units and facilities: 10 percent of the total number of parking spaces provided serving each such outpatient unit or facility;
- Units and facilities that specialize in treatment or services for persons with mobility impairments: 20 percent of the total number of parking spaces provided serving each such unit or facility.
- (5)(e)* Valet parking: Valet parking facilities shall provide a passenger loading zone complying with 4.6.6 located on an accessible route to the entrance of the facility. Paragraphs 5(a), 5(b), and 5(d) of this section do not apply to valet parking facilities. Appendix Note 4.1.2(5)(e)
- (6) If toilet facilities are provided on a site, then each such public or common use toilet facility shall comply with 4.22. If bathing facilities are provided on a site, then each such public or common use bathing facility shall comply with 4.23. For single user portable toilet or bathing units clustered at a single location, at least five percent but no less than one toilet unit or bathing unit complying with 4.22 or 4.23 shall be installed at each cluster whenever typical inaccessible units are provided. Accessible units shall be identified by the International Symbol of Accessibility.
- EXCEPTION: Portable toilet units at construction sites used exclusively by construction personnel are not required to comply with 4.1.2(6).
- (7) Building Signage. Signs which designate permanent rooms and spaces shall comply with 4.30.1, 4.30.4, 4.30.5 and 4.30.6. Other signs which provide direction to, or information about, functional spaces of the building shall comply with 4.30.1, 4.30.2, 4.30.3, and 4.30.5. Elements and spaces of accessible facilities which shall be identified by the International Symbol of Accessibility and which shall comply with 4.30.7 are:
-
- Parking spaces designated as reserved for individuals with disabilities;
- Accessible passenger loading zones;
- Accessible entrances when not all are accessible (inaccessible entrances shall have directional signage to indicate the route to the nearest accessible entrance);
- Accessible toilet and bathing facilities when not all are accessible.
4.1.3 Accessible Buildings: New Construction
Accessible buildings and facilities shall meet the following minimum requirements:
- (1)(a) At least one accessible route complying with 4.3 shall connect accessible building or facility entrances with all accessible spaces and elements within the building or facility.
- (b)* Court Sports. An accessible route complying with 4.3 shall directly connect both sides of the court in court sports. Appendix Note 4.1.3(1)(b)
- (2) All objects that overhang or protrude into circulation paths shall comply with 4.4.
- EXCEPTION: The requirements of 4.4 shall not apply within an area of sport activity.
- (3) Ground and floor surfaces along accessible routes and in accessible rooms and spaces shall comply with 4.5.
- EXCEPTION 1*: The requirements of 4.5 shall not apply within an area of sport activity. Appendix Note 4.1.3(3)
- EXCEPTION 2*: Animal containment areas designed and constructed for public use shall not be required to provide stable, firm, and slip resistant ground and floor surfaces and shall not be required to comply with 4.5.2. Appendix Note 4.1.3(3)1
- (4) Interior and exterior stairs connecting levels that are not connected by an elevator, ramp, or other accessible means of vertical access shall comply with 4.9. (5)* One passenger elevator complying with 4.10 shall serve each level, including mezzanines, in all multi-story buildings and facilities unless exempted below. If more than one elevator is provided, each passenger elevator shall comply with 4.10. Appendix Note 4.1.3(5)
- EXCEPTION 1: Elevators are not required in:
- private facilities that are less than three stories or that have less than 3000 square feet per story unless the building is a shopping center, a shopping mall, or the professional office of a health care provider, or another type of facility as determined by the Attorney General; or
- public facilities that are less than three stories and that are not open to the general public if the story above or below the accessible ground floor houses no more than five persons and is less than 500 square feet. Examples may include, but are not limited to, drawbridge towers and boat traffic towers, lock and dam control stations, and train dispatching towers.
The elevator exemptions set forth in paragraphs (a) and (b) do not obviate or limit in any way the obligation to comply with the other accessibility requirements established in section 4.1.3. For example, floors above or below the accessible ground floor must meet the requirements of this section except for elevator service. If toilet or bathing facilities are provided on a level not served by an elevator, then toilet or bathing facilities must be provided on the accessible ground floor. In new construction, if a building or facility is eligible for exemption but a passenger elevator is nonetheless planned, that elevator shall meet the requirements of 4.10 and shall serve each level in the building. A passenger elevator that provides service from a garage to only one level of a building or facility is not required to serve other levels.
- EXCEPTION 2: Elevator pits, elevator penthouses, mechanical rooms, piping or equipment catwalks are exempted from this requirement.
- EXCEPTION 3: Accessible ramps complying with 4.8 may be used in lieu of an elevator.
- EXCEPTION 4: Platform lifts (wheelchair lifts) complying with 4.11 of this guideline and applicable State or local codes may be used in lieu of an elevator only under the following conditions
- To provide an accessible route to a performing area in an assembly occupancy.
- To comply with the wheelchair viewing position line-of- sight and dispersion requirements of 4.33.3.
- To provide access to incidental occupiable spaces and rooms which are not open to the general public and which house no more than five persons, including but not limited to equipment control rooms and projection booths.
- To provide access where existing site constraints or other constraints make use of a ramp or an elevator infeasible.
- To provide access to raised judges' benches, clerks' stations, speakers' platforms, jury boxes and witness stands or to depressed areas such as the well of a court.
- * To provide access to player seating areas serving an area of sport activity. Appendix Note 4.1.3(5)
- EXCEPTION 5: Elevators located in air traffic control towers are not required to serve the cab and the floor immediately below the cab.
- (6) Windows: (Reserved).
- (7) Doors:
- At each accessible entrance to a building or facility, at least one door shall comply with 4.13.
- Within a building or facility, at least one door at each accessible space shall comply with 4.13.
- Each door that is an element of an accessible route shall comply with 4.13.
- Each door required by 4.3.10, Egress, shall comply with 4.13.
- (8) The requirements in (a) and (b) below shall be satisfied independently:
- (a)(i) At least 50 percent of all public entrances (excluding those in (b) below) shall comply with 4.14. At least one must be a ground floor entrance. Public entrances are any entrances that are not loading or service entrances.
- (ii) Accessible public entrances must be provided in a number at least equivalent to the number of exits required by the applicable building or fire codes. (This paragraph does not require an increase in the total number of public entrances planned for a facility.)
- (iii) An accessible public entrance must be provided to each tenancy in a facility (for example, individual stores in a strip shopping center).
- (iv) In detention and correctional facilities subject to section 12, public entrances that are secured shall be accessible as required by 12.2.1.
One entrance may be considered as meeting more than one of the requirements in (a). Where feasible, accessible public entrances shall be the entrances used by the majority of people visiting or working in the building.
- (b)(i) In addition, if direct access is provided for pedestrians from an enclosed parking garage to the building, at least one direct entrance from the garage to the building must be accessible.
- (ii) If access is provided for pedestrians from a pedestrian tunnel or elevated walkway, one entrance to the building from each tunnel or walkway must be accessible.
- (iii) In judicial, legislative, and regulatory facilities subject to section 11, restricted and secured entrances shall be accessible in the number required by 11.1.1.
- One entrance may be considered as meeting more than one of the requirements in (b).
- Because entrances also serve as emergency exits whose proximity to all parts of buildings and facilities is essential, it is preferable that all entrances be accessible.
- (c) If the only entrance to a building, or tenancy in a facility, is a service entrance, that entrance shall be accessible.
- (d) Entrances which are not accessible shall have directional signage complying with 4.30.1, 4.30.2, 4.30.3, and 4.30.5, which indicates the location of the nearest accessible entrance.
- (9)* In buildings or facilities, or portions of buildings or facilities, required to be accessible, accessible means of egress shall be provided in the same number as required for exits by local building/life safety regulations. Where a required exit from an occupiable level above or below a level of accessible exit discharge is not accessible, an area of rescue assistance shall be provided on each such level (in a number equal to that of inaccessible required exits). Areas of rescue assistance shall comply with 4.3.11. A horizontal exit, meeting the requirements of local building/life safety regulations, shall satisfy the requirement for an area of rescue assistance. Appendix Note 4.1.3(9)
- EXCEPTION: Areas of rescue assistance are not required in buildings or facilities having a supervised automatic sprinkler system.
- (10)* Drinking Fountains:
- (a) Where only one drinking fountain is provided on a floor there shall be a drinking fountain which is accessible to individuals who use wheelchairs in accordance with 4.15 and one accessible to those who have difficulty bending or stooping. (This can be accommodated by the use of a "hi-lo" fountain; by providing one fountain accessible to those who use wheelchairs and one fountain at a standard height convenient for those who have difficulty bending; by providing a fountain accessible under 4.15 and a water cooler; or by such other means as would achieve the required accessibility for each group on each floor.)
- (b) Where more than one drinking fountain or water cooler is provided on a floor, 50% of those provided shall comply with 4.15 and shall be on an accessible route. Appendix Note 4.1.3(10)
- (11) Toilet Facilities: If toilet rooms are provided, then each public and common use toilet room shall comply with 4.22. Other toilet rooms provided for the use of occupants of specific spaces (i.e., a private toilet room for the occupant of a private office) shall be adaptable. If bathing rooms are provided, then each public and common use bathroom shall comply with 4.23. Accessible toilet rooms and bathing facilities shall be on an accessible route.
- (12) Storage, Shelving and Display Units:
- If fixed or built-in storage facilities such as cabinets, shelves, closets, and drawers are provided in accessible spaces, at least one of each type provided shall contain storage space complying with 4.25. Additional storage may be provided outside of the dimensions required by 4.25.
- Shelves or display units allowing self-service by customers in mercantile occupancies shall be located on an accessible route complying with 4.3. Requirements for accessible reach range do not apply.
- * Where lockers are provided in accessible spaces, at least 5 percent, but not less than one, of each type of locker shall comply with 4.25. Appendix Note 4.1.3(12)(c)
- (13) Controls and operating mechanisms in accessible spaces, along accessible routes, or as parts of accessible elements (for example, light switches and dispenser controls) shall comply with 4.27.
- EXCEPTION: The requirements of 4.27 shall not apply to exercise machines.
- (14) If emergency warning systems are provided, then they shall include both audible alarms and visual alarms complying with 4.28. Sleeping accommodations required to comply with 9.3 shall have an alarm system complying with 4.28. Emergency warning systems in medical care facilities may be modified to suit standard health care alarm design practice.
- (15) Detectable warnings shall be provided at locations as specified in 4.29.
- (16) Building Signage:
- Signs which designate permanent rooms and spaces shall comply with 4.30.1, 4.30.4, 4.30.5 and 4.30.6.
- Other signs which provide direction to or information about functional spaces of the building shall comply with 4.30.1, 4.30.2, 4.30.3, and 4.30.5.
- EXCEPTION: Building directories, menus, and all other signs which are temporary are not required to comply.
- (17) Public telephones:
- (a) If public pay telephones, public closed circuit telephones, or other public telephones are provided, then they shall comply with 4.31.2 through 4.31.8 to the extent required by the following table:
-
Number of each type of telephone provided on each floor Number of telephones required to comply with 4.31.2 through 4.31.81 1 or more single unit 1 per floor 1 bank2 1 per floor 2 or more banks2 1 per bank. Accessible unit may be installed as a single unit in proximity (either visible or with signage) to the bank. At least one public telephone per floor shall meet the requirements for a forward reach telephone3 - 1. Additional public telephones may be installed at any height. Unless otherwise specified, accessible telephones may be either forward or side reach telephones.
- 2. A bank consists of two or more adjacent public telephones, often installed as a unit.
- 3. EXCEPTION: For exterior installations only, if dial tone first service is available, then a side reach telephone may be installed instead of the required forward reach telephone.
- (b)* All telephones required to be accessible and complying with 4.31.2 through 4.31.8 shall be equipped with a volume control. In addition, 25 percent, but never less than one, of all other public telephones provided shall be equipped with a volume control and shall be dispersed among all types of public telephones, including closed circuit telephones, throughout the building or facility. Signage complying with applicable provisions of 4.30.7 shall be provided. Appendix Note 4.1.3(17)(b)
- (c) The following shall be provided in accordance with 4.31.9:
- If four or more public pay telephones (including both interior and exterior telephones) are provided at a site of a private facility, and at least one is in an interior location, then at least one interior public text telephone (TTY) shall be provided. If an interior public pay telephone is provided in a public use area in a building of a public facility, at least one interior public text telephone (TTY) shall be provided in the building in a public use area.
- If an interior public pay telephone is provided in a private facility that is a stadium or arena, a convention center, a hotel with a convention center, or a covered mall, at least one interior public text telephone (TTY) shall be provided in the facility. In stadiums, arenas and convention centers which are public facilities, at least one public text telephone (TTY) shall be provided on each floor level having at least one interior public pay telephone.
- If a public pay telephone is located in or adjacent to a hospital emergency room, hospital recovery room, or hospital waiting room, one public text telephone (TTY) shall be provided at each such location.
- If an interior public pay telephone is provided in the secured area of a detention or correctional facility subject to section 12, then at least one public text telephone (TTY) shall also be provided in at least one secured area. Secured areas are those areas used only by detainees or inmates and security personnel.
- (d) Where a bank of telephones in the interior of a building consists of three or more public pay telephones, at least one public pay telephone in each such bank shall be equipped with a shelf and outlet in compliance with 4.31.9(2).
- EXCEPTION: This requirement does not apply to the secured areas of detention or correctional facilities where shelves and outlets are prohibited for purposes of security or safety.
- (18) If fixed or built-in seating or tables (including, but not limited to, study carrels and student laboratory stations), are provided in accessible public or common use areas, at least five percent (5%), but not less than one, of the fixed or built-in seating areas or tables shall comply with 4.32. An accessible route shall lead to and through such fixed or built-in seating areas, or tables.
- (19)* Assembly Areas:
- (a) In places of assembly with fixed seating accessible wheelchair locations shall comply with 4.33.2, 4.33.3, and 4.33.4 and shall be provided consistent with the following table:
-
Capacity of Seating in Assembly Area Number of Required Wheelchair Locations 4 to 25 1 26 to 50 2 51 to 300 4 301 to 500 6 over 500 6 plus 1 additional space for each total seating capacity increase of 100 - In addition, one percent, but not less than one, of all fixed seats shall be aisle seats with no armrests on the aisle side, or removable or folding armrests on the aisle side. Each such seat shall be identified by a sign or marker. Signage notifying patrons of the availability of such seats shall be posted at the ticket office. Aisle seats are not required to comply with 4.33.4. Appendix Note 4.1.3(19)(a)
- (b) This paragraph applies to assembly areas where audible communications are integral to the use of the space (e.g., concert and lecture halls, playhouses and movie theaters, meeting rooms, etc.). Such assembly areas, if (1) they accommodate at least 50 persons, or if they have audio-amplification systems, and (2) they have fixed seating, shall have a permanently installed assistive listening system complying with 4.33. For other assembly areas, a permanently installed assistive listening system, or an adequate number of electrical outlets or other supplementary wiring necessary to support a portable assistive listening system shall be provided. The minimum number of receivers to be provided shall be equal to 4 percent of the total number of seats, but in no case less than two. Signage complying with applicable provisions of 4.30 shall be installed to notify patrons of the availability of a listening system.
- (c) Where a team or player seating area contains fixed seats and serves an area of sport activity, the seating area shall contain the number of wheelchair spaces required by 4.1.3(19)(a), but not less than one wheelchair space. Wheelchair spaces shall comply with 4.33.2, 4.33.3, 4.33.4, and 4.33.5.
- EXCEPTION 1: Wheelchair spaces in team or player seating areas shall not be required to provide a choice of admission price or lines of sight comparable to those for members of the general public.
- EXCEPTION 2: This provision shall not apply to team or player seating areas serving bowling lanes not required to be accessible by 15.7.3.
- (20) Where automated teller machines (ATMs) are provided, each ATM shall comply with the requirements of 4.34 except where two or more are provided at a location, then only one must comply.
- EXCEPTION: Drive-up-only automated teller machines are not required to comply with 4.27.2, 4.27.3 and 4.34.3.
- (21) Where dressing, fitting, or locker rooms are provided, the rooms shall comply with 4.35.
- EXCEPTION: Where dressing, fitting, or locker rooms are provided in a cluster, at least 5 percent, but not less than one, of the rooms for each type of use in each cluster shall comply with 4.35.
- (22) Where saunas or steam rooms are provided, the rooms shall comply with 4.36.
- EXCEPTION: Where saunas or steam rooms are provided in a cluster, at least 5 percent, but not less than one, of the rooms for each type of use in each cluster shall comply with 4.36.
- General. Alterations to existing buildings and facilities shall comply with the following:
- No alteration shall be undertaken which decreases or has the effect of decreasing accessibility or usability of a building or facility below the requirements for new construction at the time of alteration.
- If existing elements, spaces, or common areas are altered, then each such altered element, space, feature, or area shall comply with the applicable provisions of 4.1.1 to 4.1.3 Minimum Requirements (for New Construction). If the applicable provision for new construction requires that an element, space, or common area be on an accessible route, the altered element, space, or common area is not required to be on an accessible route except as provided in 4.1.6(2) (Alterations to an Area Containing a Primary Function.)
- If alterations of single elements, when considered together, amount to an alteration of a room or space in a building or facility, the entire space shall be made accessible.
- No alteration of an existing element, space, or area of a building or facility shall impose a requirement for greater accessibility than that which would be required for new construction. For example, if the elevators and stairs in a building are being altered and the elevators are, in turn, being made accessible, then no accessibility modifications are required to the stairs connecting levels connected by the elevator. If stair modifications to correct unsafe conditions are required by other codes, the modifications shall be done in compliance with these guidelines unless technically infeasible.
- At least one interior public text telephone (TTY) complying with 4.31.9 shall be provided if:
- alterations to existing buildings or facilities with less than four exterior or interior public pay telephones would increase the total number to four or more telephones with at least one in an interior location; or
- alterations to one or more exterior or interior public pay telephones occur in an existing building or facility with four or more public telephones with at least one in an interior location.
- If an escalator or stair is planned or installed where none existed previously and major structural modifications are necessary for such installation, then a means of accessible vertical access shall be provided that complies with the applicable provisions of 4.7, 4.8, 4.10, or 4.11.
- In alterations, the requirements of 4.1.3(9), 4.3.10 and 4.3.11 do not apply.
- * Entrances: If a planned alteration entails alterations to an entrance, and the building has an accessible entrance, the entrance being altered is not required to comply with 4.1.3(8), except to the extent required by 4.1.6(2). If a particular entrance is not made accessible, appropriate accessible signage indicating the location of the nearest accessible entrance(s) shall be installed at or near the inaccessible entrance, such that a person with disabilities will not be required to retrace the approach route from the inaccessible entrance. Appendix Note 4.1.6(1)(h)
- If the alteration work is limited solely to the electrical, mechanical, or plumbing system, or to hazardous material abatement, or automatic sprinkler retrofitting, and does not involve the alteration of any elements or spaces required to be accessible under these guidelines, then 4.1.6(2) does not apply.
- EXCEPTION: In alteration work, if compliance with 4.1.6 is technically infeasible, the alteration shall provide accessibility to the maximum extent feasible. Any elements or features of the building or facility that are being altered and can be made accessible shall be made accessible within the scope of the alteration.
- Technically Infeasible
- Means, with respect to an alteration of a building or a facility, that it has little likelihood of being accomplished because existing structural conditions would require removing or altering a load-bearing member which is an essential part of the structural frame; or because other existing physical or site constraints prohibit modification or addition of elements, spaces, or features which are in full and strict compliance with the minimum requirements for new construction and which are necessary to provide accessibility
- EXCEPTION:
- These guidelines do not require the installation of an elevator in an altered facility that is exempt from the requirement for an elevator under 4.1.3(5).
- The exemption provided in paragraph (i) does not obviate or limit in any way the obligation to comply with the other accessibility requirements established in these guidelines. For example, alterations to floors above or below the ground floor must be accessible regardless of whether the altered facility has an elevator. If a facility subject to the elevator exemption set forth in paragraph (i) nonetheless has a passenger elevator, that elevator shall meet, to the maximum extent feasible, the accessibility requirements of these guidelines.
- Alterations to an Area Containing a Primary Function: In addition to the requirements of 4.1.6(1), an alteration that affects or could affect the usability of or access to an area containing a primary function shall be made so as to ensure that, to the maximum extent feasible, the path of travel to the altered area and the restrooms, telephones, and drinking fountains serving the altered area, are readily accessible to and usable by individuals with disabilities, unless such alterations are disproportionate to the overall alterations in terms of cost and scope (as determined under criteria established by the Attorney General).
- Special Technical Provisions for Alterations to Existing Buildings and Facilities:
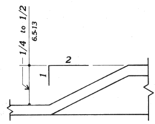
- Ramps: Curb ramps and interior or exterior ramps to be constructed on sites or in existing buildings or facilities where space limitations prohibit the use of a 1:12 slope or less may have slopes and rises as follows:
- A slope between 1:10 and 1:12 is allowed for a maximum rise of 6 inches (150 mm).
- A slope between 1:8 and 1:10 is allowed for a maximum rise of 3 inches (75 mm). A slope steeper than 1:8 is not allowed.
- Stairs: Full extension of handrails at stairs shall not be required in alterations where such extensions would be hazardous or impossible due to plan configuration.
- (c) Elevators:
- If safety door edges are provided in existing automatic elevators, automatic door reopening devices may be omitted (see 4.10.6).
- Where existing shaft configuration or technical infeasibility prohibits strict compliance with 4.10.9, the minimum car plan dimensions may be reduced by the minimum amount necessary, but in no case shall the inside car area be smaller than 48 in (1220 mm) by 48 in (1220 mm).
- Equivalent facilitation may be provided with an elevator car of different dimensions when usability can be demonstrated and when all other elements required to be accessible comply with the applicable provisions of 4.10. For example, an elevator of 47 in by 69 in (1195 mm by 1755 mm) with a door opening on the narrow dimension, could accommodate the standard wheelchair clearances shown in Figure 4.
- Doors:
- Where it is technically infeasible to comply with clear opening width requirements of 4.13.5, a projection of 5/8 in (16 mm) maximum will be permitted for the latch side stop.
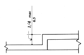
- If existing thresholds are 3/4 in (19 mm) high or less, and have (or are modified to have) a beveled edge on each side, they may remain.
- Toilet Rooms:
- Where it is technically infeasible to comply with 4.22 or 4.23, the installation of at least one unisex toilet/bathroom per floor, located in the same area as existing toilet facilities, will be permitted in lieu of modifying existing toilet facilities to be accessible. Each unisex toilet room shall contain one water closet complying with 4.16 and one lavatory complying with 4.19, and the door shall have a privacy latch.
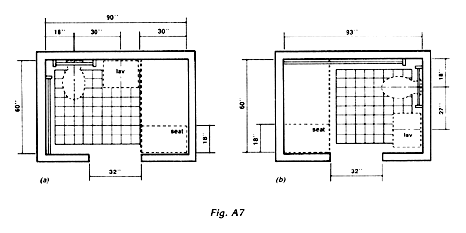
- Where it is technically infeasible to install a required standard stall (Fig. 30(a)), or where other codes prohibit reduction of the fixture count (i.e., removal of a water closet in order to create a double-wide stall), either alternate stall (Fig.30(b)) may be provided in lieu of the standard stall.
- When existing toilet or bathing facilities are being altered and are not made accessible, signage complying with 4.30.1, 4.30.2, 4.30.3, 4.30.5, and 4.30.7 shall be provided indicating the location of the nearest accessible toilet or bathing facility within the facility.
- Assembly Areas:
- Where it is technically infeasible to disperse accessible seating throughout an altered assembly area, accessible seating areas may be clustered. Each accessible seating area shall have provisions for companion seating and shall be located on an accessible route that also serves as a means of emergency egress.
- Where it is technically infeasible to alter all performing areas to be on an accessible route, at least one of each type of performing area shall be made accessible.
- Platform Lifts (Wheelchair Lifts): In alterations, platform lifts (wheelchair lifts) complying with 4.11 and applicable state or local codes may be used as part of an accessible route. The use of lifts is not limited to the conditions in exception 4 of 4.1.3(5)
- Dressing Rooms: In alterations where technical infeasibility can be demonstrated, one dressing room for each sex on each level shall be made accessible. Where only unisex dressing rooms are provided, accessible unisex dressing rooms may be used to fulfill this requirement.
- * Applicability:
- General Rule
- Alterations to a qualified historic building or facility shall comply with 4.1.6 (Accessible Buildings: Alterations), the applicable technical specifications of section 4 and the applicable special application sections unless it is determined in accordance with the procedures in 4.1.7(2) that compliance with the requirements for accessible routes (exterior and interior), ramps, entrances, or toilets would threaten or destroy the historic significance of the building or facility in which case the alternative requirements in 4.1.7(3) may be used for the feature. Appendix Note 4.1.7(1).
- EXCEPTION: (Reserved).
- Definition.A qualified historic building or facility is a building or facility that is:
- (i) Listed in or eligible for listing in the National Register of Historic Places; or
- (ii) Designated as historic under an appropriate State or local law.
- Procedures:
- Alterations to Qualified Historic Buildings and Facilities Subject to Section 106 of the National Historic Preservation Act:
- Section 106 Process. Section 106 of the National Historic Preservation Act (16 U.S.C. 470 f) requires that a Federal agency with jurisdiction over a Federal, federally assisted, or federally licensed undertaking consider the effects of the agency's undertaking on buildings and facilities listed in or eligible for listing in the National Register of Historic Places and give the Advisory Council on Historic Preservation a reasonable opportunity to comment on the undertaking prior to approval of the undertaking.
- ADA Application. Where alterations are undertaken to a qualified historic building or facility that is subject to section 106 of the National Historic Preservation Act, the Federal agency with jurisdiction over the undertaking shall follow the section 106 process. If the State Historic Preservation Officer or Advisory Council on Historic Preservation agrees that compliance with the requirements for accessible routes (exterior and interior), ramps, entrances, or toilets would threaten or destroy the historic significance of the building or facility, the alternative requirements in 4.1.7(3) may be used for the feature.
- Alterations to Qualified Historic Buildings and Facilities Not Subject to Section 106 of the National Historic Preservation Act. Where alterations are undertaken to a qualified historic building or facility that is not subject to section 106 of the National Historic Preservation Act, if the entity undertaking the alterations believes that compliance with the requirements for accessible routes (exterior and interior), ramps, entrances, or toilets would threaten or destroy the historic significance of the building or facility and that the alternative requirements in 4.1.7(3) should be used for the feature, the entity should consult with the State Historic Preservation Officer. If the State Historic Preservation Officer agrees that compliance with the accessibility requirements for accessible routes (exterior and interior), ramps, entrances or toilets would threaten or destroy the historical significance of the building or facility, the alternative requirements in 4.1.7(3) may be used.
- Consultation With Interested Persons. Interested persons should be invited to participate in the consultation process, including State or local accessibility officials, individuals with disabilities, and organizations representing individuals with disabilities.
- Certified Local Government Historic Preservation Programs. Where the State Historic Preservation Officer has delegated the consultation responsibility for purposes of this section to a local government historic preservation program that has been certified in accordance with section 101(c) of the National Historic Preservation Act of 1966 (16 U.S.C. 470a (c)) and implementing regulations (36 C.F.R. 61.5), the responsibility may be carried out by the appropriate local government body or official.
- Historic Preservation: Minimum Requirements:
- At least one accessible route complying with 4.3 from a site access point to an accessible entrance shall be provided.
EXCEPTION: A ramp with a slope no greater than 1:6 for a run not to exceed 2 ft (610 mm) may be used as part of an accessible route to an entrance. - At least one accessible entrance complying with 4.14 which is used by the public shall be provided.
EXCEPTION: If it is determined that no entrance used by the public can comply with 4.14, then access at any entrance not used by the general public but open (unlocked) with directional signage at the primary entrance may be used. The accessible entrance shall alsohave a notification system. Where security is a problem, remote monitoring may be used. - If toilets are provided, then at least one toilet facility complying with 4.22 and 4.1.6 shall be provided along an accessible route that complies with 4.3. Such toilet facility may be unisex in design.
- Accessible routes from an accessible entrance to all publicly used spaces on at least the level of the accessible entrance shall be provided. Access shall be provided to all levels of a building or facility in compliance with 4.1 whenever practical.
- Displays and written information, documents, etc., should be located where they can be seen by a seated person. Exhibits and signage displayed horizontally (e.g., open books), should be no higher than 44 in (1120 mm) above the floor surface.
- (1) At least one accessible route within the boundary of the site shall be provided from public transportation stops, accessible parking, and accessible passenger loading zones, and public streets or sidewalks to the accessible building entrance they serve. The accessible route shall, to the maximum extent feasible, coincide with the route for the general public.
- (2) At least one accessible route shall connect accessible buildings, facilities, elements, and spaces that are on the same site.
- (3) At least one accessible route shall connect accessible building or facility entrances with all accessible spaces and elements and with all accessible dwelling units within the building or facility.
- (4) An accessible route shall connect at least one accessible entrance of each accessible dwelling unit with those exterior and interior spaces and facilities that serve the accessible dwelling unit.
- (3) If ramps change direction at landings, the minimum landing size shall be 60 in by 60 in (1525 mm by 1525 mm).
- (1) Wall- and post-mounted cantilevered units shall have a clear knee space between the bottom of the apron and the floor or ground at least 27 in (685 mm) high, 30 in (760 mm) wide, and 17 in to 19 in (430 mm to 485 mm) deep (see Fig. 27(a) and (b)). Such units shall also have a minimum clear floor space 30 in by 48 in (760 mm by 1220 mm) to allow a person in a wheelchair to approach the unit facing forward.
- EXCEPTION: These clearances shall not be required at units used primarily by children ages 12 and younger where clear floor space for a parallel approach complying with 4.2.4 is provided and where the spout is no higher than 30 in (760 mm), measured from the floor or ground surface to the spout outlet.
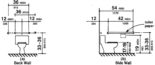
- (1) Clear Floor Space. Clear floor space for water closets not in stalls shall comply with Fig. 28 except that the centerline of water closets shall be 12 in minimum to 18 in maximum (305 mm to 455 mm) from the side wall or partition. Clear floor space may be arranged to allow either a left- or right-hand approach.
- (2)Height. The height of water closets shall be 11 in minimum to 17 in maximum (280 mm to 430 mm), measured to the top of the toilet seat. Seats shall not be sprung to return to a lifted position.
- (3) Grab Bars. Grab bars for water closets not located in stalls shall comply with 4.26 and Fig. 29 except that grab bars shall be mounted 18 in minimum to 27 in maximum (455 mm to 685 mm) above the finish floor measured to the grab bar centerline. The grab bar behind the water closet shall be 36 in (915 mm) minimum.
- EXCEPTION: If administrative authorities require flush controls for flush valves to be located in a position that conflicts with the location of the rear grab bar, then that grab bar may be split or, at water closets with a centerline placement below 15 in (380 mm), a rear grab bar 24 in (610 mm) minimum on the open side of the toilet area shall be permitted.
- (4) Flush Controls. Flush controls shall be hand operated or automatic and shall comply with 4.27.4. Controls for flush valves shall be mounted on the wide side of the toilet area no more than 36 in (915 mm) above the floor.
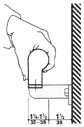
- (5) Dispensers. Toilet paper dispensers shall be installed 14 in minimum to 19 in maximum (355 mm to 485 mm) above the finish floor measured to the dispenser centerline. Dispensers that control delivery, or that do not permit continuous paper flow, shall not be used.
- 4.17.1 Location. Accessible toilet stalls shall be on an accessible route and shall meet the requirements of 4.17.2 through 4.17.6.
- EXCEPTION: Toilet stalls used primarily by children ages 12 and younger shall be permitted to comply with 4.17.7.
- 4.17.3* Size and Arrangement. The size and arrangement of the standard toilet stall shall comply with Fig. 30(a), Standard Stall. Standard toilet stalls with a minimum depth of 56 in (1420 mm) (see Fig. 30(a)) shall have wall-mounted water closets. If the depth of a standard toilet stall is increased at least 3 in (75 mm), then a floor-mounted water closet may be used. Arrangements shown for standard toilet stalls may be reversed to allow either a left- or right-hand approach. Additional stalls shall be provided in conformance with 4.22.4. Appendix Note 4.17.3
- EXCEPTION: In instances of alteration work where provision of a standard stall (Fig. 30(a)) is technically infeasible or where plumbing code requirements prevent combining existing stalls to provide space, either alternate stall (Fig. 30(b)) may be provided in lieu of the standard stall.
- (1) Water Closets. Water closets in accessible stalls shall comply with 4.16.7.
- (2) Size and Arrangement. The size and arrangement of the standard toilet stall shall comply with 4.17.3 and Fig. 30(a), Standard Stall, except that the centerline of water closets shall be 12 in minimum to 18 in maximum (305 mm to 455 mm) from the side wall or partition and the minimum depth for stalls with wall-mounted water closets shall be 59 in (1500 mm). Alternate stalls complying with Fig. 30(b) may be provided where permitted by 4.17.3 except that the stall shall have a minimum depth of 69 in (1745 mm) where wall-mounted water closets are provided.
- (3) Toe Clearances. In standard stalls, the front partition and at least one side partition shall provide a toe clearance of at least 12 in (305 mm) above the finish floor.
- (4) Doors. Toilet stall doors shall comply with 4.17.5.
- (5) Grab Bars. Grab bars shall comply with 4.17.6 and the length and positioning shown in Fig. 30(a), (b), (c), and (d) except that grab bars shall be mounted 18 in minimum to 27 in maximum (455 mm to 685 mm) above the finish floor measured to the grab bar centerline.
- EXCEPTION: If administrative authorities require flush controls for flush valves to be located in a position that conflicts with the location of the rear grab bar, then that grab bar may be split or, at water closets with a centerline placement below 15 in (380 mm), a rear grab bar 24 in (610 mm) minimum on the open side of the toilet area shall be permitted.
- 4.19.2 Height and Clearances. Lavatories shall be mounted with the rim or counter surface no higher than 34 in (865 mm) above the finish floor. Provide a clearance of at least 29 in (735 mm) above the finish floor to the bottom of the apron. Knee and toe clearance shall comply with Fig. 31.
- EXCEPTION 1: Lavatories used primarily by children ages 6 through 12 shall be permitted to have an apron clearance and a knee clearance 24 in (610 mm) high minimum provided that the rim or counter surface is no higher than 31 in (760 mm).
EXCEPTION 2: Lavatories used primarily by children ages 5 and younger shall not be required to meet these clearances if clear floor space for a parallel approach complying with 4.2.4 is provided.-
Figure 31
Lavatory ClearancesFigure 32
Clear Floor Space at Lavatories - 4.21.6 Shower Unit. A shower spray unit with a hose at least 60 in (1525 mm) long that can be used both as a fixed shower head and as a hand-held shower shall be provided.
- EXCEPTION: In unmonitored facilities where vandalism is a consideration, a fixed shower head mounted at 48 in (1220 mm) above the shower floor may be used in lieu of a hand-held shower head.
- 4.24.3 Knee Clearance. Knee clearance that is at least 27 in (685 mm) high, 30 in (760 mm) wide, and 19 in (485 mm) deep shall be provided underneath sinks.
- EXCEPTION 1: Sinks used primarily by children ages 6 through 12 shall be permitted to have a knee clearance 24 in (610 mm) high minimum provided that the rim or counter surface is no higher than 31 in (760 mm).
EXCEPTION 2: Sinks used primarily by children ages 5 and younger shall not be required to provide knee clearance if clear floor space for a parallel approach complying with 4.2.4 is provided- 4.27.3* Height. The highest operable part of controls, dispensers, receptacles, and other operable equipment shall be placed within at least one of the reach ranges specified in 4.2.5 and 4.2.6. Electrical and communications system receptacles on walls shall be mounted no less than 15 in (380 mm) above the floor. Appendix Note 4.27.3
- EXCEPTION: These requirements do not apply where the use of special equipment dictates otherwise or where electrical and communications systems receptacles are not normally intended for use by building occupants.
- (1) Facilities and elements required to be identified as accessible by 4.1 shall use the international symbol of accessibility. The symbol shall be displayed as shown in Fig. 43(a) and (b).
- (2) Volume Control Telephones. Telephones required to have a volume control by 4.1.3(17)(b) shall be identified by a sign containing a depiction of a telephone handset with radiating sound waves.
- (3) Text Telephones (TTYs). Text telephones (TTYs) required by 4.1.3(17)(c) shall be identified by the international TTY symbol (Fig 43(c)). In addition, if a facility has a public text telephone (TTY), directional signage indicating the location of the nearest text telephone (TTY) shall be placed adjacent to all banks of telephones which do not contain a text telephone (TTY). Such directional signage shall include the international TTY symbol. If a facility has no banks of telephones, the directional signage shall be provided at the entrance (e.g., in a building directory).
- (4) Assistive Listening Systems. In assembly areas where permanently installed assistive listening systems are required by 4.1.3(19)(b) the availability of such systems shall be identified with signage that includes the international symbol of access for hearing loss (Fig 43(d)). Appendix Note 4.30.7
- (1) Telephones shall be hearing aid compatible.
- (2) Volume controls, capable of a minimum of 12 dbA and a maximum of 18 dbA above normal, shall be provided in accordance with 4.1.3. If an automatic reset is provided then 18 dbA may be exceeded.
- (1) Text telephones (TTYs) used with a pay telephone shall be permanently affixed within, or adjacent to, the telephone enclosure. If an acoustic coupler is used, the telephone cord shall be sufficiently long to allow connection of the text telephone (TTY) and the telephone receiver. Appendix Note 4.31.9(1)
- (2) Pay telephones designed to accommodate a portable text telephone (TTY) shall be equipped with a shelf and an electrical outlet within or adjacent to the telephone enclosure. The telephone handset shall be capable of being placed flush on the surface of the shelf. The shelf shall be capable of accommodating a text telephone (TTY) and shall have 6 in (152 mm) minimum vertical clearance in the area where the text telephone (TTY) is to be placed.
- (3) Equivalent facilitation may be provided. For example, a portable text telephone (TTY) may be made available in a hotel at the registration desk if it is available on a 24-hour basis for use with nearby public pay telephones. In this instance, at least one pay telephone shall comply with paragraph 2 of this section. In addition, if an acoustic coupler is used, the telephone handset cord shall be sufficiently long so as to allow connection of the text telephone (TTY) and the telephone receiver. Directional signage shall be provided and shall comply with 4.30.7. Appendix Note 4.31.9(3)
- 4.32.1 Minimum Number. Fixed or built-in seating or tables required to be accessible by 4.1 shall comply with 4.32.2 through 4.32.4.
- EXCEPTION: Fixed or built-in seating or tables used primarily by children ages 12 and younger shall be permitted to comply with 4.32.5.
- (1) Seating. If seating spaces for people in wheelchairs are provided at fixed tables or counters, clear floor space complying with 4.2.4 shall be provided. Such clear floor space shall not overlap knee space by more than 19 in (485 mm) (see Fig. 45).
- (2) Knee Clearances. If seating for people in wheelchairs is provided at tables or counters, knee spaces at least 24 in (610 mm) high, 30 in (760 mm) wide, and 19 in (485 mm) deep shall be provided (see Fig. 45).
- (3) Height of Tables or Counters. The tops of accessible tables and counters shall be from 26 in to 30 in (660 mm to 760 mm) above the finish floor or ground.
- (1) Forward Approach Only. If only a forward approach is possible, operable parts of all controls shall be placed within the forward reach range specified in 4.2.5.
- (2) Parallel Approach Only. If only a parallel approach is possible, operable parts of controls shall be placed as follows:
- (3)Forward and Parallel Approach. If both a forward and parallel approach are possible, operable parts of controls shall be placed within at least one of the reach ranges in paragraphs (1) or (2) of this section.
- (4) Bins. Where bins are provided for envelopes, waste paper, or other purposes, at least one of each type provided shall comply with the applicable reach ranges in paragraph (1), (2), or (3) of this section.
- EXCEPTION: Where a function can be performed in a substantially equivalent manner by using an alternate control, only one of the controls needed to perform that function is required to comply with this section. If the controls are identified by tactile markings, such markings shall be provided on both controls.
- (1) Hospitals - general purpose hospitals, psychiatric facilities, detoxification facilities - At least 10 percent of patient bedrooms and toilets, and all public use and common use areas are required to be designed and constructed to be accessible.
- (2) Hospitals and rehabilitation facilities that specialize in treating conditions that affect mobility, or units within either that specialize in treating conditions that affect mobility - All patient bedrooms and toilets, and all public use and common use areas are required to be designed and constructed to be accessible.
- (3) Long term care facilities, nursing homes - At least 50 percent of patient bedrooms and toilets, and all public use and common use areas are required to be designed and constructed to be accessible.
- (4) Alterations to patient bedrooms.
- (1) Each bedroom shall have a door that complies with 4.13.
- EXCEPTION: Entry doors to acute care hospital bedrooms for in- patients shall be exempted from the requirement in 4.13.6 for maneuvering space at the latch side of the door if the door is at least 44 in (1120 mm) wide.
- (2) Each bedroom shall have adequate space to provide a maneuvering space that complies with 4.2.3. In rooms with two beds, it is preferable that this space be located between beds.
- (3) Each bedroom shall have adequate space to provide a minimum clear floor space of 36 in (915 mm) along each side of the bed and to provide an accessible route complying with 4.3.3 to each side of each bed.
- (1) In areas used for transactions where counters have cash registers and are provided for sales or distribution of goods or services to the public, at least one of each type shall have a portion of the counter which is at least 36 in (915mm) in length with a maximum height of 36 in (915 mm) above the finish floor. It shall be on an accessible route complying with 4.3. Such counters shall include, but are not limited to, counters in retail stores, and distribution centers. The accessible counters must be dispersed throughout the building or facility. In alterations where it is technically infeasible to provide an accessible counter, an auxiliary counter meeting these requirements may be provided.
- (2) In areas used for transactions that may not have a cash register but at which goods or services are sold or distributed including, but not limited to, ticketing counters, teller stations, registration counters in transient lodging facilities, information counters, box office counters and library check-out areas, either:
- (3)* In public facilities where counters or teller windows have solid partitions or security glazing to separate personnel from the public, at least one of each type shall provide a method to facilitate voice communication. Such methods may include, but are not limited to, grilles, slats, talk-through baffles, intercoms, or telephone handset devices. The method of communication shall be accessible to both individuals who use wheelchairs and individuals who have difficulty bending or stooping. If provided for public use, at least one telephone communication device shall be equipped with volume controls complying with 4.31.5. Hand-operable communications devices, if provided, shall comply with 4.27. Appendix Note 7.2(3)
- (4)* Assistive Listening Systems. (Reserved). Appendix Note 7.2(4)
- (1) In new construction, accessible check-out aisles shall be provided in conformance with the table below:
- (2) Clear aisle width for accessible check-out aisles shall comply with 4.2.1 and maximum adjoining counter height shall not exceed 38 in (965 mm) above the finish floor. The top of the lip shall not exceed 40 in (1015 mm) above the finish floor.
- (3) Signage identifying accessible check-out aisles shall comply with 4.30.7 and shall be mounted above the check-out aisle in the same location where the check-out number or type of check-out is displayed. Appendix Note 7.3
- (1) Except as specified in the special technical provisions of this section, accessible transient lodging shall comply with the applicable requirements of section 4. Transient lodging includes facilities or portions thereof used for sleeping accommodations, when not classed as a medical care facility.
- 9.1.1 General. All public use and common use areas are required to be designed and constructed to comply with section 4 (Accessible Elements and Spaces: Scope and Technical Requirements).
- EXCEPTION: Sections 9.1 through 9.4 do not apply to an establishment located within a building that contains not more than five rooms for rent or hire and that is actually occupied by the proprietor of such establishment as the residence of such proprietor.
- (1) In order to provide persons with disabilities a range of options equivalent to those available to other persons served by the facility, sleeping rooms and suites required to be accessible by 9.1.2 shall be dispersed among the various classes of sleeping accommodations available to patrons of the place of transient lodging. Factors to be considered include room size, cost, amenities provided, and the number of beds provided.
- (2) Equivalent Facilitation. For purposes of this section, it shall be deemed equivalent facilitation if the operator of a facility elects to limit construction of accessible rooms to those intended for multiple occupancy, provided that such rooms are made available at the cost of a single occupancy room to an individual with disabilities who requests a single-occupancy room.
- (1) Accessible sleeping rooms shall have a 36 in (915 mm) clear width maneuvering space located along both sides of a bed, except that where two beds are provided, this requirement can be met by providing a 36 in (915 mm) wide maneuvering space located between the two beds.
- (2) An accessible route complying with 4.3 shall connect all accessible spaces and elements, including telephones, within the unit, sleeping room, or suite. This is not intended to require an elevator in multi-story units as long as the spaces identified in 9.2.2(6) and (7) are on accessible levels and the accessible sleeping area is suitable for dual occupancy.
- (3) Doors and doorways designed to allow passage into and within all sleeping rooms, suites or other covered units shall comply with 4.13.
- (4) If fixed or built-in storage facilities such as cabinets, shelves, closets, and drawers are provided in accessible spaces, at least one of each type provided shall contain storage space complying with 4.25. Additional storage may be provided outside of the dimensions required by 4.25.
- (5) All controls in accessible units, sleeping rooms, and suites shall comply with 4.27.
- (6) Where provided as part of an accessible unit, sleeping room, or suite, the following spaces shall be accessible and shall be on an accessible route:
- (a) the living area.
(b) the dining area.
(c) at least one sleeping area.
(d) patios, terraces, or balconies.- EXCEPTION: The requirements of 4.13.8 and 4.3.8 do not apply where it is necessary to utilize a higher door threshold or a change in level to protect the integrity of the unit from wind/water damage. Where this exception results in patios, terraces or balconies that are not at an accessible level, equivalent facilitation shall be provided (e.g., equivalent facilitation at a hotel patio or balcony might consist of providing raised decking or a ramp to provide accessibility).
- (8) Sleeping room accommodations for persons with hearing impairments required by 9.1 and complying with 9.3 shall be provided in the accessible sleeping room or suite.
- 9.5.1 New Construction. In new construction all public use and common use areas are required to be designed and constructed to comply with section 4. At least one of each type of amenity (such as washers, dryers and similar equipment installed for the use of occupants) in each common area shall be accessible and shall be located on an accessible route to any accessible unit or sleeping accommodation.
- EXCEPTION: Where elevators are not provided as allowed in 4.1.3(5), accessible amenities are not required on inaccessible floors as long as one of each type is provided in common areas on accessible floors.
- (1) Where new bus stop pads are constructed at bus stops, bays or other areas where a lift or ramp is to be deployed, they shall have a firm, stable surface; a minimum clear length of 96 inches (measured from the curb or vehicle roadway edge) and a minimum clear width of 60 inches (measured parallel to the vehicle roadway) to the maximum extent allowed by legal or site constraints; and shall be connected to streets, sidewalks or pedestrian paths by an accessible route complying with 4.3 and 4.4. The slope of the pad parallel to the roadway shall, to the extent practicable, be the same as the roadway. For water drainage, a maximum slope of 1:50 (2%) perpendicular to the roadway is allowed.
- (2) Where provided, new or replaced bus shelters shall be installed or positioned so as to permit a wheelchair or mobility aid user to enter from the public way and to reach a location, having a minimum clear floor area of 30 inches by 48 inches, entirely within the perimeter of the shelter. Such shelters shall be connected by an accessible route to the boarding area provided under paragraph (1)of this section.
- (3) Where provided, all new bus route identification signs shall comply with 4.30.5. In addition, to the maximum extent practicable, all new bus route identification signs shall comply with 4.30.2 and 4.30.3. Signs that are sized to the maximum dimensions permitted under legitimate local, state or federal regulations or ordinances shall be considered in compliance with 4.30.2 and 4.30.3 for purposes of this section.
- EXCEPTION: Bus schedules, timetables, or maps that are posted at the bus stop or bus bay are not required to comply with this provision.
- (1) Bus stop sites shall be chosen such that, to the maximum extent practicable, the areas where lifts or ramps are to be deployed comply with section 10.2.1(1) and (2).
- (2) When new bus route identification signs are installed or old signs are replaced, they shall comply with the requirements of 10.2.1(3).
- (1) Elements such as ramps, elevators or other circulation devices, fare vending or other ticketing areas, and fare collection areas shall be placed to minimize the distance which wheelchair users and other persons who cannot negotiate steps may have to travel compared to the general public. The circulation path, including an accessible entrance and an accessible route, for persons with disabilities shall, to the maximum extent practicable, coincide with the circulation path for the general public. Where the circulation path is different, signage complying with 4.30.1, 4.30.2, 4.30.3, 4.30.5, and 4.30.7(1) shall be provided to indicate direction to and identify the accessible entrance and accessible route.
- (2) In lieu of compliance with 4.1.3(8), at least one entrance to each station shall comply with 4.14, Entrances. If different entrances to a station serve different transportation fixed routes or groups of fixed routes, at least one entrance serving each group or route shall comply with 4.14, Entrances. All accessible entrances shall, to the maximum extent practicable, coincide with those used by the majority of the general public.
- (3) Direct connections to commercial, retail, or residential facilities shall have an accessible route complying with 4.3from the point of connection to boarding platforms and all transportation system elements used by the public. Any elements provided to facilitate future direct connections shall be on an accessible route connecting boarding platforms and all transportation system elements used by the public.
- (4) Where signs are provided at entrances to stations identifying the station or the entrance, or both, at least one sign at each entrance shall comply with 4.30.4 and 4.30.6. Such signs shall be placed in uniform locations at entrances within the transit system to the maximum extent practicable.
- EXCEPTION: Where the station has no defined entrance, but signage is provided, then the accessible signage shall be placed in a central location.
- (5) Stations covered by this section shall have identification signs complying with 4.30.1, 4.30.2, 4.30.3, and 4.30.5. Signs shall be placed at frequent intervals and shall be clearly visible from within the vehicle on both sides when not obstructed by another train. When station identification signs are placed close to vehicle windows (i.e., on the side opposite from boarding) each shall have the top of the highest letter or symbol below the top of the vehicle window and the bottom of the lowest letter or symbol above the horizontal mid-line of the vehicle window.
- (6) Lists of stations, routes, or destinations served by the station and located on boarding areas, platforms, or mezzanines shall comply with 4.30.1, 4.30.2, 4.30.3, and 4.30.5. A minimum of one sign identifying the specific station and complying with 4.30.4 and 4.30.6 shall be provided on each platform or boarding area. All signs referenced in this paragraph shall, to the maximum extent practicable, be placed in uniform locations within the transit system.
- (8) Platform edges bordering a drop-off and not protected by platform screens or guard rails shall have a detectable warning. Such detectable warnings shall comply with 4.29.2and shall be 24 inches wide running the full length of the platform drop-off.
- (9) In stations covered by this section, rail-to-platform height in new stations shall be coordinated with the floor height of new vehicles so that the vertical difference, measured when the vehicle is at rest, is within plus or minus 5/8 inch under normal passenger load conditions. For rapid rail, light rail, commuter rail, high speed rail, and intercity rail systems in new stations, the horizontal gap, measured when the new vehicle is at rest, shall be no greater than 3 inches. For slow moving automated guideway "people mover" transit systems, the horizontal gap in new stations shall be no greater than 1 inch.
- EXCEPTION 1: Existing vehicles operating in new stations may have a vertical difference with respect to the new platform within plus or minus 1-1/2 inches.
EXCEPTION 2: In light rail, commuter rail and intercity rail systems where it is not operationally or structurally feasible to meet the horizontal gap or vertical difference requirements, mini-high platforms, car-borne or platform-mounted lifts, ramps or bridge plates, or similar manually deployed devices, meeting the applicable requirements of 36 C.F.R. part 1192, or 49 C.F.R. part 38 shall suffice.- (17) Where provided, elevators shall be glazed or have transparent panels to allow an unobstructed view both in to and out of the car. Elevators shall comply with 4.10.
- EXCEPTION: Elevator cars with a clear floor area in which a 60 inch diameter circle can be inscribed may be substituted for the minimum car dimensions of 4.10, Fig. 22.
- (1) Rapid, light and commuter rail key stations, as defined under criteria established by the Department of Transportation in subpart C of 49 C.F.R. part 37 and existing intercity rail stations shall provide at least one accessible route from an accessible entrance to those areas necessary for use of the transportation system.
- (2) The accessible route required by 10.3.2(1) shall include the features specified in 10.3.1(1), (4)-(9), (11)-(15), and (17)-(19).
- (3) Where technical infeasibility in existing stations requires the accessible route to lead from the public way to a paid area of the transit system, an accessible fare collection system, complying with 10.3.1(7), shall be provided along such accessible route.
- (4) In light rail, rapid rail and commuter rail key stations, the platform or a portion thereof and the vehicle floor shall be coordinated so that the vertical difference, measured when the vehicle is at rest, is within plus or minus 1-1/2 inches under all normal passenger load conditions, and the horizontal gap, measured when the vehicle is at rest, is no greater than 3 inches for at least one door of each vehicle or car required to be accessible by 49 C.F.R. part 37.
- EXCEPTION 1: Existing vehicles retrofitted to meet the requirements of 49 C.F.R. 37.93 (one-car-per-train rule) shall be coordinated with the platform such that, for at least one door, the vertical difference between the vehicle floor and the platform, measured when the vehicle is at rest with 50% normal passenger capacity, is within plus or minus 2 inches and the horizontal gap is no greater than 4 inches.
EXCEPTION 2: Where it is not structurally or operationally feasible to meet the horizontal gap or vertical difference requirements, mini-high platforms, car-borne or platform mounted lifts, ramps or bridge plates, or similar manually deployed devices, meeting the applicable requirements of 36 C.F.R. part 1192, or 49 C.F.R. part 38, shall suffice.- (5) New direct connections to commercial, retail, or residential facilities shall, to the maximum extent feasible, have an accessible route complying with 4.3 from the point of connection to boarding platforms and all transportation system elements used by the public. Any elements provided to facilitate future direct connections shall be on an accessible route connecting boarding platforms and all transportation system elements used by the public.
- (1) Elements such as ramps, elevators or other vertical circulation devices, ticketing areas, security checkpoints, or passenger waiting areas shall be placed to minimize the distance which wheelchair users and other persons who cannot negotiate steps may have to travel compared to the general public.
- (2) The circulation path, including an accessible entrance and an accessible route, for persons with disabilities shall, to the maximum extent practicable, coincide with the circulation path for the general public. Where the circulation path is different, directional signage complying with 4.30.1, 4.30.2, 4.30.3 and 4.30.5 shall be provided which indicates the location of the nearest accessible entrance and its accessible route.
- (3) Ticketing areas shall permit persons with disabilities to obtain a ticket and check baggage and shall comply with 7.2.
- (4) Where public pay telephones are provided, and at least one is at an interior location, a public text telephone (TTY) shall be provided in compliance with 4.31.9. Additionally, if four or more public pay telephones are located in any of the following locations, at least one public text telephone (TTY) shall also be provided in that location:
- (5) Baggage check-in and retrieval systems shall be on an accessible route complying with 4.3, and shall have space immediately adjacent complying with 4.2.4. If unattended security barriers are provided, at least one gate shall comply with 4.13. Gates which must be pushed open by wheelchair or mobility aid users shall have a smooth continuous surface extending from 2 inches above the floor to 27 inches above the floor.
- (6) Terminal information systems which broadcast information to the general public through a public address system shall provide a means to provide the same or equivalent information to persons with a hearing loss or who are deaf. Such methods may include, but are not limited to, visual paging systems using video monitors and computer technology. For persons with certain types of hearing loss such methods may include, but are not limited to, an assistive listening system complying with 4.33.7.
- (7) Where clocks are provided for use by the general public the clock face shall be uncluttered so that its elements are clearly visible. Hands, numerals, and/or digits shall contrast with their background either light-on-dark or dark-on-light. Where clocks are mounted overhead, numerals and/or digits shall comply with 4.30.3. Clocks shall be placed in uniform locations throughout the facility to the maximum extent practicable.
- (8)* Security Systems. In public facilities that are airports, at least one accessible route complying with 4.3 shall be provided through fixed security barriers at each single barrier or group of security barriers. A group is two or more security barriers immediately adjacent to each other at a single location. Where security barriers incorporate equipment such as metal detectors, fluoroscopes, or other similar devices which cannot be made accessible, an accessible route shall be provided adjacent to such security screening devices to facilitate an equivalent circulation path. The circulation path shall permit persons with disabilities passing through security barriers to maintain visual contact with their personal items to the same extent provided other members of the general public. Appendix Note 10.4.1(8)
- EXCEPTION: Doors, doorways, and gates designed to be operated only by security personnel shall be exempt from 4.13.9, 4.13.11, and 4.13.12.
- 11.1.1 Entrances. Where provided, at least one restricted entrance and one secured entrance to the facility shall be accessible in addition to the entrances required to be accessible by 4.1.3(8). Restricted entrances are those entrances used only by judges, public officials, facility personnel or other authorized parties on a controlled basis. Secured entrances are those entrances to judicial facilities used only by detainees and detention officers.
- EXCEPTION: At secured entrances, doors and doorways operated only by security personnel shall be exempt from 4.13.9, 4.13.10, 4.13.11 and 4.13.12.
- (1) Where provided, the following elements and spaces shall be on an accessible route complying with 4.3. Areas that are raised or depressed and accessed by ramps or platform lifts with entry ramps shall provide unobstructed turning space complying with 4.2.3.
- EXCEPTION: Vertical access to raised judges' benches or courtroom stations need not be installed provided that the requisite areas, maneuvering spaces, and, if appropriate, electrical service are installed at the time of initial construction to allow future installation of a means of vertical access complying with 4.8, 4.10, or 4.11 without requiring substantial reconstruction of the space.
- (b) Jury Boxes and Witness Stands. Each jury box and witness stand shall have within its defined area clear floor space complying with 4.2.4.
- EXCEPTION: In alterations, accessible wheelchair spaces are not required to be located within the defined area of raised jury boxes or witness stands and may be located outside these spaces where ramp or lift access poses a hazard by restricting or projecting into a means of egress required by the appropriate administrative authority.
- (2)* Permanently installed assistive listening systems complying with 4.33 shall be provided in each courtroom. The minimum number of receivers shall be four percent of the room occupant load, as determined by applicable State or local codes, but not less than two receivers. An informational sign indicating the availability of an assistive listening system and complying with 4.30.1, 4.30.2, 4.30.3, 4.30.5, and 4.30.7(4) shall be posted in a prominent place. Appendix Note 11.2.1(2)
- (1) Refreshment Areas. Refreshment areas, kitchenettes and fixed or built-in refreshment dispensers shall comply with the technical provisions of 9.2.2(7).
- (2) Drinking Fountains. Where provided in rooms covered under 11.2.2, there shall be a drinking fountain in each room complying with 4.15.
- (1) Holding Cells - Minimum Number. Where provided, facilities for detainees, including central holding cells and court-floor holding cells, shall comply with the following:
- (2) Requirements for Accessible Cells. Accessible cells shall be on an accessible route complying with 4.3. Where provided, the following elements or spaces serving accessible cells shall be accessible and on an accessible route:
- (a) Doors and Doorways. All doors and doorways to accessible spaces and on an accessible route shall comply with 4.13.
- EXCEPTION: Doors and doorways operated only by security personnel shall be exempt from 4.13.9, 4.13.10, 4.13.11 and 4.13.12.
- (3)* Visiting Areas. The following elements, where provided, shall be located on an accessible route complying with 4.3 and shall comply with the following provisions:
- (1) Raised Speakers' Platforms. Where raised speakers' platforms are provided, at least one of each type shall be accessible.
- (2) Spectator, Press, and Other Areas with Fixed Seats. Where spectator, press or other areas with fixed seats are provided, each type of seating area shall comply with 4.1.3(19)(a).
- 12.1* General. This section applies to jails, holding cells in police stations, prisons, juvenile detention centers, reformatories, and other institutional occupancies where occupants are under some degree of restraint or restriction for security reasons. Except as specified in this section, detention and correctional facilities shall comply with the applicable requirements of section 4. All common use areas serving accessible cells or rooms and all public use areas are required to be designed and constructed to comply with section 4. Appendix Note 12.1
- EXCEPTIONS: Requirements for areas of rescue assistance in 4.1.3(9), 4.3.10, and 4.3.11 do not apply. Compliance with requirements for elevators in 4.1.3(5) and stairs 4.1.3(4) is not required in multi-story housing facilities where accessible cells or rooms, all common use areas serving them, and all public use areas are on an accessible route. Compliance with 4.1.3(16) is not required in areas other than public use areas.
- 12.2.1* Entrances. Entrances used by the public, including those that are secured, shall be accessible as required by 4.1.3(8). Appendix Note 12.2.1
- EXCEPTION: Compliance with 4.13.9, 4.13.10, 4.13.11 and 4.13.12 is not required at entrances, doors, or doorways that are operated only by security personnel or where security requirements prohibit full compliance with these provisions.
- (1) Cubicles and Counters. Five percent, but not less than one, of fixed cubicles shall comply with 4.32 on both the visitor and detainee or inmate sides. Where counters are provided, a portion at least 36 in (915 mm) in length shall comply with 4.32 on both the visitor and detainee or inmate sides.
- EXCEPTION: At non-contact visiting areas not serving accessible cells or rooms, the requirements of 12.3(1) do not apply to the inmate or detainee side of cubicles or counters.
- (2) Partitions. Solid partitions or security glazing separating visitors from inmates or detainees shall comply with 7.2(3). Appendix Note 12.3
- 12.4.2* Special Holding and Housing Cells or Rooms. In addition to the requirements of 12.4.1, where special holding or housing cells or rooms are provided, at least one serving each purpose shall comply with 12.5. An accessible special holding or housing cell or room may serve more than one purpose. Cells or rooms subject to this requirement include, but are not limited to, those used for purposes of orientation, protective custody, administrative or disciplinary detention or segregation, detoxification, and medical isolation. Appendix Note 12.4.2
- EXCEPTION: Cells or rooms specially designed without protrusions and to be used solely for purposes of suicide prevention are exempt from the requirement for grab bars at water closets in 4.16.4.
- (1) Doors and Doorways. All doors and doorways on an accessible route shall comply with 4.13.
- EXCEPTION: Compliance with 4.13.9, 4.13.10, 4.13.11 and 4.13.12 is not required at entrances, doors, or doorways that are operated only by security personnel or where security requirements prohibit full compliance with these provisions.
- (2)* Toilet and Bathing Facilities. At least one toilet facility shall comply with 4.22 and one bathing facility shall comply with 4.23. Privacy screens shall not intrude on the clear floor space required for fixtures and the accessible route. Appendix Note 12.5.2(2)
- (3)* Beds. Beds shall have maneuvering space at least 36 in (915 mm) wide along one side. Where more than one bed is provided in a room or cell, the maneuvering space provided at adjacent beds may overlap. Appendix Note 12.5.2(3)
- (4) Drinking Fountains and Water Coolers. At least one drinking fountain shall comply with 4.15.
- (5) Fixed or Built-in Seating or Tables. Fixed or built-in seating, tables and counters shall comply with 4.32.
- (6) Fixed Benches. At least one fixed bench shall be mounted at 17 in to 19 in (430 mm to 485 mm) above the finish floor and provide back support (e.g., attachment to wall). The structural strength of the bench attachments shall comply with 4.26.3.
- (7) Storage. Fixed or built-in storage facilities, such as cabinets, shelves, closets, and drawers, shall contain storage space complying with 4.25.
- (8) Controls. All controls intended for operation by inmates shall comply with 4.27.
- (9) Accommodations for persons with hearing impairments required by 12.4.3 and complying with 12.6 shall be provided in accessible cells or rooms.
- Where audible emergency warning systems are provided to serve the occupants of holding or housing cells or rooms, visual alarms complying with 4.28.4 shall be provided. Where permanently installed telephones are provided within holding or housing cells or rooms, they shall have volume controls complying with 4.31.5.
- EXCEPTION: Visual alarms are not required where inmates or detainees are not allowed independent means of egress.
- 15.1 Amusement Rides
- 15.2 Boating Facilities
- 15.3 Fishing Piers and Platforms
- 15.4 Golf
- 15.5 Miniature Golf
- 15.6 Play Areas
- 15.7 Exercise Equipment and Machines, Bowling Lanes, and Shooting Facilities
- 15.8 Swimming Pools, Wading Pools, and Spas
- Transient Lodging
- The Department of Justice's policy and rules further define what is covered as transient lodging
4.1.4 (Reserved)
4.1.5 Accessible Buildings: Additions
Each addition to an existing building or facility shall be regarded as an alteration. Each space or element added to the existing building or facility shall comply with the applicable provisions of 4.1.1 to 4.1.3, Minimum Requirements (for New Construction) and the applicable technical specifications of section 4 and the special application sections. Each addition that affects or could affect the usability of an area containing a primary function shall comply with 4.1.6(2).
4.1.6 Accessible Buildings: Alterations
4.1.7 Accessible Buildings: Historic Preservation
4.2 Space Allowance and Reach Ranges
4.2.1* Wheelchair Passage Width
The minimum clear width for single wheelchair passage shall be 32 in (815 mm) at a point and 36 in (915 mm) continuously (see Fig. 1 and 24(e)). Appendix Note 4.2.1

4.2.2 Width for Wheelchair Passing
The minimum width for two wheelchairs to pass is 60 in (1525 mm) (see Fig. 2).
Figure 2
Minimum Clear Width for Two Wheelchairs
4.2.3* Wheelchair Turning Space
The space required for a wheelchair to make a 180-degree turn is a clear space of 60 in (1525 mm) diameter (see Fig. 3(a)) or a T-shaped space (see Fig. 3(b)). Appendix Note 4.2.3
Figure 3
Wheelchair Turning Space
4.2.4* Clear Floor or Ground Space for Wheelchairs
4.2.4.1 Size and Approach. The minimum clear floor or ground space required to accommodate a single, stationary wheelchair and occupant is 30 in by 48 in (760 mm by 1220 mm) (see Fig. 4(a)). The minimum clear floor or ground space for wheelchairs may be positioned for forward or parallel approach to an object (see Fig. 4(b) and (c)). Clear floor or ground space for wheelchairs may be part of the knee space required under some objects.
4.2.4.2 Relationship of Maneuvering Clearance to Wheelchair Spaces. One full unobstructed side of the clear floor or ground space for a wheelchair shall adjoin or overlap an accessible route or adjoin another wheelchair clear floor space. If a clear floor space is located in an alcove or otherwise confined on all or part of three sides, additional maneuvering clearances shall be provided as shown in Fig. 4(d) and (e).
4.2.4.3 Surfaces for Wheelchair Spaces. Clear floor or ground spaces for wheelchairs shall comply with 4.5. Appendix Note 4.2.4
Figure 4
Minimum Clear Floor Space for Wheelchairs
4.2.5* Forward Reach. If the clear floor space only allows forward approach to an object, the maximum high forward reach allowed shall be 48 in (1220 mm) (see Fig. 5(a)). The minimum low forward reach is 15 in (380 mm). If the high forward reach is over an obstruction, reach and clearances shall be as shown in Fig. 5(b). Appendix Note 4.2.5
Figure 5
Forward Reach
4.2.6* Side Reach
If the clear floor space allows parallel approach by a person in a wheelchair, the maximum high side reach allowed shall be 54 in (1370 mm) and the low side reach shall be no less than 9 in (230 mm) above the floor (Fig. 6(a) and (b)). If the side reach is over an obstruction, the reach and clearances shall be as shown in Fig 6(c). Appendix Note 4.2.5
Figure 6
Side Reach
4.3 Accessible Route
4.3.1* General
All walks, halls, corridors, aisles, skywalks, tunnels, and other spaces that are part of an accessible route shall comply with 4.3. Appendix Note 4.3.1
4.3.2 Location
4.3.3 Width
The minimum clear width of an accessible route shall be 36 in (915 mm) except at doors (see 4.13.5 and 4.13.6). If a person in a wheelchair must make a turn around an obstruction, the minimum clear width of the accessible route shall be as shown in Fig. 7(a) and (b).
Figure 7(a)
Accessible Route
90 Degree Turn
Figure 7(b)
Accessible Route
Turns around an Obstruction
Figure 7(c)
Accessible Route
Changes in level
Figure 7(d)
Accessible Route
Changes in level
4.3.4 Passing Space
If an accessible route has less than 60 in (1525 mm) clear width, then passing spaces at least 60 in by 60 in (1525 mm by 1525 mm) shall be located at reasonable intervals not to exceed 200 ft (61 m). A T-intersection of two corridors or walks is an acceptable passing place.
4.3.5 Head Room
Accessible routes shall comply with 4.4.2.
4.3.6 Surface Textures
The surface of an accessible route shall comply with 4.5.
4.3.7 Slope
An accessible route with a running slope greater than 1:20 is a ramp and shall comply with 4.8. Nowhere shall the cross slope of an accessible route exceed 1:50.
4.3.8 Changes in Levels
Changes in levels along an accessible route shall comply with 4.5.2. If an accessible route has changes in level greater than 1/2 in (13 mm), then a curb ramp, ramp, elevator, or platform lift (as permitted in 4.1.3 and 4.1.6) shall be provided that complies with 4.7, 4.8, 4.10, or 4.11, respectively. An accessible route does not include stairs, steps, or escalators. See definition of "egress, means of" in 3.5.
4.3.9 Doors
Doors along an accessible route shall comply with 4.13.
4.3.10* Egress. Accessible routes serving any accessible space or element shall also serve as a means of egress for emergencies or connect to an accessible area of rescue assistance. Appendix Note 4.3.10
4.3.11 Areas of Rescue Assistance.
4.3.11.1 Location and Construction. An area of rescue assistance shall be one of the following:
(1) A portion of a stairway landing within a smokeproof enclosure (complying with local requirements).
(2) A portion of an exterior exit balcony located immediately adjacent to an exit stairway when the balcony complies with local requirements for exterior exit balconies. Openings to the interior of the building located within 20 feet (6 m) of the area of rescue assistance shall be protected with fire assemblies having a three- fourths hour fire protection rating.
(3) A portion of a one-hour fire-resistive corridor (complying with local requirements for fire-resistive construction and for openings) located immediately adjacent to an exit enclosure.
(4) A vestibule located immediately adjacent to an exit enclosure and constructed to the same fire-resistive standards as required for corridors and openings.
(5) A portion of a stairway landing within an exit enclosure which is vented to the exterior and is separated from the interior of the building with not less than one-hour fire-resistive doors.
(6) When approved by the appropriate local authority, an area or a room which is separated from other portions of the building by a smoke barrier. Smoke barriers shall have a fire-resistive rating of not less than one hour and shall completely enclose the area or room. Doors in the smoke barrier shall be tight-fitting smoke- and draft-control assemblies having a fire-protection rating of not less than 20 minutes and shall be self-closing or automatic closing. The area or room shall be provided with an exit directly to an exit enclosure. Where the room or area exits into an exit enclosure which is required to be of more than one-hour fire- resistive construction, the room or area shall have the same fire- resistive construction, including the same opening protection, as required for the adjacent exit enclosure.
(7) An elevator lobby when elevator shafts and adjacent lobbies are pressurized as required for smokeproof enclosures by local regulations and when complying with requirements herein for size, communication, and signage. Such pressurization system shall be activated by smoke detectors on each floor located in a manner approved by the appropriate local authority. Pressurization equipment and its duct work within the building shall be separated from other portions of the building by a minimum two-hour fire- resistive construction.
4.3.11.2 Size. Each area of rescue assistance shall provide at least two accessible areas each being not less than 30 inches by 48 inches (760 mm by 1220 mm). The area of rescue assistance shall not encroach on any required exit width. The total number of such 30-inch by 48-inch (760 mm by 1220 mm) areas per story shall be not less than one for every 200 persons of calculated occupant load served by the area of rescue assistance.EXCEPTION: The appropriate local authority may reduce the minimum number of 30-inch by 48-inch (760 mm by 1220 mm) areas to one for each area of rescue assistance on floors where the occupant load is less than 200.
4.3.11.3* Stairway Width. Each stairway adjacent to an area of rescue assistance shall have a minimum clear width of 48 inches between handrails. Appendix Note 4.3.11.3
4.3.11.4* Two-way Communication. A method of two-way communication, with both visible and audible signals, shall be provided between each area of rescue assistance and the primary entry. The fire department or appropriate local authority may approve a location other than the primary entry. Appendix Note 4.3.11.4
4.3.11.5 Identification. Each area of rescue assistance shall be identified by a sign which states "AREA OF RESCUE ASSISTANCE" and displays the international symbol of accessibility. The sign shall be illuminated when exit sign illumination is required. Signage shall also be installed at all inaccessible exits and where otherwise necessary to clearly indicate the direction to areas of rescue assistance. In each area of rescue assistance, instructions on the use of the area under emergency conditions shall be posted adjoining the two-way communication system.
4.4 Protruding Objects
4.4.1* General
Objects projecting from walls (for example, telephones) with their leading edges between 27 in and 80 in (685 mm and 2030 mm) above the finished floor shall protrude no more than 4 in (100 mm) into walks, halls, corridors, passageways, or aisles (see Fig. 8(a)). Objects mounted with their leading edges at or below 27 in (685 mm) above the finished floor may protrude any amount (see Fig. 8(a) and (b)). Free-standing objects mounted on posts or pylons may overhang 12 in (305 mm) maximum from 27 in to 80 in (685 mm to 2030 mm) above the ground or finished floor (see Fig. 8(c) and (d)). Protruding objects shall not reduce the clear width of an accessible route or maneuvering space (see Fig. 8(e)). Appendix Note 4.4.1
4.4.2 Head Room
Walks, halls, corridors, passageways, aisles, or other circulation spaces shall have 80 in (2030 mm) minimum clear head room (see Fig. 8(a)). If vertical clearance of an area adjoining an accessible route is reduced to less than 80 in (nominal dimension), a barrier to warn blind or visually-impaired persons shall be provided (see Fig. 8(c-1)).
Figure 8a
Protruding Objects
Walking Parallel to a Wall
Figure 8b
Protruding Objects
Walking Perpendicular to a Wall
Figure 8c
Protruding Objects
Free-Standing Overhanging Objects
Figure 8c-1
Protruding Objects
Overhead Hazards
Figure 8d
Protruding Objects
Objects Mounted on Posts or Pylons
Figure 8e
Protruding Objects
Example of Protection around Wall-Mounted Objects and Measurements of Clear Widths
4.5 Ground and Floor Surfaces
4.5.1* General
Ground and floor surfaces along accessible routes and in accessible rooms and spaces including floors, walks, ramps, stairs, and curb ramps, shall be stable, firm, slip-resistant, and shall comply with 4.5. Appendix Note 4.5.1
4.5.2 Changes in Level
Changes in level up to 1/4 in (6 mm) may be vertical and without edge treatment (see Fig. 7(c) ). Changes in level between 1/4 in and 1/2 in (6 mm and 13 mm) shall be beveled with a slope no greater than 1:2 (see Fig. 7(d) ). Changes in level greater than 1/2 in (13 mm) shall be accomplished by means of a ramp that complies with 4.7 or 4.8.
4.5.3* Carpet
If carpet or carpet tile is used on a ground or floor surface, then it shall be securely attached; have a firm cushion, pad, or backing, or no cushion or pad; and have a level loop, textured loop, level cut pile, or level cut/uncut pile texture. The maximum pile thickness shall be 1/2 in (13 mm) (see Fig. 8(f)). Exposed edges of carpet shall be fastened to floor surfaces and have trim along the entire length of the exposed edge. Carpet edge trim shall comply with 4.5.2. Appendix Note 4.5.3
Figure 8F
Carpet Pile Thickness
4.5.4 Gratings. If gratings are located in walking surfaces, then they shall have spaces no greater than 1/2 in (13 mm) wide in one direction (see Fig. 8(g)). If gratings have elongated openings, then they shall be placed so that the long dimension is perpendicular to the dominant direction of travel(see Fig. 8(h)).
Figure 8G
Gratings
Figure 8h
Gratings Orientation
4.6 Parking and Passenger Loading Zones
4.6.1 Minimum Number
Parking spaces required to be accessible by 4.1 shall comply with 4.6.2 through 4.6.5. Passenger loading zones required to be accessible by 4.1 shall comply with 4.6.5 and 4.6.6.
4.6.2 Location
Accessible parking spaces serving a particular building shall be located on the shortest accessible route of travel from adjacent parking to an accessible entrance. In parking facilities that do not serve a particular building, accessible parking shall be located on the shortest accessible route of travel to an accessible pedestrian entrance of the parking facility. In buildings with multiple accessible entrances with adjacent parking, accessible parking spaces shall be dispersed and located closest to the accessible entrances.
4.6.3* Parking Spaces
Accessible parking spaces shall be at least 96 in (2440 mm) wide. Parking access aisles shall be part of an accessible route to the building or facility entrance and shall comply with 4.3. Two accessible parking spaces may share a common access aisle (see Fig. 9). Parked vehicle overhangs shall not reduce the clear width of an accessible route. Parking spaces and access aisles shall be level with surface slopes not exceeding 1:50 (2%) in all directions. Appendix Note 4.6.3
Figure 9
Dimensions of Parking Spaces
4.6.4* Signage
Accessible parking spaces shall be designated as reserved by a sign showing the symbol of accessibility (see 4.30.7). Spaces complying with 4.1.2(5)(b) shall have an additional sign "Van-Accessible" mounted below the symbol of accessibility. Such signs shall be located so they cannot be obscured by a vehicle parked in the space. Appendix Note 4.6.4
4.6.5* Vertical Clearance
Provide minimum vertical clearance of 114 in (2895 mm) at accessible passenger loading zones and along at least one vehicle access route to such areas from site entrance(s) and exit(s). At parking spaces complying with 4.1.2(5)(b), provide minimum vertical clearance of 98 in (2490 mm) at the parking space and along at least one vehicle access route to such spaces from site entrance(s) and exit(s). Appendix Note 4.6.5
4.6.6 Passenger Loading Zones
Passenger loading zones shall provide an access aisle at least 60 in (1525 mm) wide and 20 ft (240 in)(6100 mm) long adjacent and parallel to the vehicle pull-up space (see Fig. 10). If there are curbs between the access aisle and the vehicle pull-up space, then a curb ramp complying with 4.7 shall be provided. Vehicle standing spaces and access aisles shall be level with surface slopes not exceeding 1:50 (2%) in all directions.
Figure 10
Access Aisle at Passenger Loading Zones
4.7 Curb Ramps
4.7.1 Location
Curb ramps complying with 4.7 shall be provided wherever an accessible route crosses a curb.
4.7.2 Slope
Slopes of curb ramps shall comply with 4.8.2. The slope shall be measured as shown in Fig. 11. Transitions from ramps to walks, gutters, or streets shall be flush and free of abrupt changes. Maximum slopes of adjoining gutters, road surface immediately adjacent to the curb ramp, or accessible route shall not exceed 1:20.
Figure 11
Measurement of Curb Ramp Slopes
4.7.3 Width
The minimum width of a curb ramp shall be 36 in (915 mm), exclusive of flared sides.
4.7.4 Surface
Surfaces of curb ramps shall comply with 4.5.
4.7.5 Sides of Curb Ramps
If a curb ramp is located where pedestrians must walk across the ramp, or where it is not protected by handrails or guardrails, it shall have flared sides; the maximum slope of the flare shall be 1:10 (see Fig. 12(a)). Curb ramps with returned curbs may be used where pedestrians would not normally walk across the ramp (see Fig. 12(b)).
Figure 12(a)
Sides of Curb Ramps
Flared Sides
Figure 12(b)
Sides of Curb Ramps
Returned Curb
4.7.6 Built-up Curb Ramps
Built-up curb ramps shall be located so that they do not project into vehicular traffic lanes (see Fig. 13).
Figure 13
Built-Up Curb Ramp
4.7.7 Detectable Warnings
A curb ramp shall have a detectable warning complying with 4.29.2. The detectable warning shall extend the full width and depth of the curb ramp.
4.7.8 Obstructions
Curb ramps shall be located or protected to prevent their obstruction by parked vehicles.
4.7.9 Location at Marked Crossings
Curb ramps at marked crossings shall be wholly contained within the markings, excluding any flared sides (see Fig. 15).
Figure 15a
Curb Ramp at Marked Crossings
Figure 15b
Curb Ramp at Marked Crossings
Figure 15c
Curb Ramp at Marked Crossings
Figure 15d
Curb Ramp at Marked Crossings
4.7.10 Diagonal Curb Ramps. If diagonal (or corner type) curb ramps have returned curbs or other well-defined edges, such edges shall be parallel to the direction of pedestrian flow. The bottom of diagonal curb ramps shall have 48 in (1220 mm) minimum clear space as shown in Fig. 15(c) and (d). If diagonal curb ramps are provided at marked crossings, the 48 in (1220 mm) clear space shall be within the markings (see Fig. 15(c) and (d)). If diagonal curb ramps have flared sides, they shall also have at least a 24 in (610 mm) long segment of straight curb located on each side of the curb ramp and within the marked crossing (see Fig. 15(c)).
4.7.11 Islands. Any raised islands in crossings shall be cut through level with the street or have curb ramps at both sides and a level area at least 48 in (1220 mm) long between the curb ramps in the part of the island intersected by the crossings (see Fig. 15(a) and (b)).
4.8 Ramps
4.8.1* General
Any part of an accessible route with a slope greater than 1:20 shall be considered a ramp and shall comply with 4.8. Appendix Note 4.8.1
4.8.2* Slope and Rise
The least possible slope shall be used for any ramp. The maximum slope of a ramp in new construction shall be 1:12. The maximum rise for any run shall be 30 in (760 mm) (see Fig. 16). Curb ramps and ramps to be constructed on existing sites or in existing buildings or facilities may have slopes and rises as allowed in 4.1.6(3)(a) if space limitations prohibit the use of a 1:12 slope or less. Appendix Note 4.8.2
Figure 16
Components of a Single Ramp Run and Sample Ramp Dimensions
4.8.3 Clear Width
The minimum clear width of a ramp shall be 36 in (915 mm).
4.8.4* Landings
Ramps shall have level landings at bottom and top of each ramp and each ramp run. Landings shall have the following features:
(1) The landing shall be at least as wide as the ramp run leading to it.
(2) The landing length shall be a minimum of 60 in (1525 mm) clear.
(4) If a doorway is located at a landing, then the area in front of the doorway shall comply with 4.13.6. Appendix Note 4.8.4
4.8.5* Handrails
If a ramp run has a rise greater than 6 in (150 mm) or a horizontal projection greater than 72 in (1830 mm), then it shall have handrails on both sides. Handrails are not required on curb ramps or adjacent to seating in assembly areas. Handrails shall comply with 4.26 and shall have the following features:
(1) Handrails shall be provided along both sides of ramp segments. The inside handrail on switchback or dogleg ramps shall always be continuous.
(2) If handrails are not continuous, they shall extend at least 12 in (305 mm) beyond the top and bottom of the ramp segment and shall be parallel with the floor or ground surface (see Fig. 17).
Figure 17
Examples of Edge Protection and Handrail Extensions
(3) The clear space between the handrail and the wall shall be 1 - 1/2 in (38 mm).
(4) Gripping surfaces shall be continuous.
(5) Top of handrail gripping surfaces shall be mounted between 34 in and 38 in (865 mm and 965 mm) above ramp surfaces.
(6) Ends of handrails shall be either rounded or returned smoothly to floor, wall, or post.
(7) Handrails shall not rotate within their fittings. Appendix Note 4.8.5
4.8.6 Cross Slope and Surfaces
The cross slope of ramp surfaces shall be no greater than 1:50. Ramp surfaces shall comply with 4.5.
4.8.7 Edge Protection
Ramps and landings with drop-offs shall have curbs, walls, railings, or projecting surfaces that prevent people from slipping off the ramp. Curbs shall be a minimum of 2 in (50 mm) high (see Fig. 17).
4.8.8 Outdoor Conditions
Outdoor ramps and their approaches shall be designed so that water will not accumulate on walking surfaces.
4.9 Stairs
4.9.1* Minimum Number
Stairs required to be accessible by 4.1 shall comply with 4.9. Appendix Note 4.9.1
4.9.2 Treads and Risers
On any given flight of stairs, all steps shall have uniform riser heights and uniform tread widths. Stair treads shall be no less than 11 in (280 mm) wide, measured from riser to riser (see Fig. 18(a)). Open risers are not permitted.
Figure 18
Usable Tread Width and Examples of Acceptable Nosings
Figure 18a
Usable Tread Width and Examples of Acceptable Nosings - Flush Riser
4.9.3 Nosings
The undersides of nosings shall not be abrupt. The radius of curvature at the leading edge of the tread shall be no greater than 1/2 in (13 mm). Risers shall be sloped or the underside of the nosing shall have an angle not less than 60 degrees from the horizontal. Nosings shall project no more than 1-1/2 in (38 mm) (see Fig. 18).
4.9.4* Handrails
Stairways shall have handrails at both sides of all stairs. Handrails shall comply with 4.26 and shall have the following features:
(1) Handrails shall be continuous along both sides of stairs. The inside handrail on switchback or dogleg stairs shall always be continuous (see Fig. 19(a) and (b)).
Figure 19a
Stair Handrails - Plan
NOTE:
X is the 12 in minimum handrail extension required at each top riser.
Y is the minimum handrail extension of 12 in plus the width of one tread that is required at each bottom riser.
Figure 19b
Stair Handrails - Elevation of Center Handrail
NOTE:
X is the 12 in minimum handrail extension required at each top riser.
Y is the minimum handrail extension of 12 in plus the width of one tread that is required at each bottom riser.
Figure 19c
Stair Handrails - Extension at Bottom of Run
NOTE:
X is the 12 in minimum handrail extension required at each top riser.
Y is the minimum handrail extension of 12 in plus the width of one tread that is required at each bottom riser.
Figure 19d
Stair Handrails - Extension at Top of Run
NOTE:
X is the 12 in minimum handrail extension required at each top riser.
Y is the minimum handrail extension of 12 in plus the width of one tread that is required at each bottom riser.
(2) If handrails are not continuous, they shall extend at least 12 in (305 mm) beyond the top riser and at least 12 in (305 mm) plus the width of one tread beyond the bottom riser. At the top, the extension shall be parallel with the floor or ground surface. At the bottom, the handrail shall continue to slope for a distance of the width of one tread from the bottom riser; the remainder of the extension shall be horizontal (see Fig. 19(c) and (d)). Handrail extensions shall comply with 4.4.
(3) The clear space between handrails and wall shall be 1-1/2 in (38 mm).
(4) Gripping surfaces shall be uninterrupted by newel posts, other construction elements, or obstructions.
(5) Top of handrail gripping surface shall be mounted between 34 in and 38 in (865 mm and 965 mm) above stair nosings.
(6) Ends of handrails shall be either rounded or returned smoothly to floor, wall or post.
(7) Handrails shall not rotate within their fittings. Appendix Note 4.9.5
4.9.5 Detectable Warnings at Stairs. (Reserved).
4.9.6 Outdoor Conditions
Outdoor stairs and their approaches shall be designed so that water will not accumulate on walking surfaces.
4.10.1 General. Accessible elevators shall be on an accessible route and shall comply with 4.10 and with the ASME A17.1-1990, Safety Code for Elevators and Escalators. Freight elevators shall not be considered as meeting the requirements of this section unless the only elevators provided are used as combination passenger and freight elevators for the public and employees.
4.10.2 Automatic Operation. Elevator operation shall be automatic. Each car shall be equipped with a self-leveling feature that will automatically bring the car to floor landings within a tolerance of 1/2 in (13 mm) under rated loading to zero loading conditions. This self-leveling feature shall be automatic and independent of the operating device and shall correct the overtravel or undertravel.
4.10.3 Hall Call Buttons. Call buttons in elevator lobbies and halls shall be centered at 42 in (1065 mm) above the floor. Such call buttons shall have visual signals to indicate when each call is registered and when each call is answered. Call buttons shall be a minimum of 3/4 in (19 mm) in the smallest dimension. The button designating the up direction shall be on top. (See Fig. 20.) Buttons shall be raised or flush. Objects mounted beneath hall call buttons shall not project into the elevator lobby more than 4 in (100 mm).
Figure 20
Hoistway and Elevator Entrances
NOTE:
The automatic door reopening device is activated if an object passes through either line A or line B. Line A and line B represent the vertical locations of the door reopening device not requiring contact.
4.10.4 Hall Lanterns. A visible and audible signal shall be provided at each hoistway entrance to indicate which car is answering a call. Audible signals shall sound once for the up direction and twice for the down direction or shall have verbal annunciators that say "up" or "down." Visible signals shall have the following features:
(1) Hall lantern fixtures shall be mounted so that their centerline is at least 72 in (1830 mm) above the lobby floor. (See Fig. 20.)
(2) Visual elements shall be at least 2-1/2 in (64 mm) in the smallest dimension.
(3) Signals shall be visible from the vicinity of the hall call button (see Fig. 20). In-car lanterns located in cars, visible from the vicinity of hall call buttons, and conforming to the above requirements, shall be acceptable.
4.10.5 Raised and Braille Characters on Hoistway Entrances. All elevator hoistway entrances shall have raised and Braille floor designations provided on both jambs. The centerline of the characters shall be 60 in (1525 mm) above finish floor. Such characters shall be 2 in (50 mm) high and shall comply with 4.30.4. Permanently applied plates are acceptable if they are permanently fixed to the jambs. (See Fig. 20).
4.10.6* Door Protective and Reopening Device. Elevator doors shall open and close automatically. They shall be provided with a reopening device that will stop and reopen a car door and hoistway door automatically if the door becomes obstructed by an object or person. The device shall be capable of completing these operations without requiring contact for an obstruction passing through the opening at heights of 5 in and 29 in (125 mm and 735 mm) above finish floor (see Fig. 20). Door reopening devices shall remain effective for at least 20 seconds. After such an interval, doors may close in accordance with the requirements of ASME A17.1-1990. Appendix Note 4.10.6
4.10.7* Door and Signal Timing for Hall Calls. The minimum acceptable time from notification that a car is answering a call until the doors of that car start to close shall be calculated from the following equation:
T = D/(1.5 ft/s) or T = D/(445 mm/s)
where T total time in seconds and D distance (in feet or millimeters) from a point in the lobby or corridor 60 in (1525 mm) directly in front of the farthest call button controlling that car to the centerline of its hoistway door (see Fig. 21). For cars with in-car lanterns, T begins when the lantern is visible from the vicinity of hall call buttons and an audible signal is sounded. The minimum acceptable notification time shall be 5 seconds. Appendix Note 4.10.7
Figure 21
Graph of Timing Equation
4.10.8 Door Delay for Car Calls. The minimum time for elevator doors to remain fully open in response to a car call shall be 3 seconds.
4.10.9 Floor Plan of Elevator Cars. The floor area of elevator cars shall provide space for wheelchair users to enter the car, maneuver within reach of controls, and exit from the car. Acceptable door opening and inside dimensions shall be as shown in Fig. 22. The clearance between the car platform sill and the edge of any hoistway landing shall be no greater than 1-1/4 in (32 mm).
Figure 22
Minimum Dimensions of Elevator Cars
4.10.10 Floor Surfaces. Floor surfaces shall comply with 4.5.
4.10.11 Illumination Levels. The level of illumination at the car controls, platform, and car threshold and landing sill shall be at least 5 footcandles (53.8 lux).
4.10.12* Car Controls. Elevator control panels shall have the following features:
(1) Buttons. All control buttons shall be at least 3/4 in (19 mm) in their smallest dimension. They shall be raised or flush.
(2) Tactile, Braille, and Visual Control Indicators. All control buttons shall be designated by Braille and by raised standard alphabet characters for letters, arabic characters for numerals, or standard symbols as shown in Fig. 23(a), and as required in ASME A17.1-1990. Raised and Braille characters and symbols shall comply with 4.30. The call button for the main entry floor shall be designated by a raised star at the left of the floor designation (see Fig. 23(a)). All raised designations for control buttons shall be placed immediately to the left of the button to which they apply. Applied plates, permanently attached, are an acceptable means to provide raised control designations. Floor buttons shall be provided with visual indicators to show when each call is registered. The visual indicators shall be extinguished when each call is answered.
(3) Height. All floor buttons shall be no higher than 54 in (1370 mm) above the finish floor for side approach and 48 in (1220 mm) for front approach. Emergency controls, including the emergency alarm and emergency stop, shall be grouped at the bottom of the panel and shall have their centerlines no less than 35 in (890 mm) above the finish floor (see Fig. 23(a) and (b)).
(4) Location. Controls shall be located on a front wall if cars have center opening doors, and at the side wall or at the front wall next to the door if cars have side opening doors (see Fig. 23(c) and (d)). Appendix Note 4.10.12
Figure 23a
Car Controls
Panel Detail
Figure 23b
Car Controls
Car Control Height
Figure 23c
Car Controls
Alternate Locations of Panel with Center Opening Door
Figure 23d
Car Controls
Alternate Locations of Panel with Side Opening Door
4.10.13* Car Position Indicators. In elevator cars, a visual car position indicator shall be provided above the car control panel or over the door to show the position of the elevator in the hoistway. As the car passes or stops at a floor served by the elevators, the corresponding numerals shall illuminate, and an audible signal shall sound. Numerals shall be a minimum of 1/2 in (13 mm) high. The audible signal shall be no less than 20 decibels with a frequency no higher than 1500 Hz. An automatic verbal announcement of the floor number at which a car stops or which a car passes may be substituted for the audible signal. Appendix Note 4.10.13
4.10.14* Emergency Communications. If provided, emergency two-way communication systems between the elevator and a point outside the hoistway shall comply with ASME A17.1-1990. The highest operable part of a two-way communication system shall be a maximum of 48 in (1220 mm) from the floor of the car. It shall be identified by a raised symbol and lettering complying with 4.30 and located adjacent to the device. If the system uses a handset then the length of the cord from the panel to the handset shall be at least 29 in (735 mm). If the system is located in a closed compartment the compartment door hardware shall conform to 4.27, Controls and Operating Mechanisms. The emergency intercommunication system shall not require voice communication. Appendix Note 4.10.14
4.11 Platform Lifts (Wheelchair Lifts).
4.11.1 Location. Platform lifts (wheelchair lifts) permitted by 4.1 shall comply with the requirements of 4.11.
4.11.2* Other Requirements. If platform lifts (wheelchair lifts) are used, they shall comply with 4.2.4, 4.5, 4.27, and ASME A17.1 Safety Code for Elevators and Escalators, Section XX, 1990. Appendix Note 4.11.2
4.11.3 Entrance. If platform lifts are used then they shall facilitate unassisted entry, operation, and exit from the lift in compliance with 4.11.2.
4.12.1* General. (Reserved). Appendix Note 4.12.1
4.12.2* Window Hardware. (Reserved). Appendix Note 4.12.2
4.13.1 General. Doors required to be accessible by 4.1 shall comply with the requirements of 4.13.
4.13.2 Revolving Doors and Turnstiles. Revolving doors or turnstiles shall not be the only means of passage at an accessible entrance or along an accessible route. An accessible gate or door shall be provided adjacent to the turnstile or revolving door and shall be so designed as to facilitate the same use pattern.
4.13.3 Gates. Gates, including ticket gates, shall meet all applicable specifications of 4.13.
4.13.4 Double-Leaf Doorways. If doorways have two independently operated door leaves, then at least one leaf shall meet the specifications in 4.13.5 and 4.13.6. That leaf shall be an active leaf.
4.13.5 Clear Width. Doorways shall have a minimum clear opening of 32 in (815 mm) with the door open 90 degrees, measured between the face of the door and the opposite stop (see Fig. 24(a), (b), (c), and (d)). Openings more than 24 in (610 mm) in depth shall comply with 4.2.1 and 4.3.3 (see Fig. 24(e)).
EXCEPTION: Doors not requiring full user passage, such as shallow closets, may have the clear opening reduced to 20 in (510 mm) minimum.
Figure 24a
Clear Doorway Width and Depth Detail
Figure 24b
Clear Doorway Width and Depth
Hinged Door
Figure 24c
Clear Doorway Width and Depth
Sliding Door
Figure 24d
Clear Doorway Width and Depth
Folding Door
Figure 24e
Clear Doorway Width and Depth
Maximum Doorway Depth
4.13.6 Maneuvering Clearances at Doors. Minimum maneuvering clearances at doors that are not automatic or power-assisted shall be as shown in Fig. 25. The floor or ground area within the required clearances shall be level and clear.
EXCEPTION: Entry doors to acute care hospital bedrooms for in-patients shall be exempted from the requirement for space at the latch side of the door (see dimension "x" in Fig. 25) if the door is at least 44 in (1120 mm) wide.Figure 25
Maneuvering Clearances at Doors
4.13.7 Two Doors in Series. The minimum space between two hinged or pivoted doors in series shall be 48 in (1220 mm) plus the width of any door swinging into the space. Doors in series shall swing either in the same direction or away from the space between the doors (see Fig. 26).
Figure 26
Two Hinged Doors in Series
4.13.8* Thresholds at Doorways. Thresholds at doorways shall not exceed 3/4 in (19 mm) in height for exterior sliding doors or 1/2 in (13 mm) for other types of doors. Raised thresholds and floor level changes at accessible doorways shall be beveled with a slope no greater than 1:2 (see 4.5.2). Appendix Note 4.13.8
4.13.9* Door Hardware. Handles, pulls, latches, locks, and other operating devices on accessible doors shall have a shape that is easy to grasp with one hand and does not require tight grasping, tight pinching, or twisting of the wrist to operate. Lever-operated mechanisms, push-type mechanisms, and U-shaped handles are acceptable designs. When sliding doors are fully open, operating hardware shall be exposed and usable from both sides. Hardware required for accessible door passage shall be mounted no higher than 48 in (1220 mm) above finished floor. Appendix Note 4.13.9
4.13.10* Door Closers. If a door has a closer, then the sweep period of the closer shall be adjusted so that from an open position of 70 degrees, the door will take at least 3 seconds to move to a point 3 in (75 mm) from the latch, measured to the leading edge of the door. Appendix Note 4.13.10
4.13.11* Door Opening Force. The maximum force for pushing or pulling open a door shall be as follows:
(1) Fire doors shall have the minimum opening force allowable by the appropriate administrative authority.
(2) Other doors.
(a) exterior hinged doors: (Reserved).
(b) interior hinged doors: 5 lbf (22.2N)
(c) sliding or folding doors: 5 lbf (22.2N)
These forces do not apply to the force required to retract latch bolts or disengage other devices that may hold the door in a closed position. Appendix Note 4.13.11
4.13.12* Automatic Doors and Power-Assisted Doors. If an automatic door is used, then it shall comply with ANSI/BHMA A156.10-1985. Slowly opening, low-powered, automatic doors shall comply with ANSI A156.19-1984. Such doors shall not open to back check faster than 3 seconds and shall require no more than 15 lbf (66.6N) to stop door movement. If a power-assisted door is used, its door-opening force shall comply with 4.13.11 and its closing shall conform to the requirements in ANSI A156.19-1984. Appendix Note 4.13.12
4.14.1 Minimum Number. Entrances required to be accessible by 4.1 shall be part of an accessible route complying with 4.3. Such entrances shall be connected by an accessible route to public transportation stops, to accessible parking and passenger loading zones, and to public streets or sidewalks if available (see 4.3.2(1)). They shall also be connected by an accessible route to all accessible spaces or elements within the building or facility.
4.14.2 Service Entrances. A service entrance shall not be the sole accessible entrance unless it is the only entrance to a building or facility (for example, in a factory or garage).
4.15 Drinking Fountains and Water Coolers.
4.15.1Minimum Number. Drinking fountains or water coolers required to be accessible by 4.1 shall comply with 4.15.
4.15.2* Spout Height. Spouts shall be no higher than 36 in (915 mm), measured from the floor or ground surfaces to the spout outlet (see Fig. 27(a)). Appendix Note 4.15.2
4.15.3 Spout Location. The spouts of drinking fountains and water coolers shall be at the front of the unit and shall direct the water flow in a trajectory that is parallel or nearly parallel to the front of the unit. The spout shall provide a flow of water at least 4 in (100 mm) high so as to allow the insertion of a cup or glass under the flow of water. On an accessible drinking fountain with a round or oval bowl, the spout must be positioned so the flow of water is within 3 in (75 mm) of the front edge of the fountain.
4.15.4 Controls. Controls shall comply with 4.27.4. Unit controls shall be front mounted or side mounted near the front edge.
(2) Free-standing or built-in units not having a clear space under them shall have a clear floor space at least 30 in by 48 in (760 mm by 1220 mm) that allows a person in a wheelchair to make a parallel approach to the unit (see Fig. 27(c) and (d)). This clear floor space shall comply with 4.2.4.
Figure 27a
Drinking Fountains and Water Coolers - Spout Height and Knee Clearance
Figure 27b
Drinking Fountains and Water Coolers - Clear Floor Space
Figure 27c
Drinking Fountains and Water Coolers - Free-Standing Fountain or Cooler
Figure 27d
Drinking Fountains and Water Coolers - Built-In Fountain or Cooler
4.16.1 General. Accessible water closets shall comply with 4.16.2 through 4.16.6.
EXCEPTION: Water closets used primarily by children ages 12 and younger shall be permitted to comply with 4.16.7.4.16.2 Clear Floor Space. Clear floor space for water closets not in stalls shall comply with Fig. 28. Clear floor space may be arranged to allow either a left-handed or right-handed approach.
Figure 28
Clear Floor Space at Water Closets
4.16.3* Height. The height of water closets shall be 17 in to 19 in (430 mm to 485 mm), measured to the top of the toilet seat (see Fig. 29(b)). Seats shall not be sprung to return to a lifted position. Appendix Note 4.16.3
4.16.4* Grab Bars. Grab bars for water closets not located in stalls shall comply with 4.26 and Fig. 29. The grab bar behind the water closet shall be 36 in (915 mm) minimum. Appendix Note 4.16.4
Figure 29
Grab Bars at Water Closets
Figure 29b
Grab Bars at Water Closets
Side Wall
4.16.5* Flush Controls. Flush controls shall be hand operated or automatic and shall comply with 4.27.4. Controls for flush valves shall be mounted on the wide side of toilet areas no more than 44 in (1120 mm) above the floor. Appendix Note 4.16.5
4.16.6 Dispensers. Toilet paper dispensers shall be installed within reach, as shown in Fig. 29(b). Dispensers that control delivery, or that do not permit continuous paper flow, shall not be used.
4.16.7* Water Closets for Children. Water closets used primarily by children ages 12 and younger shall comply with 4.16.7 as permitted by 4.16.1. Appendix Note 4.16.7
4.17.2 Water Closets. Water closets in accessible stalls shall comply with 4.16.
4.17.4 Toe Clearances. In standard stalls, the front partition and at least one side partition shall provide a toe clearance of at least 9 in (230 mm) above the floor. If the depth of the stall is greater than 60 in (1525 mm), then the toe clearance is not required.
4.17.5* Doors. Toilet stall doors, including door hardware, shall comply with 4.13. If toilet stall approach is from the latch side of the stall door, clearance between the door side of the stall and any obstruction may be reduced to a minimum of 42 in (1065 mm) (Fig. 30). Appendix Note 4.17.5
4.17.6 Grab Bars. Grab bars complying with the length and positioning shown in Fig. 30(a), (b), (c), and (d) shall be provided. Grab bars may be mounted with any desired method as long as they have a gripping surface at the locations shown and do not obstruct the required clear floor area. Grab bars shall comply with 4.26.
Figure 30a
Toilet Stalls
Standard Stall
Figure 30a1
Toilet Stalls
Standard Stall (end of row)
Figure 30b
Toilet Stalls
Alternate Stalls
Figure 30c
Toilet Stalls
Rear Wall of Standard Stall
Figure 30d
Toilet Stalls
4.17.7* Toilet Stalls for Children. Toilet stalls used primarily by children ages 12 and younger shall comply with 4.17.7 as permitted by 4.17.1. Appendix Note 4.17.7
4.18.1 General. Accessible urinals shall comply with 4.18.
4.18.2 Height. Urinals shall be stall-type or wall-hung with an elongated rim at a maximum of 17 in (430 mm) above the finish floor.
4.18.3 Clear Floor Space. A clear floor space 30 in by 48 in (760 mm by 1220 mm) shall be provided in front of urinals to allow forward approach. This clear space shall adjoin or overlap an accessible route and shall comply with 4.2.4. Urinal shields that do not extend beyond the front edge of the urinal rim may be provided with 29 in (735 mm) clearance between them.
4.18.4 Flush Controls. Flush controls shall be hand operated or automatic, and shall comply with 4.27.4, and shall be mounted no more than 44 in (1120 mm) above the finish floor.
4.19.1 General.The requirements of 4.19 shall apply to lavatory fixtures, vanities, and built-in lavatories.
4.19.3 Clear Floor Space. A clear floor space 30 in by 48 in (760 mm by 1220 mm) complying with 4.2.4 shall be provided in front of a lavatory to allow forward approach. Such clear floor space shall adjoin or overlap an accessible route and shall extend a maximum of 19 in (485 mm) underneath the lavatory (see Fig. 32).
4.19.4 Exposed Pipes and Surfaces. Hot water and drain pipes under lavatories shall be insulated or otherwise configured to protect against contact. There shall be no sharp or abrasive surfaces under lavatories.
4.19.5 Faucets. Faucets shall comply with 4.27.4. Lever-operated, push-type, and electronically controlled mechanisms are examples of acceptable designs. If self-closing valves are used the faucet shall remain open for at least 10 seconds.
4.19.6* Mirrors. Mirrors shall be mounted with the bottom edge of the reflecting surface no higher than 40 in (1015 mm) above the finish floor (see Fig. 31). Appendix Note 4.19.6
4.20.1 General. Accessible bathtubs shall comply with 4.20.
4.20.2 Floor Space. Clear floor space in front of bathtubs shall be as shown in Fig. 33.
4.20.3 Seat. An in-tub seat or a seat at the head end of the tub shall be provided as shown in Fig. 33 and 34. The structural strength of seats and their attachments shall comply with 4.26.3. Seats shall be mounted securely and shall not slip during use.
Figure 33
Clear Floor Space at Bathtubs
Figure 34
Grab Bars at Bathtubs
4.20.4 Grab Bars. Grab bars complying with 4.26 shall be provided as shown in Fig. 33 and 34.
4.20.5 Controls. Faucets and other controls complying with 4.27.4 shall be located as shown in Fig. 34.
4.20.6 Shower Unit. A shower spray unit with a hose at least 60 in (1525 mm) long that can be used both as a fixed shower head and as a hand-held shower shall be provided.
4.20.7 Bathtub Enclosures. If provided, enclosures for bathtubs shall not obstruct controls or transfer from wheelchairs onto bathtub seats or into tubs. Enclosures on bathtubs shall not have tracks mounted on their rims.
4.21.1* General. Accessible shower stalls shall comply with 4.21. Appendix Note 4.21.1
4.21.2 Size and Clearances. Except as specified in 9.1.2, shower stall size and clear floor space shall comply with Fig. 35(a) or (b). The shower stall in Fig. 35(a) shall be 36 in by 36 in (915 mm by 915 mm). Shower stalls required by 9.1.2 shall comply with Fig. 57(a) or (b). The shower stall in Fig. 35(b) will fit into the space required for a bathtub.
Figure 35a
Shower Size and Clearances
36-in by 36-in (760mm by 1525mm) Stall
Figure 35b
Shower Size and Clearances
30-in by 60-in (915mm by 915mm) Stall
Figure 36
Shower Seat Design
4.21.3 Seat. A seat shall be provided in shower stalls 36 in by 36 in (915 mm by 915 mm) and shall be as shown in Fig. 36. The seat shall be mounted 17 in to 19 in (430 mm to 485 mm) from the bathroom floor and shall extend the full depth of the stall. In a 36 in by 36 in (915 mm by 915 mm) shower stall, the seat shall be on the wall opposite the controls. Where a fixed seat is provided in a 30 in by 60 in minimum (760 mm by 1525 mm) shower stall, it shall be a folding type and shall be mounted on the wall adjacent to the controls as shown in Fig. 57. The structural strength of seats and their attachments shall comply with 4.26.3.
4.21.4 Grab Bars. Grab bars complying with 4.26 shall be provided as shown in Fig. 37.
Figure 37
Grab Bars at Shower Stalls
4.21.5 Controls. Faucets and other controls complying with 4.27.4 shall be located as shown in Fig. 37. In shower stalls 36 in by 36 in (915 mm by 915 mm), all controls, faucets, and the shower unit shall be mounted on the side wall opposite the seat.
4.21.7 Curbs. If provided, curbs in shower stalls 36 in by 36 in (915 mm by 915 mm) shall be no higher than 1/2 in (13 mm). Shower stalls that are 30 in by 60 in (760 mm by 1525 mm) minimum shall not have curbs.
4.21.8 Shower Enclosures. If provided, enclosures for shower stalls shall not obstruct controls or obstruct transfer from wheelchairs onto shower seats.
4.22.1 Minimum Number. Toilet facilities required to be accessible by 4.1 shall comply with 4.22. Accessible toilet rooms shall be on an accessible route.
4.22.2 Doors. All doors to accessible toilet rooms shall comply with 4.13. Doors shall not swing into the clear floor space required for any fixture.
4.22.3* Clear Floor Space. The accessible fixtures and controls required in 4.22.4, 4.22.5, 4.22.6, and 4.22.7 shall be on an accessible route. An unobstructed turning space complying with 4.2.3 shall be provided within an accessible toilet room. The clear floor space at fixtures and controls, the accessible route, and the turning space may overlap. Appendix Note 4.22.3
4.22.4 Water Closets. If toilet stalls are provided, then at least one shall be a standard toilet stall complying with 4.17; where 6 or more stalls are provided, in addition to the stall complying with 4.17.3, at least one stall 36 in (915 mm) wide with an outward swinging, self-closing door and parallel grab bars complying with Fig. 30(d) and 4.26 shall be provided. Water closets in such stalls shall comply with 4.16. If water closets are not in stalls, then at least one shall comply with 4.16.
4.22.5 Urinals. If urinals are provided, then at least one shall comply with 4.18.
4.22.6 Lavatories and Mirrors. If lavatories and mirrors are provided, then at least one of each shall comply with 4.19.
4.22.7 Controls and Dispensers. If controls, dispensers, receptacles, or other equipment are provided, then at least one of each shall be on an accessible route and shall comply with 4.27.
4.23 Bathrooms, Bathing Facilities, and Shower Rooms.
4.23.1 Minimum Number. Bathrooms, bathing facilities, or shower rooms required to be accessible by 4.1 shall comply with 4.23 and shall be on an accessible route.
4.23.2 Doors. Doors to accessible bathrooms shall comply with 4.13. Doors shall not swing into the floor space required for any fixture.
4.23.3* Clear Floor Space. The accessible fixtures and controls required in 4.23.4, 4.23.5, 4.23.6, 4.23.7, 4.23.8, and 4.23.9 shall be on an accessible route. An unobstructed turning space complying with 4.2.3 shall be provided within an accessible bathroom. The clear floor spaces at fixtures and controls, the accessible route, and the turning space may overlap. Appendix Note 4.23.3
4.23.4 Water Closets. If toilet stalls are provided, then at least one shall be a standard toilet stall complying with 4.17; where 6 or more stalls are provided, in addition to the stall complying with 4.17.3, at least one stall 36 in (915 mm) wide with an outward swinging, self-closing door and parallel grab bars complying with Fig. 30(d) and 4.26 shall be provided. Water closets in such stalls shall comply with 4.16. If water closets are not in stalls, then at least one shall comply with 4.16.
4.23.5 Urinals. If urinals are provided, then at least one shall comply with 4.18.
4.23.6 Lavatories and Mirrors. If lavatories and mirrors are provided, then at least one of each shall comply with 4.19.
4.23.7 Controls and Dispensers. If controls, dispensers, receptacles, or other equipment are provided, then at least one of each shall be on an accessible route and shall comply with 4.27.
4.23.8 Bathing and Shower Facilities. If tubs or showers are provided, then at least one accessible tub that complies with 4.20 or at least one accessible shower that complies with 4.21 shall be provided.
4.23.9* Medicine Cabinets. If medicine cabinets are provided, at least one shall be located with a usable shelf no higher than 44 in (1120 mm) above the floor space. The floor space shall comply with 4.2.4. Appendix Note 4.23.9
4.24.1 General. Sinks required to be accessible by 4.1 shall comply with 4.24.
4.24.2 Height.Sinks shall be mounted with the counter or rim no higher than 34 in (865 mm) above the finish floor.
4.24.4 Depth. Each sink shall be a maximum of 6-1/2 in (165 mm) deep.
4.24.5 Clear Floor Space. A clear floor space at least 30 in by 48 in (760 mm by 1220 mm) complying with 4.2.4 shall be provided in front of a sink to allow forward approach. The clear floor space shall be on an accessible route and shall extend a maximum of 19 in (485 mm) underneath the sink (see Fig. 32).
4.24.6 Exposed Pipes and Surfaces. Hot water and drain pipes exposed under sinks shall be insulated or otherwise configured so as to protect against contact. There shall be no sharp or abrasive surfaces under sinks.
4.24.7 Faucets. Faucets shall comply with 4.27.4. Lever-operated, push-type, touch-type, or electronically controlled mechanisms are acceptable designs.
4.25.1 General. Fixed storage facilities such as cabinets, shelves, closets, and drawers required to be accessible by 4.1 shall comply with 4.25.
4.25.2 Clear Floor Space. A clear floor space at least 30 in by 48 in (760 mm by 1220 mm) complying with 4.2.4 that allows either a forward or parallel approach by a person using a wheelchair shall be provided at accessible storage facilities.
4.25.3* Height. Accessible storage spaces shall be within at least one of the reach ranges specified in 4.2.5 and 4.2.6 (see Fig. 5 and Fig. 6). Clothes rods or shelves shall be a maximum of 54 in (1370 mm) above the finish floor for a side approach. Where the distance from the wheelchair to the clothes rod or shelf exceeds 10 in (255 mm) (as in closets without accessible doors) the height and depth to the rod or shelf shall comply with Fig. 38(a) and Fig. 38(b). Appendix Note 4.25.3
Figure 38a
Storage Shelves and Closets
Shelves
Figure 38b
Storage Shelves and Closets
Closets
4.25.4 Hardware. Hardware for accessible storage facilities shall comply with 4.27.4. Touch latches and U-shaped pulls are acceptable.
4.26 Handrails, Grab Bars, and Tub and Shower Seats.
4.26.1* General. All handrails, grab bars, and tub and shower seats required to be accessible by 4.1, 4.8, 4.9, 4.16, 4.17, 4.20 or 4.21 shall comply with 4.26. Appendix Note 4.26.1
4.26.2* Size and Spacing of Grab Bars and Handrails. The diameter or width of the gripping surfaces of a handrail or grab bar shall be 1-1/4 in to 1-1/2 in (32 mm to 38 mm), or the shape shall provide an equivalent gripping surface. If handrails or grab bars are mounted adjacent to a wall, the space between the wall and the grab bar shall be 1-1/2 in (38 mm) (see Fig. 39(a), (b), (c), and (e)). Handrails may be located in a recess if the recess is a maximum of 3 in (75 mm) deep and extends at least 18 in (455 mm) above the top of the rail (see Fig. 39(d)). Appendix Note 4.26.2
Figure 39a
Size and Spacing of Handrails and Grab Bars Handrail
Figure 39b
Size and Spacing of Handrails and Grab Bars Handrail
Figure 39c
Size and Spacing of Handrails and Grab Bars Handrail
Figure 39d
Size and Spacing of Handrails and Grab Bars Handrail
Figure 39e
Size and Spacing of Handrails and Grab Bars
4.26.3 Structural Strength. The structural strength of grab bars, tub and shower seats, fasteners, and mounting devices shall meet the following specification:
(1) Bending stress in a grab bar or seat induced by the maximum bending moment from the application of 250 lbf (1112N) shall be less than the allowable stress for the material of the grab bar or seat.
(2) Shear stress induced in a grab bar or seat by the application of 250 lbf (1112N) shall be less than the allowable shear stress for the material of the grab bar or seat. If the connection between the grab bar or seat and its mounting bracket or other support is considered to be fully restrained, then direct and torsional shear stresses shall be totaled for the combined shear stress, which shall not exceed the allowable shear stress.
(3) Shear force induced in a fastener or mounting device from the application of 250 lbf (1112N) shall be less than the allowable lateral load of either the fastener or mounting device or the supporting structure, whichever is the smaller allowable load.
(4) Tensile force induced in a fastener by a direct tension force of 250 lbf (1112N) plus the maximum moment from the application of 250 lbf (1112N) shall be less than the allowable withdrawal load between the fastener and the supporting structure.
(5) Grab bars shall not rotate within their fittings.
4.26.4 Eliminating Hazards. A handrail or grab bar and any wall or other surface adjacent to it shall be free of any sharp or abrasive elements. Edges shall have a minimum radius of 1/8 in (3.2 mm).
4.27 Controls and Operating Mechanisms.
4.27.1 General. Controls and operating mechanisms required to be accessible by 4.1 shall comply with 4.27.
4.27.2 Clear Floor Space. Clear floor space complying with 4.2.4that allows a forward or a parallel approach by a person using a wheelchair shall be provided at controls, dispensers, receptacles, and other operable equipment.
4.27.4 Operation. Controls and operating mechanisms shall be operable with one hand and shall not require tight grasping, pinching, or twisting of the wrist. The force required to activate controls shall be no greater than 5 lbf (22.2 N).
4.28.1 General. Alarm systems required to be accessible by 4.1 shall comply with 4.28. At a minimum, visual signal appliances shall be provided in buildings and facilities in each of the following areas: restrooms and any other general usage areas (e.g., meeting rooms), hallways, lobbies, and any other area for common use.
4.28.2* Audible Alarms. If provided, audible emergency alarms shall produce a sound that exceeds the prevailing equivalent sound level in the room or space by at least 15 dbA or exceeds any maximum sound level with a duration of 60 seconds by 5 dbA, whichever is louder. Sound levels for alarm signals shall not exceed 120 dbA. Appendix Note 4.28.2
4.28.3* Visual Alarms. Visual alarm signal appliances shall be integrated into the building or facility alarm system. If single station audible alarms are provided then single station visual alarm signals shall be provided. Visual alarm signals shall have the following minimum photometric and location features:
(1) The lamp shall be a xenon strobe type or equivalent.
(2) The color shall be clear or nominal white (i.e., unfiltered or clear filtered white light).
(3) The maximum pulse duration shall be two-tenths of one second (0.2 sec) with a maximum duty cycle of 40 percent. The pulse duration is defined as the time interval between initial and final points of 10 percent of maximum signal.
(4) The intensity shall be a minimum of 75 candela.
(5) The flash rate shall be a minimum of 1 Hz and a maximum of 3 Hz.
(6) The appliance shall be placed 80 in (2030 mm) above the highest floor level within the space or 6 in (152 mm) below the ceiling, whichever is lower.
(7) In general, no place in any room or space required to have a visual signal appliance shall be more than 50 ft (15 m) from the signal (in the horizontal plane). In large rooms and spaces exceeding 100 ft (30 m) across, without obstructions 6 ft (2 m) above the finish floor, such as auditoriums, devices may be placed around the perimeter, spaced a maximum 100 ft (30 m) apart, in lieu of suspending appliances from the ceiling.
(8) No place in common corridors or hallways in which visual alarm signalling appliances are required shall be more than 50 ft (15 m) from the signal. Appendix Note 4.28.3
4.28.4* Auxiliary Alarms. Units and sleeping accommodations shall have a visual alarm connected to the building emergency alarm system or shall have a standard 110-volt electrical receptacle into which such an alarm can be connected and a means by which a signal from the building emergency alarm system can trigger such an auxiliary alarm. When visual alarms are in place the signal shall be visible in all areas of the unit or room. Instructions for use of the auxiliary alarm or receptacle shall be provided. Appendix Note 4.28.4
4.29.1 General. Detectable warnings required by 4.1 and 4.7 shall comply with 4.29.
4.29.2* Detectable Warnings on Walking Surfaces. Detectable warnings shall consist of raised truncated domes with a diameter of nominal 0.9 in (23 mm), a height of nominal 0.2 in (5 mm) and a center-to-center spacing of nominal 2.35 in (60 mm) and shall contrast visually with adjoining surfaces, either light-on-dark, or dark-on-light. Appendix Note 4.29.2
The material used to provide contrast shall be an integral part of the walking surface. Detectable warnings used on interior surfaces shall differ from adjoining walking surfaces in resiliency or sound-on-cane contact.
4.29.3 Detectable Warnings on Doors To Hazardous Areas. (Reserved).
4.29.4 Detectable Warnings at Stairs. (Reserved).
4.29.5 Detectable Warnings at Hazardous Vehicular Areas. If a walk crosses or adjoins a vehicular way, and the walking surfaces are not separated by curbs, railings, or other elements between the pedestrian areas and vehicular areas, the boundary between the areas shall be defined by a continuous detectable warning which is 36 in (915 mm) wide, complying with 4.29.2.
4.29.6 Detectable Warnings at Reflecting Pools. The edges of reflecting pools shall be protected by railings, walls, curbs, or detectable warnings complying with 4.29.2.
4.29.7 Standardization. (Reserved).
4.30.1* General. Signage required to be accessible by 4.1 shall comply with the applicable provisions of 4.30. Appendix Note 4.30.1
4.30.2* Character Proportion. Letters and numbers on signs shall have a width-to-height ratio between 3:5 and 1:1 and a stroke-width-to-height ratio between 1:5 and 1:10. Appendix Note 4.30.2
4.30.3 Character Height. Characters and numbers on signs shall be sized according to the viewing distance from which they are to be read. The minimum height is measured using an upper case X. Lower case characters are permitted.
Height Above Finished Floor | Minimum Character Height |
---|---|
Suspended or Projected Overhead in compliance with 4.4.2 | 3 in (75 mm) minimum |
4.30.4* Raised and Brailled Characters and Pictorial Symbol Signs (Pictograms). Letters and numerals shall be raised 1/32 in (0.8 mm) minimum, upper case, sans serif or simple serif type and shall be accompanied with Grade 2 Braille. Raised characters shall be at least 5/8 in (16 mm) high, but no higher than 2 in (50 mm). Pictograms shall be accompanied by the equivalent verbal description placed directly below the pictogram. The border dimension of the pictogram shall be 6 in (152 mm) minimum in height. Appendix Note 4.30.4
4.30.5* Finish and Contrast. The characters and background of signs shall be eggshell, matte, or other non-glare finish. Characters and symbols shall contrast with their background -- either light characters on a dark background or dark characters on a light background. Appendix Note 4.30.5
4.30.6 Mounting Location and Height. Where permanent identification is provided for rooms and spaces, signs shall be installed on the wall adjacent to the latch side of the door. Where there is no wall space to the latch side of the door, including at double leaf doors, signs shall be placed on the nearest adjacent wall. Mounting height shall be 60 in (1525 mm) above the finish floor to the centerline of the sign. Mounting location for such signage shall be so that a person may approach within 3 in (76 mm) of signage without encountering protruding objects or standing within the swing of a door.
4.30.7* Symbols of Accessibility.
Figure 43a
International Symbol of Accessibility
Proportions
Figure 43b
International Symbol of Accessibility
Display Conditions
Figure 43c
International TTY Symbol
Figure 43d
International Symbol of Access for Hearing Loss
4.30.8* Illumination Levels. (Reserved). Appendix Note 4.30.8
4.31.1 General. Public telephones required to be accessible by 4.1 shall comply with 4.31.
4.31.2 Clear Floor or Ground Space. A clear floor or ground space at least 30 in by 48 in (760 mm by 1220 mm) that allows either a forward or parallel approach by a person using a wheelchair shall be provided at telephones (see Fig. 44). The clear floor or ground space shall comply with 4.2.4. Bases, enclosures, and fixed seats shall not impede approaches to telephones by people who use wheelchairs.
4.31.3* Mounting Height. The highest operable part of the telephone shall be within the reach ranges specified in 4.2.5 or 4.2.6. Appendix Note 4.31.3
4.31.4 Protruding Objects. Telephones shall comply with 4.4.
4.31.5 Hearing Aid Compatible and Volume Control Telephones Required by 4.1.
4.31.6 Controls. Telephones shall have pushbutton controls where service for such equipment is available.
4.31.7 Telephone Books. Telephone books, if provided, shall be located in a position that complies with the reach ranges specified in 4.2.5 and 4.2.6.
4.31.8 Cord Length. The cord from the telephone to the handset shall be at least 29 in (735 mm) long.
4.31.9* Text Telephones (TTYs) Required by 4.1.
Figure 44
Mounting Height and Clearance for Telephones
4.32 Fixed or Built-in Seating and Tables.
4.32.2 Seating. If seating spaces for people in wheelchairs are provided at fixed tables or counters, clear floor space complying with 4.2.4 shall be provided. Such clear floor space shall not overlap knee space by more than 19 in (485 mm) (see Fig. 45).
Figure 45
Minimum Clearances for Seats and Tables
4.32.3 Knee Clearances. If seating for people in wheelchairs is provided at tables or counters, knee spaces at least 27 in (685 mm) high, 30 in (760 mm) wide, and 19 in (485 mm) deep shall be provided (see Fig. 45).
4.32.4* Height of Tables or Counters. The tops of accessible tables and counters shall be from 28 in to 34 in (710 mm to 865 mm) above the finish floor or ground. Appendix Note 4.32.4
4.32.5 Children's Fixed or Built-in Seating and Tables. Fixed or built-in seating or tables used primarily by children ages 12 and younger shall comply with 4.32.5 as permitted by 4.32.1.
EXCEPTION: Fixed or built-in seating or tables used primarily by children ages 5 and younger shall not be required to comply with 4.32.5 if clear floor space complying with 4.2.4 parallel to fixed tables or counters is provided.4.33.1 Minimum Number. Assembly and associated areas required to be accessible by 4.1 shall comply with 4.33.
4.33.2* Size of Wheelchair Locations. Each wheelchair location shall provide minimum clear ground or floor spaces as shown in Fig. 46. Appendix Note 4.33.2
Figure 46
Space Requirements for Wheelchair Seating Spaces in Series
4.33.3* Placement of Wheelchair Locations. Wheelchair areas shall be an integral part of any fixed seating plan and shall be provided so as to provide people with physical disabilities a choice of admission prices and lines of sight comparable to those for members of the general public. They shall adjoin an accessible route that also serves as a means of egress in case of emergency. At least one companion fixed seat shall be provided next to each wheelchair seating area. When the seating capacity exceeds 300, wheelchair spaces shall be provided in more than one location. Readily removable seats may be installed in wheelchair spaces when the spaces are not required to accommodate wheelchair users. Appendix Note 4.33.3
EXCEPTION: Accessible viewing positions may be clustered for bleachers, balconies, and other areas having sight lines that require slopes of greater than 5 percent. Equivalent accessible viewing positions may be located on levels having accessible egress.4.33.4 Surfaces. The ground or floor at wheelchair locations shall be level and shall comply with 4.5.
4.33.5 Access to Performing Areas. An accessible route shall connect wheelchair seating locations with performing areas, including stages, arena floors, dressing rooms, locker rooms, and other spaces used by performers.
4.33.6* Placement of Listening Systems. If the listening system provided serves individual fixed seats, then such seats shall be located within a 50 ft (15 m) viewing distance of the stage or playing area and shall have a complete view of the stage or playing area. Appendix Note 4.33.6
4.33.7* Types of Listening Systems. Assistive listening systems (ALS) are intended to augment standard public address and audio systems by providing signals which can be received directly by persons with special receivers or their own hearing aids and which eliminate or filter background noise. The type of assistive listening system appropriate for a particular application depends on the characteristics of the setting, the nature of the program, and the intended audience. Magnetic induction loops, infra-red and radio frequency systems are types of listening systems which are appropriate for various applications. Appendix Note 4.33.7
4.34 Automated Teller Machines.
4.34.1 General. Each automated teller machine required to be accessible by 4.1.3 shall be on an accessible route and shall comply with 4.34.
4.34.2 Clear Floor Space. The automated teller machine shall be located so that clear floor space complying with 4.2.4 is provided to allow a person using a wheelchair to make a forward approach, a parallel approach, or both, to the machine.
(a) Reach Depth Not More Than 10 in (255 mm). Where the reach depth to the operable parts of all controls as measured from the vertical plane perpendicular to the edge of the unobstructed clear floor space at the farthest protrusion of the automated teller machine or surround is not more than 10 in (255 mm), the maximum height above the finished floor or grade shall be 54 in (1370 mm).
(b) Reach Depth More Than 10 in (255 mm). Where the reach depth to the operable parts of any control as measured from the vertical plane perpendicular to the edge of the unobstructed clear floor space at the farthest protrusion of the automated teller machine or surround is more than 10 in (255 mm), the maximum height above the finished floor or grade shall be as follows:
Reach Depth | Maximum Height | ||
---|---|---|---|
inches | milimeters | inches | milimeters |
10 | 255 | 54 | 1370 |
11 | 280 | 53 1/2 | 1360 |
12 | 305 | 53 | 1345 |
13 | 330 | 52 1/2 | 1335 |
14 | 355 | 51 1/2 | 1310 |
15 | 380 | 51 | 1295 |
16 | 405 | 50 1/2 | 1285 |
17 | 430 | 50 | 1270 |
18 | 455 | 49 1/2 | 1255 |
19 | 485 | 49 | 1245 |
20 | 510 | 48 1/2 | 1230 |
21 | 535 | 47 1/2 | 1205 |
22 | 560 | 47 | 1195 |
23 | 585 | 46 1/2 | 180 |
24 | 610 | 46 | 1170 |
4.34.4 Controls. Controls for user activation shall comply with 4.27.4.
4.34.5 Equipment for Persons with Vision Impairments. Instructions and all information for use shall be made accessible to and independently usable by persons with vision impairments.
4.35 Dressing, Fitting, and Locker Rooms.
4.35.1 General. Dressing, fitting, and locker rooms required to be accessible by 4.1 shall comply with 4.35 and shall be on an accessible route.
4.35.2 Clear Floor Space. A clear floor space allowing a person using a wheelchair to make a 180-degree turn shall be provided in every accessible dressing room entered through a swinging or sliding door. No door shall swing into any part of the turning space. Turning space shall not be required in a private dressing room entered through a curtained opening at least 32 in (815 mm) wide if clear floor space complying with section 4.2 renders the dressing room usable by a person using a wheelchair.
4.35.3 Doors. All doors to accessible dressing rooms shall be in compliance with section 4.13.
4.35.4 Bench. A bench complying with 4.37 shall be provided within the room.
4.35.5 Mirror. Where mirrors are provided in dressing rooms of the same use, then in an accessible dressing room, a full-length mirror, measuring at least 18 in wide by 54 in high (460 mm by 1370 mm), shall be mounted in a position affording a view to a person on the bench as well as to a person in a standing position.
4.36.1 General. Saunas and steam rooms required to be accessible by 4.1 shall comply with 4.36.
4.36.2* Wheelchair Turning Space. A wheelchair turning space complying with 4.2.3 shall be provided within the room. Appendix Note 4.36.2
EXCEPTION: Wheelchair turning space shall be permitted to be obstructed by readily removable seats.
4.36.3 Sauna and Steam Room Bench. Where seating is provided, at least one bench shall be provided and shall comply with 4.37.
4.36.4 Door Swing. Doors shall not swing into any part of the clear floor or ground space required at a bench complying with 4.37.
4.37.1 General. Benches required to be accessible by 4.1 shall comply with 4.37.
4.37.2 Clear Floor or Ground Space. Clear floor or ground space complying with 4.2.4 shall be provided and shall be positioned for parallel approach to a short end of a bench seat.
EXCEPTION: Clear floor or ground space required by 4.37.2 shall be permitted to be obstructed by readily removable seats in saunas and steam rooms.
4.37.3* Size. Benches shall be fixed and shall have seats that are 20 inches (510 mm) minimum to 24 inches (610 mm) maximum in depth and 42 inches (1065 mm) minimum in length (see Fig. 47).Appendix Note 4.37.3
4.37.4 Back Support. Benches shall have back support that is 42 inches (1065 mm) minimum in length and that extends from a point 2 inches (51 mm) maximum above the seat to a point 18 inches (455 mm) minimum above the seat (see Fig. 48).
4.37.5 Seat Height. Bench seats shall be 17 inches (430 mm) minimum to 19 inches (485 mm) maximum above the floor or ground.
4.37.6 Structural Strength. Allowable stresses shall not be exceeded for materials used when a vertical or horizontal force of 250 lbs. (1112 N) is applied at any point on the seat, fastener, mounting device, or supporting structure.
4.37.7 Wet Locations. The surface of benches installed in wet locations shall be slip-resistant and shall not accumulate water.
5. RESTAURANTS AND CAFETERIAS
5.1* General
Except as specified or modified in this section, restaurants and cafeterias shall comply with the requirements of section 4. Where fixed tables (or dining counters where food is consumed but there is no service) are provided, at least 5 percent, but not less than one, of the fixed tables (or a portion of the dining counter) shall be accessible and shall comply with 4.32 as required in 4.1.3(18). In establishments where separate areas are designated for smoking and non-smoking patrons, the required number of accessible fixed tables (or counters) shall be proportionally distributed between the smoking and non-smoking areas. In new construction, and where practicable in alterations, accessible fixed tables (or counters) shall be distributed throughout the space or facility. Appendix Note 5.0
5.2 Counters and Bars
Where food or drink is served at counters exceeding 34 in (865 mm) in height for consumption by customers seated on stools or standing at the counter, a portion of the main counter which is 60 in (1525 mm) in length minimum shall be provided in compliance with 4.32 or service shall be available at accessible tables within the same area.
5.3 Access Aisles
All accessible fixed tables shall be accessible by means of an access aisle at least 36 in (915 mm) clear between parallel edges of tables or between a wall and the table edges.
5.4 Dining Areas
In new construction, all dining areas, including raised or sunken dining areas, loggias, and outdoor seating areas, shall be accessible. In non-elevator buildings, an accessible means of vertical access to the mezzanine is not required under the following conditions: 1) the area of mezzanine seating measures no more than 33 percent of the area of the total accessible seating area; 2) the same services and decor are provided in an accessible space usable by the general public; and, 3) the accessible areas are not restricted to use by people with disabilities. In alterations, accessibility to raised or sunken dining areas, or to all parts of outdoor seating areas is not required provided that the same services and decor are provided in an accessible space usable by the general public and are not restricted to use by people with disabilities.
5.5 Food Service Lines
Food service lines shall have a minimum clear width of 36 in (915 mm), with a preferred clear width of 42 in (1065 mm) to allow passage around a person using a wheelchair. Tray slides shall be mounted no higher than 34 in (865 mm) above the floor (see Fig. 53). If self-service shelves are provided, at least 50 percent of each type must be within reach ranges specified in 4.2.5 and 4.2.6.
Figure 53
Food Service Lines
5.6 Tableware and Condiment Areas
Self-service shelves and dispensing devices for tableware, dishware, condiments, food and beverages shall be installed to comply with 4.2 (see Fig. 54).
Figure 54
Tableware Areas
5.7 Raised Platforms
In banquet rooms or spaces where a head table or speaker's lectern is located on a raised platform, the platform shall be accessible in compliance with 4.8 or 4.11. Open edges of a raised platform shall be protected by placement of tables or by a curb.
5.8 Vending Machines and Other Equipment
Spaces for vending machines and other equipment shall comply with 4.2 and shall be located on an accessible route.
5.9 Quiet Areas
(Reserved).
6. MEDICAL CARE FACILITIES
6.1 General
Medical care facilities included in this section are those in which people receive physical or medical treatment or care and where persons may need assistance in responding to an emergency and where the period of stay may exceed 24 hours. In addition to the requirements of section 4, medical care facilities and buildings shall comply with 6.
(a) When patient bedrooms are being added or altered as part of a planned renovation of an entire wing, a department, or other discrete area of an existing medical facility, a percentage of the patient bedrooms that are being added or altered shall comply with 6.3. The percentage of accessible rooms provided shall be consistent with the percentage of rooms required to be accessible by the applicable requirements of 6.1(1), 6.1(2), or 6.1(3), until the number of accessible patient bedrooms in the facility equals the overall number that would be required if the facility were newly constructed. (For example, if 20 patient bedrooms are being altered in the obstetrics department of a hospital, 2 of the altered rooms must be made accessible. If, within the same hospital, 20 patient bedrooms are being altered in a unit that specializes in treating mobility impairments, all of the altered rooms must be made accessible.) Where toilet/bathrooms are part of patient bedrooms which are added or altered and required to be accessible, each such patient toilet/bathroom shall comply with 6.4.
(b) When patient bedrooms are being added or altered individually, and not as part of an alteration of the entire area, the altered patient bedrooms shall comply with 6.3, unless either: a) the number of accessible rooms provided in the department or area containing the altered patient bedroom equals the number of accessible patient bedrooms that would be required if the percentage requirements of 6.1(1), 6.1(2), or 6.1(3) were applied to that department or area; or b) the number of accessible patient bedrooms in the facility equals the overall number that would be required if the facility were newly constructed. Where toilet/bathrooms are part of patient bedrooms which are added or altered and required to be accessible, each such toilet/bathroom shall comply with 6.4.
6.2 Entrances
At least one accessible entrance that complies with 4.14 shall be protected from the weather by canopy or roof overhang. Such entrances shall incorporate a passenger loading zone that complies with 4.6.6.
6.3 Patient Bedrooms
Provide accessible patient bedrooms in compliance with section 4. Accessible patient bedrooms shall comply with the following:
6.4 Patient Toilet Rooms
Where toilet/bathrooms are provided as a part of a patient bedroom, each patient bedroom that is required to be accessible shall have an accessible toilet/bathroom that complies with 4.22 or 4.23 and shall be on an accessible route.
7. BUSINESS, MERCANTILE AND CIVIC
7.1 General
In addition to the requirements of section 4, the design of all areas used for business transactions with the public shall comply with 7.
7.2 Sales and Service Counters, Teller Windows, Information Counters
(i) a portion of the main counter which is a minimum of 36 in (915 mm) in length shall be provided with a maximum height of 36 in (915 mm); or
(ii) an auxiliary counter with a maximum height of 36 in (915 mm) in close proximity to the main counter shall be provided; or
(iii) equivalent facilitation shall be provided (e.g., at a hotel registration counter, equivalent facilitation might consist of: (1) provision of a folding shelf attached to the main counter on which an individual with a disability can write, and (2) use of the space on the side of the counter or at the concierge desk, for handing materials back and forth).
All accessible sales and service counters shall be on an accessible route complying with 4.3.
7.3* Check-out Aisles.
Total Check-out Aisles of Each Design | Minimum Number of Accessible Check-out Aisles (of each design) |
1 - 4 | 1 |
5 - 8 | 2 |
9 - 15 | 3 |
over 15 | 3, plus 20% of additional aisles |
EXCEPTION: In new construction, where the selling space is under 5000 square feet, only one check-out aisle is required to be accessible.
EXCEPTION: In alterations, at least one check-out aisle shall be accessible in facilities under 5000 square feet of selling space. In facilities of 5000 or more square feet of selling space, at least one of each design of check-out aisle shall be made accessible when altered until the number of accessible check-out aisles of each design equals the number required in new construction.
Examples of check-out aisles of different "design" include those which are specifically designed to serve different functions. Different "design" includes but is not limited to the following features - length of belt or no belt; or permanent signage designating the aisle as an express lane.
7.4 Security Bollards
Any device used to prevent the removal of shopping carts from store premises shall not prevent access or egress to people in wheelchairs. An alternate entry that is equally convenient to that provided for the ambulatory population is acceptable.
8. LIBRARIES
8.1 General
In addition to the requirements of section 4, the design of all public areas of a library shall comply with 8, including reading and study areas, stacks, reference rooms, reserve areas, and special facilities or collections.
8.2 Reading and Study Areas
At least 5 percent or a minimum of one of each element of fixed seating, tables, or study carrels shall comply with 4.2 and 4.32. Clearances between fixed accessible tables and between study carrels shall comply with 4.3.
8.3 Check-Out Areas
At least one lane at each check-out area shall comply with 7.2(1). Any traffic control or book security gates or turnstiles shall comply with 4.13.
8.4 Card Catalogs and Magazine Displays
Minimum clear aisle space at card catalogs and magazine displays shall comply with Fig. 55. Maximum reach height shall comply with 4.2, with a height of 48 in (1220 mm) preferred irrespective of approach allowed.
Figure 55
Card Catalog
8.5 Stacks
Minimum clear aisle width between stacks shall comply with 4.3, with a minimum clear aisle width of 42 in (1065 mm) preferred where possible. Shelf height in stack areas is unrestricted (see Fig. 56).
Figure 56
Stacks
9. ACCESSIBLE TRANSIENT LODGING
9.1 Hotels, Motels, Inns, Boarding Houses, Dormitories, Resorts and Other Similar Places of Transient Lodging.
9.1.2 Accessible Units, Sleeping Rooms, and Suites
Accessible sleeping rooms or suites that comply with the requirements of 9.2 (Requirements for Accessible Units, Sleeping Rooms, and Suites) shall be provided in conformance with the table below. In addition, in hotels, of 50 or more sleeping rooms or suites, additional accessible sleeping rooms or suites that include a roll- in shower shall also be provided in conformance with the table below. Such accommodations shall comply with the requirements of 9.2, 4.21, and Figure 57(a) or (b).
Number of Rooms | Accessible Rooms | Rooms with Roll-in Showers |
---|---|---|
1 to 25 | 1 | |
26 to 50 | 2 | |
51 to 75 | 3 | 1 |
76 to 100 | 4 | 1 |
101 to 150 | 5 | 2 |
151 to 200 | 6 | 2 |
201 to 300 | 7 | 3 |
301 to 400 | 8 | 4 |
401 to 500 | 9 | 4 plus 1 for each additional 100 over 400 |
501 to 1000 | 2% of total | |
1001 and over | 20 plus 1 for each 100 over 1000 |
Figure 57
Roll-In Shower with Folding Seat
9.1.3 Sleeping Accommodations for Persons with Hearing Impairments
In addition to those accessible sleeping rooms and suites required by 9.1.2, sleeping rooms and suites that comply with 9.3 (Visual Alarms, Notification Devices, and Telephones) shall be provided in conformance with the following table:
Number of Elements | Accessible Elements |
---|---|
1 to 25 | 1 |
26 to 50 | 2 |
51 to 75 | 3 |
76 to 100 | 4 |
101 to 150 | 5 |
151 to 200 | 6 |
201 to 300 | 7 |
301 to 400 | 8 |
401 to 500 | 9 |
501 to 1000 | 2% of total |
1001 and over | 20 plus 1 for each 100 over 1000 |
9.1.4 Classes of Sleeping Accommodations.
9.1.5. Alterations to Accessible Units, Sleeping Rooms, and Suites
When sleeping rooms are being altered in an existing facility, or portion thereof, subject to the requirements of this section, at least one sleeping room or suite that complies with the requirements of 9.2 (Requirements for Accessible Units, Sleeping Rooms, and Suites) shall be provided for each 25 sleeping rooms, or fraction thereof, of rooms being altered until the number of such rooms provided equals the number required to be accessible with 9.1.2. In addition, at least one sleeping room or suite that complies with the requirements of 9.3 (Visual Alarms, Notification Devices, and Telephones) shall be provided for each 25 sleeping rooms, or fraction thereof, of rooms being altered until the number of such rooms equals the number required to be accessible by 9.1.3.
9.2 Requirements for Accessible Units, Sleeping Rooms and Suites
9.2.1 General
Units, sleeping rooms, and suites required to be accessible by 9.1 shall comply with 9.2.
9.2.2 Minimum Requirements. An accessible unit, sleeping room or suite shall be on an accessible route complying with 4.3 and have the following accessible elements and spaces.
(e) at least one full bathroom (i.e., one with a water closet, a lavatory, and a bathtub or shower).
(f) if only half baths are provided, at least one half bath.
(g) carports, garages or parking spaces.
(7) Kitchens, Kitchenettes, or Wet Bars. When provided as accessory to a sleeping room or suite, kitchens, kitchenettes, wet bars, or similar amenities shall be accessible. Clear floor space for a front or parallel approach to cabinets, counters, sinks, and appliances shall be provided to comply with 4.2.4. Countertops and sinks shall be mounted at a maximum height of 34 in (865 mm) above the floor. At least fifty percent of shelf space in cabinets or refrigerator/freezers shall be within the reach ranges of 4.2.5 or 4.2.6 and space shall be designed to allow for the operation of cabinet and/or appliance doors so that all cabinets and appliances are accessible and usable. Controls and operating mechanisms shall comply with 4.27.
9.3 Visual Alarms, Notification Devices and Telephones
9.3.1 General
In sleeping rooms required to comply with this section, auxiliary visual alarms shall be provided and shall comply with 4.28.4. Visual notification devices shall also be provided in units, sleeping rooms and suites to alert room occupants of incoming telephone calls and a door knock or bell. Notification devices shall not be connected to auxiliary visual alarm signal appliances. Permanently installed telephones shall have volume controls complying with 4.31.5; an accessible electrical outlet within 4 ft (1220 mm) of a telephone connection shall be provided to facilitate the use of a text telephone.
9.3.2 Equivalent Facilitation
For purposes of this section, equivalent facilitation shall include the installation of electrical outlets (including outlets connected to a facility's central alarm system) and telephone wiring in sleeping rooms and suites to enable persons with hearing impairments to utilize portable visual alarms and communication devices provided by the operator of the facility.
9.4 Other Sleeping Rooms and Suites
Doors and doorways designed to allow passage into and within all sleeping units or other covered units shall comply with 4.13.5.
9.5 Transient Lodging in Homeless Shelters, Halfway Houses, Transient Group Homes, and Other Social Service Establishments
9.5.2 Alterations
(1) Social service establishments which are not homeless shelters:
(a) The provisions of 9.5.3 and 9.1.5 shall apply to sleeping rooms and beds.
(b) Alteration of other areas shall be consistent with the new construction provisions of 9.5.1.
(2) Homeless shelters. If the following elements are altered, the following requirements apply:
(a) at least one public entrance shall allow a person with mobility impairments to approach, enter and exit including a minimum clear door width of 32 in (815 mm).
(b) sleeping space for homeless persons as provided in the scoping provisions of 9.1.2 shall include doors to the sleeping area with a minimum clear width of 32 in (815 mm) and maneuvering space around the beds for persons with mobility impairments complying with 9.2.2(1).
(c) at least one toilet room for each gender or one unisex toilet room shall have a minimum clear door width of 32 in (815 mm), minimum turning space complying with 4.2.3, one water closet complying with 4.16, one lavatory complying with 4.19 and the door shall have a privacy latch; and, if provided, at least one tub or shower shall comply with 4.20 or 4.21, respectively.
(d) at least one common area which a person with mobility impairments can approach, enter and exit including a minimum clear door width of 32 in (815 mm).
(e) at least one route connecting elements (a), (b), (c) and (d) which a person with mobility impairments can use including minimum clear width of 36 in (915 mm), passing space complying with 4.3.4, turning space complying with 4.2.3 and changes in levels complying with 4.3.8.
(f) homeless shelters can comply with the provisions of (a)- (e) by providing the above elements on one accessible floor.
9.5.3
Accessible Sleeping Accommodations in New Construction. Accessible sleeping rooms shall be provided in conformance with the table in 9.1.2 and shall comply with 9.2 Accessible Units, Sleeping Rooms and Suites (where the items are provided). Additional sleeping rooms that comply with 9.3 Sleeping Accommodations for Persons with Hearing Impairments shall be provided in conformance with the table provided in 9.1.3.
In facilities with multi-bed rooms or spaces, a percentage of the beds equal to the table provided in 9.1.2 shall comply with 9.2.2(1).
10. TRANSPORTATION FACILITIES
10.1 General. Every station, bus stop, bus stop pad, terminal, building or other transportation facility, shall comply with the applicable provisions of section 4, the special application sections, and the applicable provisions of this section.
10.2.2 Bus Stop Siting and Alterations.
10.3 Fixed Facilities and Stations.
10.3.1 New Construction. New stations in rapid rail, light rail, commuter rail, intercity bus, intercity rail, high speed rail, and other fixed guideway systems (e.g., automated guideway transit, monorails, etc.) shall comply with the following provisions, as applicable:
(7)* Automatic fare vending, collection and adjustment (e.g., add-fare) systems shall comply with 4.34.2, 4.34.3, 4.34.4, and 4.34.5. At each accessible entrance such devices shall be located on an accessible route. If self-service fare collection devices are provided for the use of the general public, at least one accessible device for entering, and at least one for exiting, unless one device serves both functions, shall be provided at each accessible point of entry or exit. Accessible fare collection devices shall have a minimum clear opening width of 32 inches; shall permit passage of a wheelchair; and, where provided, coin or card slots and controls necessary for operation shall comply with 4.27. Gates which must be pushed open by wheelchair or mobility aid users shall have a smooth continuous surface extending from 2 inches above the floor to 27 inches above the floor and shall comply with 4.13. Where the circulation path does not coincide with that used by the general public, accessible fare collection systems shall be located at or adjacent to the accessible point of entry or exit. Appendix Note 10.3.1(7)
(10) Stations shall not be designed or constructed so as to require persons with disabilities to board or alight from a vehicle at a location other than one used by the general public.
(11) Illumination levels in the areas where signage is located shall be uniform and shall minimize glare on signs. Lighting along circulation routes shall be of a type and configuration to provide uniform illumination.
(12) Text Telephones: The following shall be provided in accordance with 4.31.9:
(a) If an interior public pay telephone is provided in a transit facility (as defined by the Department of Transportation) at least one interior public text telephone shall be provided in the station.
(b) Where four or more public pay telephones serve a particular entrance to a rail station and at least one is in an interior location, at least one interior public text telephone shall be provided to serve that entrance. Compliance with this section constitutes compliance with section 4.1.3(17)(c);.
(13) Where it is necessary to cross tracks to reach boarding platforms, the route surface shall be level and flush with the rail top at the outer edge and between the rails, except for a maximum 2-1/2 inch gap on the inner edge of each rail to permit passage of wheel flanges. Such crossings shall comply with 4.29.5. Where gap reduction is not practicable, an above-grade or below-grade accessible route shall be provided.
(14) Where public address systems are provided to convey information to the public in terminals, stations, or other fixed facilities, a means of conveying the same or equivalent information to persons with hearing loss or who are deaf shall be provided.
(15) Where clocks are provided for use by the general public, the clock face shall be uncluttered so that its elements are clearly visible. Hands, numerals, and/or digits shall contrast with the background either light-on-dark or dark-on-light. Where clocks are mounted overhead, numerals and/or digits shall comply with 4.30.3. Clocks shall be placed in uniform locations throughout the facility and system to the maximum extent practicable.
(16)Where provided in below grade stations, escalators shall have a minimum clear width of 32 inches. At the top and bottom of each escalator run, at least two contiguous treads shall be level beyond the comb plate before the risers begin to form. All escalator treads shall be marked by a strip of clearly contrasting color, 2 inches in width, placed parallel to and on the nose of each step. The strip shall be of a material that is at least as slip resistant as the remainder of the tread. The edge of the tread shall be apparent from both ascending and descending directions.
(18) Where provided, ticketing areas shall permit persons with disabilities to obtain a ticket and check baggage and shall comply with 7.2.
(19) Where provided, baggage check-in and retrieval systems shall be on an accessible route complying with 4.3, and shall have space immediately adjacent complying with 4.2. If unattended security barriers are provided, at least one gate shall comply with 4.13. Gates which must be pushed open by wheelchair or mobility aid users shall have a smooth continuous surface extending from 2 inches above the floor to 27 inches above the floor.
10.3.2 Existing Facilities: Key Stations.
10.3.3 Existing Facilities: Alterations.
(1) For the purpose of complying with 4.1.6(2) (Alterations to an Area Containing a Primary Function), an area of primary function shall be as defined by applicable provisions of 49 C.F.R. 37.43(c); (Department of Transportation's ADA Rule) or 28 C.F.R. 36.403 (Department of Justice's ADA Rule).
(a) a main terminal outside the security areas;
(b) a concourse within the security areas; or
(c) a baggage claim area in a terminal.
Compliance with this section constitutes compliance with section 4.1.3(17)(c);.
10.5 Boat and Ferry Docks. [Reserved]
NOTE: Section 11 has not been incorporated in the Department of Justice accessibility standards and therefore is not enforceable.
11. JUDICIAL, LEGISLATIVE AND REGULATORY FACILITIES
11.1 General. In addition to the requirements in section 4 and 11.1, judicial facilities shall comply with 11.2 and legislative and regulatory facilities shall comply with 11.3.
11.1.2 Security Systems. An accessible route complying with 4.3 shall be provided through fixed security barriers at required accessible entrances. Where security barriers incorporate equipment such as metal detectors, fluoroscopes, or other similar devices which cannot be made accessible, an accessible route shall be provided adjacent to such security screening devices to facilitate an equivalent circulation path.
11.1.3* Two-Way Communication Systems. Where a two-way communication system is provided to gain admittance to a facility or to restricted areas within the facility, the system shall provide both visual and audible signals and shall comply with 4.27. Appendix Note 11.1.3
(a) Spectator, Press, and Other Areas with Fixed Seats. Where spectator, press or other areas with fixed seats are provided, each type of seating area shall comply with 4.1.3(19)(a).
(c) Judges' Benches and Courtroom Stations. Judges' benches, clerks' stations, bailiffs' stations, deputy clerks' stations, court reporters' stations and litigants' and counsel stations shall comply with 4.32.
11.2.2 Jury Assembly Areas and Jury Deliberation Areas. Where provided in areas used for jury assembly or deliberation, the following elements or spaces shall be on an accessible route complying with 4.3 and shall comply with the following provisions:
11.2.3 Courthouse Holding Facilities.
(a) Central Holding Cells. Where separate central holding cells are provided for adult male, juvenile male, adult female, or juvenile female, one of each type shall comply with 11.2.3(2). Where central-holding cells are provided, which are not separated by age or sex, at least one cell complying with 11.2.3(2) shall be provided.
(b) Court-Floor Holding Cells. Where separate court-floor holding cells are provided for adult male, juvenile male, adult female, or juvenile female, each courtroom shall be served by one cell of each type complying with 11.2.3(2). Where court-floor holding cells are provided, which are not separated by age or sex, courtrooms shall be served by at least one cell complying with 11.2.3(2). Cells may serve more than one courtroom.
(b)* Toilet and Bathing Facilities. Toilet facilities shall comply with 4.22 and bathing facilities shall comply with 4.23. Privacy screens shall not intrude on the clear floor space required for fixtures or the accessible route. Appendix Note 11.2.3(2)(b)
(c)* Beds. Beds shall have maneuvering space at least 36 in (915 mm) wide along one side. Where more than one bed is provided in a cell, the maneuvering space provided at adjacent beds may overlap. Appendix Note 11.2.3(2)(c)
(d) Drinking Fountains and Water Coolers. Drinking fountains shall be accessible to individuals who use wheelchairs in accordance with 4.15 and shall be accessible to those who have difficulty bending or stooping. This can be accomplished by the use of a "hi-lo" fountain; by providing one fountain accessible to those who use wheelchairs and one fountain at a standard height convenient for those who have difficulty bending; by providing a fountain accessible under 4.15 and a water cooler; or by other such means as would achieve the required accessibility for each group.
(e) Fixed or Built-in Seating and Tables. Fixed or built-in seating, tables or counters shall comply with 4.32.
(f) Fixed Benches. Fixed benches shall be mounted at 17 in to 19 in (430 mm to 485 mm) above the finish floor and provide back support (e.g., attachment to wall). The structural strength of the bench attachments shall comply with 4.26.3.
(a) Cubicles and Counters. Five percent, but not less than one, of fixed cubicles shall comply with 4.32 on both the visitor and detainee sides. Where counters are provided, a portion at least 36 in (915 mm) in length shall comply with 4.32 on both the visitor and detainee sides.
(b) Partitions. Solid partitions or security glazing that separate visitors from detainees shall comply with 7.2(3). Appendix Note 11.2.3(3)
11.3* Legislative and Regulatory Facilities. Assembly areas designated for public use, including public meeting rooms, hearing rooms, and chambers shall comply with 11.3. Appendix Note 11.3
11.3.1 Where provided, the following elements and spaces shall be on an accessible route complying with 4.3. Areas that are raised or depressed and accessed by ramps or platform lifts with entry ramps shall provide unobstructed turning space complying with 4.2.3.
11.3.2* Each assembly area provided with a permanently installed audio-amplification system shall have a permanently installed assistive listening system. The minimum number of receivers shall be four percent of the room occupant load, as determined by applicable State or local codes, but not less than two receivers. An informational sign indicating the availability of an assistive listening system and complying with 4.30.1, 4.30.2, 4.30.3, 4.30.5, and 4.30.7(4) shall be posted in a prominent place. Appendix Note 11.3.2
NOTE: Section 12 has not been incorporated in the Department of Justice accessibility standards and therefore is not enforceable.
12. DETENTION AND CORRECTIONAL FACILITIES
12.2 Entrances and Security Systems.
12.2.2 Security Systems. Where security systems are provided at public or other entrances required to be accessible by 12.2.1 or 12.2.2, an accessible route complying with 4.3 shall be provided through fixed security barriers. Where security barriers incorporate equipment such as metal detectors, fluoroscopes, or other similar devices which cannot be made accessible, an accessible route shall be provided adjacent to such security screening devices to facilitate an equivalent circulation path.
12.3* Visiting Areas. In non-contact visiting areas where inmates or detainees are separated from visitors, the following elements, where provided, shall be accessible and located on an accessible route complying with 4.3:
12.4 Holding and Housing Cells or Rooms: Minimum Number.
12.4.1* Holding Cells and General Housing Cells or Rooms. At least two percent, but not less than one, of the total number of housing or holding cells or rooms provided in a facility shall comply with 12.5. Appendix Note 12.4.1
12.4.3* Accessible Cells or Rooms for Persons with Hearing Impairments. In addition to the requirements of 12.4.1, two percent, but not less than one, of general housing or holding cells or rooms equipped with audible emergency warning systems or permanently installed telephones within the cell or room shall comply with the applicable requirements of 12.6. Appendix Note 12.4.3
12.4.4 Medical Care Facilities. Medical care facilities providing physical or medical treatment or care shall comply with the applicable requirements of section 6.1, 6.3 and 6.4, if persons may need assistance in emergencies and the period of stay may exceed 24 hours. Patient bedrooms or cells required to be accessible under 6.1 and 6.3 shall be provided in addition to any medical isolation cells required to be accessible under 12.4.2.
12.4.5 Alterations to Cells or Rooms. (Reserved.)
12.5 Requirements for Accessible Cells or Rooms.
12.5.1 General. Cells or rooms required to be accessible by 12.4 shall comply with 12.5.
12.5.2* Minimum Requirements. Accessible cells or rooms shall be on an accessible route complying with 4.3. Where provided to serve accessible housing or holding cells or rooms, the following elements or spaces shall be accessible and connected by an accessible route. Appendix Note 12.5.2
12.6 Visual Alarms and Telephones.
13. RESIDENTIAL HOUSING [RESERVED]
14. PUBLIC RIGHTS-OF-WAY [RESERVED]
NOTE: Section 15 has not been incorporated in the Department of Justice accessibility standards and therefore is not enforceable.
Newly designed or newly constructed and altered recreation facilities shall comply with the applicable requirements of section 4 and the special application sections, except as modified or otherwise provided in this section. Appendix Note 15.0
15.1* Amusement RidesAppendix Note 15.1
15.1.1 General. Newly designed or newly constructed and altered amusement rides shall comply with 15.1.
EXCEPTION 1*: Mobile or portable amusement rides shall not be required to comply with 15.1. Appendix Note 15.1 Exception 1
EXCEPTION 2*: Amusement rides which are controlled or operated by the rider shall be required to comply only with 15.1.4 and 15.1.5. Appendix Note 15.1 Exception 2
EXCEPTION 3*: Amusement rides designed primarily for children, where children are assisted on and off the ride by an adult, shall be required to comply only with 15.1.4 and 15.1.5. Appendix Note 15.1 Exception 3
EXCEPTION 4: Amusement rides without amusement ride seats shall be required to comply only with 15.1.4 and 15.1.5.
15.1.2* Alterations to Amusement Rides. A modification to an existing amusement ride is an alteration subject to 15.1 if one or more of the following conditions apply:
1. The amusement ride’s structural or operational characteristics are changed to the extent that the ride’s performance differs from that specified by the manufacturer or the original design criteria; or
2. The load and unload area of the amusement ride is newly designed and constructed. Appendix Note 15.1.2
15.1.3 Number Required. Each amusement ride shall provide at least one wheelchair space complying with 15.1.7, or at least one amusement ride seat designed for transfer complying with 15.1.8, or at least one transfer device complying with 15.1.9.
15.1.4* Accessible Route. When in the load and unload position, amusement rides required to comply with 15.1 shall be served by an accessible route complying with 4.3. Any part of an accessible route serving amusement rides with a slope greater than 1:20 shall be considered a ramp and shall comply with 4.8. Appendix Note 15.1.4
EXCEPTION 1: The maximum slope specified in 4.8.2 shall not apply in the load and unload areas or on the amusement ride where compliance is structurally or operationally infeasible, provided that the slope of the ramp shall not exceed 1:8.
EXCEPTION 2: Handrails shall not be required in the load and unload areas or on the amusement ride where compliance is structurally or operationally infeasible.
EXCEPTION 3: Limited-use/limited-application elevators and platform lifts complying with 4.11 shall be permitted to be part of an accessible route serving the load and unload area.
15.1.5 Load and Unload Areas. Load and unload areas serving amusement rides required to comply with 15.1 shall provide a maneuvering space complying with 4.2.3. The maneuvering space shall have a slope not steeper than 1:48.
15.1.6 Signage. Signage shall be provided at the entrance of the queue or waiting line for each amusement ride to identify the type of access provided. Where an accessible unload area also serves as the accessible load area, signage shall be provided at the entrance to the queue or waiting line indicating the location of the accessible load and unload area.
15.1.7 Amusement Rides with Wheelchair Spaces. Amusement rides with wheelchair spaces shall comply with 15.1.7.
15.1.7.1 Floor or Ground Surface. The floor or ground surface of wheelchair spaces shall comply with 15.1.7.1.
15.1.7.1.1 Slope. The floor or ground surface of wheelchair spaces shall have a slope not steeper than 1:48 when in the load and unload position and shall be stable and firm.
15.1.7.1.2* Gaps. Floors of amusement rides with wheelchair spaces and floors of load and unload areas shall be coordinated so that, when the amusement rides are at rest in the load and unload position, the vertical difference between the floors shall be within plus or minus 5/8 inches (16 mm) and the horizontal gap shall be no greater than 3 inches (75 mm) under normal passenger load conditions. Appendix Note 15.1.7.1.2
EXCEPTION: Where compliance is not operationally or structurally feasible, ramps, bridge plates, or similar devices complying with the applicable requirements of 36 C.F.R. 1192.83(c) shall be provided.
15.1.7.2 Clearances. Clearances for wheelchair spaces shall comply with 15.1.7.2.
EXCEPTION 1: Where provided, securement devices shall be permitted to overlap required clearances.
EXCEPTION 2: Wheelchair spaces shall be permitted to be mechanically or manually repositioned.
EXCEPTION 3*: Wheelchair spaces shall not be required to comply with 4.4.2. Appendix Note 15.1.7.2 Exception 3
15.1.7.2.1 Width and Length. Wheelchair spaces shall provide a clear width of 30 inches (760 mm) minimum and a clear length of 48 inches (1220 mm) minimum measured to 9 inches (230 mm) minimum above the floor surface.
15.1.7.2.2* Wheelchair Spaces - Side Entry. Where the wheelchair space can be entered only from the side, the ride shall be designed to permit sufficient maneuvering space for individuals using a wheelchair or mobility device to enter and exit the ride. Appendix Note 15.1.7.2.2
15.1.7.2.3 Protrusions in Wheelchair Spaces. Objects are permitted to protrude a distance of 6 inches (150 mm) maximum along the front of the wheelchair space where located 9 inches (230 mm) minimum and 27 inches (685 mm) maximum above the floor or ground surface of the wheelchair space. Objects are permitted to protrude a distance of 25 inches (635 mm) maximum along the front of the wheelchair space, where located more than 27 inches (685 mm) above the floor or ground surface of the wheelchair space (see Fig. 58).
15.1.7.3 Openings. Where openings are provided to access wheelchair spaces on amusement rides, the entry shall provide a 32 inch (815 mm) minimum clear opening.
15.1.7.4 Approach. One side of the wheelchair space shall adjoin an accessible route.
15.1.7.5 Companion Seats. Where the interior width of the amusement ride is greater than 53 inches (1346 mm), seating is provided for more than one rider, and the wheelchair is not required to be centered within the amusement ride, a companion seat shall be provided for each wheelchair space.
15.1.7.5.1 Shoulder-to-Shoulder Seating. Where an amusement ride provides shoulder-to-shoulder seating, companion seats shall be shoulder-to-shoulder with the adjacent wheelchair space.
EXCEPTION: Where shoulder-to-shoulder companion seating is not operationally or structurally feasible, compliance with this provision shall be required to the maximum extent feasible.
15.1.8* Amusement Ride Seats Designed for Transfer. Amusement ride seats designed for transfer shall comply with 15.1.8 when positioned for loading and unloading. Appendix Note 15.1.8
15.1.8.1 Clear Floor or Ground Space. Clear floor or ground space complying with 4.2.4 shall be provided in the load and unload area adjacent to the amusement ride seats designed for transfer.
15.1.8.2 Transfer Height. The height of the amusement ride seats shall be 14 inches (355 mm) minimum to 24 inches (610mm) maximum measured above the load and unload surface.
15.1.8.3 Transfer Entry. Where openings are provided to transfer to amusement ride seats, the space shall be designed to provide clearance for transfer from a wheelchair or mobility device to the amusement ride seat.
15.1.8.4 Wheelchair Storage Space. Wheelchair storage spaces complying with 4.2.4 shall be provided in or adjacent to unload areas for each required amusement ride seat designed for transfer and shall not overlap any required means of egress or accessible route.
15.1.9* Transfer Devices for Use with Amusement Rides. Transfer devices for use with amusement rides shall comply with 15.1.9 when positioned for loading and unloading. Appendix Note 15.1.9
15.1.9.1 Clear Floor or Ground Space. Clear floor or ground space complying with 4.2.4 shall be provided in the load and unload area adjacent to the transfer devices.
15.1.9.2 Transfer Height. The height of the transfer device seats shall be 14 inches (355 mm) minimum to 24 inches (610 mm) maximum measured above the load and unload surface.
15.1.9.3 Wheelchair Storage Space. Wheelchair storage spaces complying with 4.2.4 shall be provided in or adjacent to unload areas for each required transfer device and shall not overlap any required means of egress or accessible route.
15.2.1 General. Newly designed or newly constructed and altered boating facilities shall comply with 15.2.
15.2.2* Accessible Route. Accessible routes, including gangways that are part of accessible routes, shall comply with 4.3. Appendix Note 15.2
EXCEPTION 1. Where an existing gangway or series of gangways is replaced or altered, an increase in the length of the gangway is not required to comply with 15.2.2, unless required by 4.1.6(2).
EXCEPTION 2. The maximum rise specified in 4.8.2 shall not apply to gangways.
EXCEPTION 3. Where the total length of the gangway or series of gangways serving as part of a required accessible route is at least 80 feet (24 m), the maximum slope specified in 4.8.2 shall not apply to the gangways.
EXCEPTION 4. In facilities containing fewer than 25 boat slips and where the total length of the gangway or series of gangways serving as part of a required accessible route is at least 30 feet (9140 mm), the maximum slope specified in 4.8.2 shall not apply to the gangways.
EXCEPTION 5. Where gangways connect to transition plates, landings specified by 4.8.4 shall not be required.
EXCEPTION 6. Where gangways and transition plates connect and are required to have handrails, handrail extensions specified by 4.8.5 shall not be required. Where handrail extensions are provided on gangways or transition plates, such extensions are not required to be parallel with the ground or floor surface.
EXCEPTION 7. The cross slope of gangways, transition plates, and floating piers that are part of an accessible route shall be 1:50 maximum measured in the static position.
EXCEPTION 8. Limited-use/limited-application elevators or platform lifts complying with 4.11 shall be permitted in lieu of gangways complying with 4.3.
15.2.3* Boat Slips: Minimum Number. Where boat slips are provided, boat slips complying with 15.2.5 shall be provided in accordance with Table 15.2.3. Where the number of boat slips is not identified, each 40 feet (12 m) of boat slip edge provided along the perimeter of the pier shall be counted as one boat slip for the purpose of this section. Appendix Note 15.2.3
Table 15.2.3
Total Boat Slips in Facility | Minimum Number of Required Accessible Boat Slips |
---|---|
1 to 25 | 1 |
26 to 50 | 2 |
51 to 100 | 3 |
101 to 150 | 4 |
151 to 300 | 5 |
301 to 400 | 6 |
401 to 500 | 7 |
501 to 600 | 8 |
601 to 700 | 9 |
701 to 800 | 10 |
801 to 900 | 11 |
901 to 1000 | 12 |
1001 and over | 12, plus 1 for each 100 or fraction thereof over 1000 |
15.2.3.1* Dispersion. Accessible boat slips shall be dispersed throughout the various types of slips provided. This provision does not require an increase in the minimum number of boat slips required to be accessible. Appendix Note 15.2.3.1
15.2.4* Boarding Piers at Boat Launch Ramps. Where boarding piers are provided at boat launch ramps, at least 5 percent, but not less than one of the boarding piers shall comply with 15.2.4 and shall be served by an accessible route complying with 4.3. Appendix Note 15.2.4
EXCEPTION 1. Accessible routes serving floating boarding piers shall be permitted to use exceptions 1, 2, 5, 6, 7, and 8 in 15.2.2.
EXCEPTION 2. Where the total length of the gangway or series of gangways serving as part of a required accessible route is at least 30 feet (9140 mm), the maximum slope specified by 4.8.2 shall not apply to the gangways.
EXCEPTION 3. Where the accessible route serving a floating boarding pier or skid pier is located within a boat launch ramp, the portion of the accessible route located within the boat launch ramp shall not be required to comply with 4.8.
15.2.4.1* Boarding Pier Clearances. The entire length of the piers shall comply with 15.2.5. Appendix Note 15.2.4.1
15.2.5* Accessible Boat Slips. Accessible boat slips shall comply with 15.2.5. Appendix Note 15.2.5
15.2.5.1 Clearances. Accessible boat slips shall be served by clear pier space 60 inches (1525 mm) wide minimum and at least as long as the accessible boat slips. Every 10 feet (3050 mm) maximum of linear pier edge serving the accessible boat slips shall contain at least one continuous clear opening 60 inches (1525 mm) minimum in width (see Fig. 59).
EXCEPTION 1: The width of the clear pier space shall be permitted to be 36 inches (915 mm) minimum for a length of 24 inches (610 mm) maximum, provided that multiple 36 inch (915mm) wide segments are separated by segments that are 60 inches (1525 mm) minimum clear in width and 60 inches (1525 mm) minimum clear in length. (see Fig. 60)
EXCEPTION 2: Edge protection 4 inches (100 mm) high maximum and 2 inches (51mm) deep maximum shall be permitted at the continuous clear openings. (see Fig. 61)
EXCEPTION 3*: In alterations to existing facilities, clear pier space shall be permitted to be located perpendicular to the boat slip and shall extend the width of the boat slip, where the facility has at least one boat slip complying with 15.2.5, and further compliance with 15.2.5 would result in a reduction in the number of boat slips available or result in a reduction of the widths of existing slips. Appendix Note 15.2.5.1
15.2.5.2 Cleats and Other Boat Securement Devices. Cleats and other boat securement devices shall not be required to comply with 4.27.3.
15.3 Fishing Piers and Platforms.
15.3.1 General. Newly designed or newly constructed and altered fishing piers and platforms shall comply with 15.3.
15.3.2 Accessible Route. Accessible routes, including gangways that are part of accessible routes, serving fishing piers and platforms shall comply with 4.3.
EXCEPTION 1: Accessible routes serving floating fishing piers and platforms shall be permitted to use exceptions 1, 2, 5, 6, 7, and 8 in 15.2.2.
EXCEPTION 2*: Where the total length of the gangway or series of gangways serving as part of a required accessible route is at least 30 feet (9140 mm), the maximum slope specified by 4.8.2 shall not apply to the gangways. Appendix Note .15.3
15.3.3 Railings. Where railings, guards, or handrails are provided, they shall comply with 15.3.3.
15.3.3.1* Edge Protection. Edge protection shall be provided and shall extend 2 inches (51mm) minimum above the ground or deck surface.Appendix Note 15.3.3.1
EXCEPTION: Where the railing, guard, or handrail is 34 inches (865 mm) or less above the ground or deck surface, edge protection shall not be required if the deck surface extends 12 inches (305 mm) minimum beyond the inside face of the railing. Toe clearance shall be 9 inches (230 mm) minimum above the ground or deck surface beyond the railing. Toe clearance shall be 30 inches (760 mm) minimum wide (see Fig. 62).
15.3.3.2 Height. At least 25 percent of the railings, guard, or handrail shall be 34 inches (865 mm) maximum above the ground or deck surface.
Exception: This provision shall not apply to that portion of a fishing pier or platform where a guard which complies with sections 1003.2.12.1 (Height) and 1003.2.12.2 (Opening limitations) of the International Building Code (incorporated by reference, see 2.3.2) is provided.
15.3.3.3* Dispersion. Railings required to comply with 15.3.3.2 shall be dispersed throughout a fishing pier or platform. Appendix Note 15.3.3.3
15.3.4 Clear Floor or Ground Space. At least one clear floor or ground space complying with 4.2.4 shall be provided where the railing height required by 15.3.3.2 is located. Where no railings are provided, at least one clear floor or ground space complying with 4.2.4 shall be provided.
15.3.5 Maneuvering Space. At least one maneuvering space complying with 4.2.3 shall be provided on the fishing pier or platform.
15.4.1 General. Newly designed or newly constructed and altered golf courses, driving ranges, practice putting greens, and practice teeing grounds shall comply with 15.4.
15.4.2* Accessible Route - Golf Course. An accessible route shall connect accessible elements and spaces within the boundary of the golf course. In addition, an accessible route shall connect the golf car rental area, bag drop areas, practice putting greens, accessible practice teeing grounds, course toilet rooms, and course weather shelters. The accessible route required by this section shall be 48 inches (1220 mm) minimum wide. Where handrails are provided, the accessible route shall be 60 inches (1525 mm) minimum wide. Appendix Note 15.4
EXCEPTION 1: A golf car passage complying with 15.4.7 shall be permitted in lieu of all or part of an accessible route required by 15.4.2.
EXCEPTION 2: The handrail requirements of 4.8.5 shall not apply to an accessible route located within the boundary of a golf course.
15.4.3* Accessible Route - Driving Ranges. An accessible route shall connect accessible teeing stations at driving ranges with accessible parking spaces and shall be 48 inches (1220 mm) wide minimum. Where handrails are provided, the accessible route shall be 60 inches (1525 mm) wide minimum. Appendix Note 15.4.3
EXCEPTION: A golf car passage complying with 15.4.7 shall be permitted in lieu of all or part of an accessible route required by 15.4.3.
15.4.4 Teeing Grounds. Teeing grounds shall comply with 15.4.4.
15.4.4.1 Number Required. Where one or two teeing grounds are provided for a hole, at least one teeing ground serving the hole shall comply with 15.4.4.3. Where three or more teeing grounds are provided for a hole, at least two teeing grounds shall comply with 15.4.4.3.
15.4.4.2 Forward Teeing Ground. The forward teeing ground shall be accessible.
EXCEPTION: In alterations, the forward teeing ground shall not be required to be accessible where compliance is not feasible due to terrain.
15.4.4.3 Teeing Grounds. Teeing grounds required by 15.4.4.1 and 15.4.4.2 shall be designed and constructed so that a golf car can enter and exit the teeing ground.
15.4.5 Teeing Stations at Driving Ranges and Practice Teeing Grounds. Where teeing stations or practice teeing grounds are provided, at least 5 percent of the practice teeing stations or practice teeing grounds, but not less than one, shall comply with 15.4.4.3.
15.4.6 Weather Shelters. Where weather shelters are provided on a golf course, each weather shelter shall have a clear floor or ground space 60 inches (1525 mm) minimum by 96 inches (2440 mm) minimum and shall be designed and constructed so that a golf car can enter and exit.
15.4.7 Golf Car Passage. Where curbs or other constructed barriers are provided along a golf car passage to prohibit golf cars from entering a fairway, openings at least 60 inches (1525 mm) wide shall be provided at intervals not to exceed 75 yds (69 m).
15.4.7.1 Width. The golf car passage shall be 48 inches (1220 mm) minimum wide.
15.4.8 Putting Greens. Each putting green shall be designed and constructed so that a golf car can enter and exit the putting green.
15.5* Miniature Golf.Appendix Note 15.5
15.5.1 General. Newly designed or newly constructed and altered miniature golf courses shall comply with 15.5.
15.5.2 Accessible Holes. At least fifty percent of holes on a miniature golf course shall comply with 15.5.3 through 15.5.5 and shall be consecutive.
EXCEPTION: One break in the sequence of consecutive accessible holes shall be permitted, provided that the last hole on a miniature golf course is the last hole in the sequence.
15.5.3* Accessible Route. An accessible route complying with 4.3 shall connect the course entrance with the first accessible hole and the start of play area on each accessible hole. The course shall be configured to allow exit from the last accessible hole to the course exit or entrance and shall not require travel back through other holes. Appendix Note 15.5.3
15.5.3.1 Accessible Route - Located On the Playing Surface. Where the accessible route is located on the playing surface of the accessible hole, exceptions 1-5 shall be permitted.
EXCEPTION 1: Where carpet is provided, the requirements of 4.5.3 shall not apply.
EXCEPTION 2: Where the accessible route intersects the playing surface of a hole, a 1 inch (26 mm) maximum curb shall be permitted for a width of 32 inches (815 mm) minimum.
EXCEPTION 3: A slope of 1:4 maximum for a 4 inch (100 mm) maximum rise shall be permitted.
EXCEPTION 4: Landings required by 4.8.4 shall be permitted to be 48 inches (1220 mm) in length minimum. Landing size required by 4.8.4(3) shall be permitted to be 48 inches (1220 mm) minimum by 60 inches (1525 mm) minimum. Landing slopes shall be permitted to be 1:20 maximum.
EXCEPTION 5: Handrail requirements of 4.8.5 shall not apply.
15.5.3.2 Accessible Route - Adjacent to the Playing Surface. Where the accessible route is located adjacent to the playing surface, the requirements of 4.3 shall apply.
15.5.4 Start of Play Areas. Start of play areas at holes required to comply with 15.5.2 shall have a slope not steeper than 1:48 and shall be 48 inches (1220 mm) minimum by 60 inches (1525 mm) minimum.
15.5.5* Golf Club Reach Range. All areas within accessible holes where golf balls rest shall be within 36 inches (915 mm) maximum of an accessible route having a maximum slope of 1:20 for 48 inches (1220 mm) in length (see Fig. 63). Appendix Note 15.5.5
15.6.1* General. Newly designed and newly constructed play areas for children ages 2 and over and altered portions of existing play areas shall comply with the applicable provisions of section 4, except as modified or otherwise provided by this section. Where separate play areas are provided within a site for specified age groups, each play area shall comply with this section. Where play areas are designed or constructed in phases, this section shall be applied so that when each successive addition is completed, the entire play area complies with all the applicable provisions of this section. Appendix Note 15.6
EXCEPTION 1: Play areas located in family child care facilities where the proprietor actually resides shall not be required to comply with 15.6.
EXCEPTION 2: Where play components are relocated in existing play areas for the purpose of creating safe use zones, 15.6 shall not apply, provided that the ground surface is not changed or extended for more than one use zone.
EXCEPTION 3: Where play components are altered and the ground surface is not altered, the ground surface shall not be required to comply with 15.6.7, unless required by 4.1.6(2).
EXCEPTION 4: The provisions of 15.6.1 through 15.6.7 shall not apply to amusement attractions.
EXCEPTION 5: Compliance with 4.4 shall not be required within the boundary of the play area.
EXCEPTION 6: Stairs shall not be required to comply with 4.9.
15.6.2* Ground Level Play Components. Ground level play components shall be provided in the number and types required by 15.6.2.1 and 15.6.2.2. Ground level play components that are provided to comply with 15.6.2.1 shall be permitted to satisfy the number required by 15.6.2.2, provided that the minimum required types of play components are provided. Where more than one ground level play component required by 15.6.2.1 and 15.6.2.2 is provided, the play components shall be integrated in the play area. Appendix Note 15.6.2
15.6.2.1 General. Where ground level play components are provided, at least one of each type provided shall be located on an accessible route complying with 15.6.4 and shall comply with 15.6.6.
15.6.2.2 Additional Number and Types. Where elevated play components are provided, ground level play components shall be provided in accordance with Table 15.6.2.2. Ground level play components required by 15.6.2.2 shall be located on an accessible route complying with 15.6.4 and shall comply with 15.6.6.
EXCEPTION: If at least 50 percent of the elevated play components are connected by a ramp, and if at least 3 of the elevated play components connected by the ramp are different types of play components, 15.6.2.2 shall not apply.
Table 15.6.2.2 Number and Types of Ground Level Play Components
Required to be on Accessible Route
Number of Elevated Play Components Provided | Minimum Number of Ground Level Play Components Required to be on Accessible Route | Minimum Number of Different Types of Ground Level Play Components Required to be on Accessible Route |
---|---|---|
1 | Not applicable | Not applicable |
2 to 4 | 1 | 1 |
5 to 7 | 2 | 2 |
8 to 10 | 3 | 3 |
11 to 13 | 4 | 3 |
14 to 16 | 5 | 3 |
17 to 19 | 6 | 3 |
20 to 22 | 7 | 4 |
23 to 25 | 8 | 4 |
More than 25 | 8 plus 1 for each additional 3 over 25, or fraction thereof | 5 |
15.6.3* Elevated Play Components. Where elevated play components are provided, at least 50 percent shall be located on an accessible route complying with 15.6.4. Elevated play components connected by a ramp shall comply with 15.6.6. Appendix Note 15.6.3
15.6.4* Accessible Routes. At least one accessible route complying with 4.3, as modified by 15.6.4, shall be provided. Appendix Note 15.6.4
EXCEPTION 1: Transfer systems complying with 15.6.5 shall be permitted to connect elevated play components, except where 20 or more elevated play components are provided, no more than 25 percent of the elevated play components shall be permitted to be connected by transfer systems.
EXCEPTION 2: Where transfer systems are provided, an elevated play component shall be permitted to connect to another elevated play component in lieu of an accessible route.
EXCEPTION 3: Platform lifts (wheelchair lifts) complying with 4.11 and applicable State or local codes shall be permitted to be used as part of an accessible route.
15.6.4.1 Location. Accessible routes shall be located within the boundary of the play area and shall connect ground level play components as required by 15.6.2.1 and 15.6.2.2 and elevated play components as required by 15.6.3, including entry and exit points of the play components.
15.6.4.2 Protrusions. Objects shall not protrude into ground level accessible routes at or below 80 in (2030 mm) above the ground or floor surface.
15.6.4.3 Clear Width. The clear width of accessible routes within play areas shall comply with 15.6.4.3.
15.6.4.3.1 Ground Level. The clear width of accessible routes at ground level shall be 60 in (1525 mm) minimum.
EXCEPTION 1: In play areas less than 1,000 square feet, the clear width of accessible routes shall be permitted to be 44 in (1120 mm) minimum, provided that at least one turning space complying with 4.2.3 is provided where the restricted accessible route exceeds 30 feet (9.14 m) in length.
EXCEPTION 2: The clear width of accessible routes shall be permitted to be 36 in (915 mm) minimum for a distance of 60 in (1525 mm) maximum, provided that multiple reduced width segments are separated by segments that are 60 in (1525 mm) minimum in width and 60 in (1525 mm) minimum in length.
15.6.4.3.2 Elevated. The clear width of accessible routes connecting elevated play components shall be 36 in (915 mm).
EXCEPTION 1: The clear width of accessible routes connecting elevated play components shall be permitted to be reduced to 32 in (815 mm) minimum for a distance of 24 in (610 mm) maximum provided that reduced width segments are separated by segments that are 48 in (1220 mm) minimum in length and 36 in (915 mm) minimum in width.
EXCEPTION 2: The clear width of transfer systems connecting elevated play components shall be permitted to be 24 in (610 mm) minimum.
15.6.4.4 Ramp Slope and Rise. Any part of an accessible route with a slope greater than 1:20 shall be considered a ramp and shall comply with 4.8, as modified by 15.6.4.4.
15.6.4.4.1 Ground Level. The maximum slope for ramps connecting ground level play components within the boundary of a play area shall be 1:16.
15.6.4.4.2 Elevated. Where a ramp connects elevated play components, the maximum rise of any ramp run shall be 12 in (305 mm).
15.6.4.5 Handrails. Where required on ramps, handrails shall comply with 4.8.5, as modified by 15.6.4.5.
EXCEPTION 1: Handrails shall not be required at ramps located within ground level use zones.
EXCEPTION 2: Handrail extensions shall not be required.
15.6.4.5.1 Handrail Gripping Surface. Handrails shall have a diameter or width of 0.95 in (24.1 mm) minimum to 1.55 in (39.4 mm) maximum, or the shape shall provide an equivalent gripping surface.
15.6.4.5.2 Handrail Height. The top of handrail gripping surfaces shall be 20 in (510 mm) minimum to 28 in (710 mm) maximum above the ramp surface.
15.6.5* Transfer Systems. Where transfer systems are provided to connect elevated play components, the transfer systems shall comply with 15.6.5. Appendix Note 15.6.5
15.6.5.1 Transfer Platforms. Transfer platforms complying with 15.6.5.1 shall be provided where transfer is intended to be from a wheelchair or other mobility device (see Fig. 64).
15.6.5.1.1 Size. Platforms shall have a level surface 14 in (355 mm) minimum in depth and 24 in (610 mm) minimum in width.
15.6.5.1.2 Height. Platform surfaces shall be 11 in (280 mm) minimum to 18 in (455 mm) maximum above the ground or floor surface.
15.6.5.1.3 Transfer Space. A level space complying with 4.2.4 shall be centered on the 48 in (1220 mm) long dimension parallel to the 24 in (610 mm) minimum long unobstructed side of the transfer platform.
15.6.5.1.4 Transfer Supports. A means of support for transferring shall be provided.
15.6.5.2 Transfer Steps. Transfer steps complying with 15.6.5.2 shall be provided where movement is intended from a transfer platform to a level with elevated play components required to be located on an accessible route (see Fig. 65).
15.6.5.2.1 Size. Transfer steps shall have a level surface 14 in (355 mm) minimum in depth and 24 in (610 mm) minimum in width.
15.6.5.2.2 Height. Each transfer step shall be 8 in (205 mm) maximum high.
15.6.5.2.3 Transfer Supports. A means of support for transferring shall be provided.
15.6.6* Play Components. Ground level play components located on accessible routes and elevated play components connected by ramps shall comply with 15.6.6. Appendix Note 15.6.6
15.6.6.1 Maneuvering Space. Maneuvering space complying with 4.2.3 shall be provided on the same level as the play components. Maneuvering space shall have a slope not steeper than 1:48 in all directions. The maneuvering space required for a swing shall be located immediately adjacent to the swing.
15.6.6.2 Clear Floor or Ground Space. Clear floor or ground space shall be provided at the play components and shall be 30 in (760 mm) by 48 in (1220 mm) minimum. Clear floor or ground space shall have a slope not steeper than 1:48 in all directions.
15.6.6.3 Play Tables: Height and Clearances. Where play tables are provided, knee clearance 24 in (610 mm) high minimum, 17 in deep (430 mm) minimum, and 30 in (760 mm) wide minimum shall be provided. The tops of rims, curbs, or other obstructions shall be 31 in (785 mm) high maximum.
EXCEPTION: Play tables designed or constructed primarily for children ages 5 and under shall not be required to provide knee clearance if the clear floor or ground space required by 15.6.6.2 is arranged for a parallel approach and if the rim surface is 31 in (785 mm) high maximum.
15.6.6.4 Entry Points and Seats: Height. Where a play component requires transfer to the entry point or seat, the entry point or seat shall be 11 in (280 mm) minimum and 24 in (610mm) maximum above the clear floor or ground space.
EXCEPTION: The entry point of a slide shall not be required to comply with 15.6.6.4.
15.6.6.5 Transfer Supports. Where a play component requires transfer to the entry point or seat, a means of support for transferring shall be provided.
15.6.7* Ground Surfaces. Ground surfaces along accessible routes, clear floor or ground spaces, and maneuvering spaces within play areas shall comply with 4.5.1 and 15.6.7. Appendix Note 15.6.7
15.6.7.1 Accessibility. Ground surfaces shall comply with ASTM F 1951 Standard Specification for Determination of Accessibility of Surface Systems Under and Around Playground Equipment (incorporated by reference, see 2.3.2). Ground surfaces shall be inspected and maintained regularly and frequently to ensure continued compliance with ASTM F 1951.
15.6.7.2 Use Zones. If located within use zones, ground surfaces shall comply with ASTM F 1292 Standard Specification for Impact Attenuation of Surface Systems Under and Around Playground Equipment (incorporated by reference, see 2.3.2).
15.6.8 Soft Contained Play Structures. Soft contained play structures shall comply with 15.6.8.
15.6.8.1 Accessible Routes to Entry Points. Where three or fewer entry points are provided, at least one entry point shall be located on an accessible route. Where four or more entry points are provided, at least two entry points shall be located on an accessible route. Accessible routes shall comply with 4.3.
EXCEPTION: Transfer systems complying with 15.6.5 or platform lifts (wheelchair lifts) complying with 4.11 and applicable State or local codes shall be permitted to be used as part of an accessible route.
15.7 Exercise Equipment and Machines, Bowling Lanes, and Shooting Facilities.
15.7.1 General. Newly designed or newly constructed and altered exercise equipment and machines, bowling lanes, and shooting facilities shall comply with 15.7.
15.7.2* Exercise Equipment and Machines. At least one of each type of exercise equipment and machines shall be provided with clear floor or ground space complying with 4.2.4 and shall be served by an accessible route. Clear floor or ground space shall be positioned for transfer or for use by an individual seated in a wheelchair. Clear floor or ground spaces for more than one piece of equipment shall be permitted to overlap. Appendix Note 15.7
15.7.3 Bowling Lanes. Where bowling lanes are provided, at least 5 percent, but not less than one of each type of lane shall be served by an accessible route.
15.7.4* Shooting Facilities. Where fixed firing positions are provided at a site, at least 5 percent, but not less than one, of each type of firing position shall comply with 15.7.4.1. Appendix Note 15.7.4
15.7.4.1 Fixed Firing Position. Fixed firing positions shall contain a 60 inch (1525 mm) diameter space and shall have a slope not steeper than 1:48.
15.8 Swimming Pools, Wading Pools, and Spas.
15.8.1 General. Newly designed or newly constructed and altered swimming pools, wading pools, and spas shall comply with 15.8.
EXCEPTION: An accessible route shall not be required to serve raised diving boards or diving platforms.
15.8.2* Swimming Pools. At least two accessible means of entry shall be provided for each public use and common use swimming pool. The primary means of entry shall comply with 15.8.5 (Swimming Pool Lifts) or 15.8.6 (Sloped Entries). The secondary means of entry shall comply with one of the following: 15.8.5 (Swimming Pool Lifts), 15.8.6 (Sloped Entries), 15.8.7 (Transfer Walls), 15.8.8 (Transfer Systems), or 15.8.9 (Pool Stairs). Appendix Note 15.8
EXCEPTION 1*: Where a swimming pool has less than 300 linear feet (91 m) of swimming pool wall, at least one accessible means of entry shall be provided and shall comply with 15.8.5 (Swimming Pool Lifts) or 15.8.6 (Sloped Entries). Appendix Note 15.8.2
EXCEPTION 2: Wave action pools, leisure rivers, sand bottom pools, and other pools where user access is limited to one area, shall provide at least one accessible means of entry that complies with 15.8.5 (Swimming Pool Lifts), 15.8.6 (Sloped Entries), or 15.8.8 (Transfer Systems).
EXCEPTION 3: Catch pools shall be required only to be served by an accessible route that connects to the pool edge.
15.8.3 Wading Pools. At least one accessible means of entry complying with 15.8.6 (Sloped Entries) shall be provided for each wading pool.
15.8.4 Spas. At least one accessible means of entry complying with 15.8.5 (Swimming Pool Lifts), 15.8.7 (Transfer Walls), or 15.8.8 (Transfer Systems) shall be provided for each spa.
EXCEPTION: Where spas are provided in a cluster, 5 percent, but not less than one, in each cluster shall be accessible.
15.8.5* Pool Lifts. Pool lifts shall comply with 15.8.5. Appendix Note 15.8.5
15.8.5.1 Pool Lift Location. Pool lifts shall be located where the water level does not exceed 48 inches (1220 mm).
EXCEPTION 1: Where the entire pool depth is greater than 48 inches (1220 mm), 15.8.5.1 shall not apply.
EXCEPTION 2: Where multiple pool lift locations are provided, no more than one shall be required to be located in an area where the water level does not exceed 48 inches (1220 mm).
15.8.5.2 Seat Location. In the raised position, the centerline of the seat shall be located over the deck and 16 inches (405 mm) minimum from the edge of the pool. The deck surface between the centerline of the seat and the pool edge shall have a slope not greater than 1:48 (see Fig. 68).
15.8.5.3 Clear Deck Space. On the side of the seat opposite the water, a clear deck space shall be provided parallel with the seat. The space shall be 36 inches (915 mm) wide minimum and shall extend forward 48 inches (1220 mm) minimum from a line located 12 inches (305mm) behind the rear edge of the seat. The clear deck space shall have a slope not greater than 1:48 (see Fig. 69).
15.8.5.4 Seat Height. The height of the lift seat shall be designed to allow a stop at 16 inches (405 mm) minimum to 19 inches (485 mm) maximum measured from the deck to the top of the seat surface when in the raised (load) position (see Fig. 70).
15.8.5.5 Seat Width. The seat shall be 16 inches (405 mm) minimum wide.
15.8.5.6* Footrests and Armrests. Footrests shall be provided and shall move with the seat. If provided, armrests positioned opposite the water shall be removable or shall fold clear of the seat when the seat is in the raised (load) position. Appendix Note 15.8.5.6
EXCEPTION: Footrests shall not be required on pool lifts provided in spas.
15.8.5.7* Operation. The lift shall be capable of unassisted operation from both the deck and water levels. Controls and operating mechanisms shall be unobstructed when the lift is in use and shall comply with 4.27.4. Appendix Note 15.8.5.7
15.8.5.8 Submerged Depth. The lift shall be designed so that the seat will submerge to a water depth of 18 inches (455 mm) minimum below the stationary water level (see Fig. 71).
15.8.5.9* Lifting Capacity. Single person pool lifts shall have a minimum weight capacity of 300 lbs. (136 kg) and be capable of sustaining a static load of at least one and a half times the rated load. Appendix Note 15.8.5.9
15.8.6 Sloped Entries. Sloped entries designed to provide access into the water shall comply with 15.8.6.
15.8.6.1* Sloped Entries. Sloped entries shall comply with 4.3, except as modified below. Appendix Note 15.8.6.1
EXCEPTION: Where sloped entries are provided, the surfaces shall not be required to be slip resistant.
15.8.6.2 Submerged Depth. Sloped entries shall extend to a depth of 24 inches (610 mm) minimum to 30 inches (760 mm) maximum below the stationary water level. Where landings are required by 4.8, at least one landing shall be located 24 inches (610 mm) minimum to 30 inches (760 mm) maximum below the stationary water level (see Fig. 72).
EXCEPTION: In wading pools, the sloped entry and landings, if provided, shall extend to the deepest part of the wading pool.
15.8.6.3* Handrails. Handrails shall be provided on both sides of the sloped entry and shall comply with 4.8.5. The clear width between handrails shall be 33 inches (840 mm) minimum and 38 inches (965 mm) maximum (see Fig. 73). Appendix Note 15.8.6.3
EXCEPTION 1: Handrail extensions specified by 4.8.5 shall not be required at the bottom landing serving a sloped entry.
EXCEPTION 2: Where a sloped entry is provided for wave action pools, leisure rivers, sand bottom pools, and other pools where user access is limited to one area, the required clear width between handrails shall not apply.
EXCEPTION 3: The handrail requirements of 4.8.5 and 15.8.6.3 shall not be required on sloped entries in wading pools.
15.8.7 Transfer Walls.Transfer walls shall comply with 15.8.7.
15.8.7.1 Clear Deck Space. A clear deck space of 60 inches (1525 mm) minimum by 60 inches (1525 mm) minimum with a slope not steeper than 1:48 shall be provided at the base of the transfer wall. Where one grab bar is provided, the clear deck space shall be centered on the grab bar. Where two grab bars are provided, the clear deck space shall be centered on the clearance between the grab bars (see Fig. 74).
15.8.7.2 Height. The height of the transfer wall shall be 16 inches (405 mm) minimum to 19 inches (485 mm) maximum measured from the deck (see Fig. 75).
15.8.7.3 Wall Depth and Length. The depth of the transfer wall shall be 12 inches (305 mm) minimum to 16 inches (405 mm) maximum. The length of the transfer wall shall be 60 inches (1525 mm) minimum and shall be centered on the clear deck space (see Fig. 76).
15.8.7.4 Surface. Surfaces of transfer walls shall not be sharp and shall have rounded edges.
15.8.7.5 Grab Bars. At least one grab bar shall be provided on the transfer wall. Grab bars shall be perpendicular to the pool wall and shall extend the full depth of the transfer wall. The top of the gripping surface shall be 4 inches (100 mm) minimum and 6 inches (150 mm) maximum above walls. Where one grab bar is provided, clearance shall be 24 inches (610 mm) minimum on both sides of the grab bar. Where two grab bars are provided, clearance between grab bars shall be 24 inches (610 mm) minimum. Grab bars shall comply with 4.26 (see Fig. 77).
15.8.8 Transfer Systems. Transfer systems shall comply with 15.8.8.
15.8.8.1 Transfer Platform. A transfer platform 19 inches (485 mm) minimum clear depth by 24 inches (610 mm) minimum clear width shall be provided at the head of each transfer system (see Fig. 78).
15.8.8.2 Clear Deck Space. A clear deck space of 60 inches (1525 mm) minimum by 60 inches (1525 mm) minimum with a slope not steeper than 1:48 shall be provided at the base of the transfer platform surface and shall be centered along a 24 inch (610 mm) minimum unobstructed side of the transfer platform (see Fig. 79).
15.8.8.3 Height. The height of the transfer platform shall comply with 15.8.7.2.
15.8.8.4* Transfer Steps. Transfer step height shall be 8 inches (205 mm) maximum. Transfer steps shall extend to a water depth of 18 inches (455 mm) minimum below the stationary water level (see Fig. 80). Appendix Note 15.8.8.4
15.8.8.5 Surface. The surface of the transfer system shall not be sharp and shall have rounded edges.
15.8.8.6 Size. Each transfer step shall have a tread clear depth of 14 inches (355 mm) minimum and 17 inches (430 mm) maximum and shall have a tread clear width of 24 inches (610 mm) minimum (see Fig. 81).
15.8.8.7* Grab Bars. At least one grab bar on each transfer step and the transfer platform, or a continuous grab bar serving each transfer step and the transfer platform, shall be provided. Where provided, the top of the gripping surface shall be 4 inches (100 mm) minimum and 6 inches (150 mm) maximum above each step and transfer platform. Where a continuous grab bar is provided, the top of the gripping surface shall be 4 inches (100 mm) minimum and 6 inches (150 mm) maximum above the step nosing and transfer platform. Grab bars shall comply with 4.26 and be located on at least one side of the transfer system. The grab bar located at the transfer platform shall not obstruct transfer (see Fig. 82). Appendix Note 15.8.8.7
15.8.9 Pool Stairs. Pool stairs shall comply with 15.8.9.
15.8.9.1 Pool Stairs. Pool stairs shall comply with 4.9, except as modified below.
15.8.9.2 Handrails. The width between handrails shall be 20 inches (510 mm) minimum and 24 inches (610 mm) maximum. Handrail extensions required by 4.9.4 shall not be required at the bottom landing serving a pool stair.
15.8.10* Water Play Components. Where water play components are provided, the provisions of 15.6 and 4.3 shall apply, except as modified or otherwise provided in this section. Appendix Note 15.8.10
EXCEPTION 1: Where the surface of the accessible route, clear floor or ground spaces and maneuvering spaces connecting play components is submerged, the provisions of 15.6 and 4.3 for cross slope, running slope, and surface shall not apply.
EXCEPTION 2: Transfer systems complying with 15.6.5 shall be permitted to be used in lieu of ramps to connect elevated play components.
APPENDIX
This appendix contains materials of an advisory nature and provides additional information that should help the reader to understand the minimum requirements of the guidelines or to design buildings or facilities for greater accessibility. The paragraph numbers correspond to the sections or paragraphs of the guideline to which the material relates and are therefore not consecutive (for example, A4.2.1 contains additional information relevant to 4.2.1). Sections of the guidelines for which additional material appears in this appendix have been indicated by an asterisk. Nothing in this appendix shall in any way obviate any obligation to comply with the requirements of the guidelines itself.
A2.0 General.
Specific examples of equivalent facilitation are found in the following sections:
4.1.6(3)(c) Elevators in Alterations
4.31.9 Text Telephones
7.2 Sales and Service Counters, Teller Windows, Information Counters
9.1.4 Classes of Sleeping Accommodations
9.2.2(6)(d) Requirements for Accessible Units, Sleeping Rooms, and Suites
A3.0 Miscellaneous Instructions and Definitions.
A4.0 Accessible Elements and Spaces: Scope and Technical Requirements.
A4.1.1 Application.
A4.1.1(3) Areas Used Only by Employees as Work Areas. Where there are a series of individual work stations of the same type (e.g., laboratories, service counters, ticket booths), 5%, but not less than one, of each type of work station should be constructed so that an individual with disabilities can maneuver within the work stations. Rooms housing individual offices in a typical office building must meet the requirements of the guidelines concerning doors, accessible routes, etc. but do not need to allow for maneuvering space around individual desks. Modifications required to permit maneuvering within the work area may be accomplished as a reasonable accommodation to individual employees with disabilities under Title I of the ADA. Consideration should also be given to placing shelves in employee work areas at a convenient height for accessibility or installing commercially available shelving that is adjustable so that reasonable accommodations can be made in the future.
If work stations are made accessible they should comply with the applicable provisions of 4.2 through 4.35.
A4.1.2 Accessible Sites and Exterior Facilities: New Construction.
A4.1.2(2)(b) Court Sports: The accessible route must be direct and connect both sides of the court without requiring players on one side of the court to traverse through or around another court to get to the other side of the court.A4.1.2(4)
A4.1.2(4) Exception 1. An accessible route is required to connect to the boundary of the area of sport activity. The term "area of sport activity" distinguishes that portion of a room or space where the play or practice of a sport occurs from adjacent areas. Examples of areas of sport activity include: basketball courts, baseball fields, running tracks, bowling lanes, skating rinks, and the area surrounding a piece of gymnastic equipment. While the size of an area of sport activity may vary from sport to sport, each includes only the space needed to play. The following example is provided for additional clarification.
Example. Boundary lines define the field where a football game is played. A safety border is also provided around the field. The game may temporarily be played in the space between the boundary lines and the safety border when players are pushed out of bounds or momentum carries them forward while receiving a pass. In the game of football, the space between the boundary line and the safety border is used to play the game. This space and the football field are included in the area of sport activity.
A4.1.2(4) Exception 2. Public circulation routes where animals may also travel, such as in petting zoos and passageways alongside animal pens in State fairs, are not eligible for the exception.
A4.1.2(5)(e) Valet parking is not always usable by individuals with disabilities. For instance, an individual may use a type of vehicle controls that render the regular controls inoperable or the driver's seat in a van may be removed. In these situations, another person cannot park the vehicle. It is recommended that some self-parking spaces be provided at valet parking facilities for individuals whose vehicles cannot be parked by another person and that such spaces be located on an accessible route to the entrance of the facility.
A4.1.3 Accessible Buildings: New Construction.
A4.1.3(1)(b) Court Sports: The accessible route must be direct and connect both sides of the court without requiring players on one side of the court to traverse through or around another court to get to the other side of the court.
A4.1.3(3) Exception 1. An accessible route is required to connect to the boundary of the area of sport activity. The term "area of sport activity" distinguishes that portion of a room or space where the play or practice of a sport occurs from adjacent areas. Examples of areas of sport activity include: basketball courts, baseball fields, running tracks, bowling lanes, skating rinks, and the area surrounding a piece of gymnastic equipment. While the size of an area of sport activity may vary from sport to sport, each includes only the space needed to play. The following example is provided for additional clarification.
Example. Boundary lines define the field where a football game is played. A safety border is also provided around the field. The game may temporarily be played in the space between the boundary lines and the safety border when players are pushed out of bounds or momentum carries them forward while receiving a pass. In the game of football, the space between the boundary line and the safety border is used to play the game. This space and the football field are included in the area of sport activity.
A4.1.3(3) Exception 2. Public circulation routes where animals may also travel, such as in petting zoos and passageways alongside animal pens in State fairs, are not eligible for the exception.
A4.1.3(5) Only passenger elevators are covered by the accessibility provisions of 4.10. Materials and equipment hoists, freight elevators not intended for passenger use, dumbwaiters, and construction elevators are not covered by these guidelines. If a building is exempt from the elevator requirement, it is not necessary to provide a platform lift or other means of vertical access in lieu of an elevator.
Under Exception 4, platform lifts are allowed where existing conditions make it impractical to install a ramp or elevator. Such conditions generally occur where it is essential to provide access to small raised or lowered areas where space may not be available for a ramp. Examples include, but are not limited to, raised pharmacy platforms, commercial offices raised above a sales floor, or radio and news booths.
A4.1.3(9) Supervised automatic sprinkler systems have built in signals for monitoring features of the system such as the opening and closing of water control valves, the power supplies for needed pumps, water tank levels, and for indicating conditions that will impair the satisfactory operation of the sprinkler system. Because of these monitoring features, supervised automatic sprinkler systems have a high level of satisfactory performance and response to fire conditions.
A4.1.3(10) If an odd number of drinking fountains is provided on a floor, the requirement in 4.1.3(10)(b) may be met by rounding down the odd number to an even number and calculating 50% of the even number. When more than one drinking fountain on a floor is required to comply with 4.15, those fountains should be dispersed to allow wheelchair users convenient access. For example, in a large facility such as a convention center that has water fountains at several locations on a floor, the accessible water fountains should be located so that wheelchair users do not have to travel a greater distance than other people to use a drinking fountain.
A4.1.3(12)(c) Different types of lockers may include full-size and half-size lockers, as well as those specifically designed for storage of various sports equipment.
A4.1.3(17)(b) In addition to the requirements of section 4.1.3(17)(b), the installation of additional volume controls is encouraged. Volume controls may be installed on any telephone.
A4.1.3(19)(a) Readily removable or folding seating units may be installed in lieu of providing an open space for wheelchair users. Folding seating units are usually two fixed seats that can be easily folded into a fixed center bar to allow for one or two open spaces for wheelchair users when necessary. These units are more easily adapted than removable seats which generally require the seat to be removed in advance by the facility management.
Either a sign or a marker placed on seating with removable or folding arm rests is required by this section. Consideration should be given for ensuring identification of such seats in a darkened theater. For example, a marker which contrasts (light on dark or dark on light) and which also reflects light could be placed on the side of such seating so as to be visible in a lighted auditorium and also to reflect light from a flashlight.
A4.1.6 Accessible Buildings: Alterations.
A4.1.6(1)(h) When an entrance is being altered, it is preferable that those entrances being altered be made accessible to the extent feasible.
A4.1.7 Accessible Buildings: Historic Preservation.
A4.1.7(1) The Department of Justice's regulations implementing titles II and III of the ADA require alternative methods of access where compliance with the special access provisions in 4.1.7(3) would threaten or destroy the historic significance of a qualified historic facility. The requirement for public facilities subject to title II is provided at 28 C.F.R. 35.154(b) and the requirement for private facilities subject to title III is provided at 28 C.F.R. 36.405(b).
A4.2 Space Allowances and Reach Ranges.
A4.2.1 Wheelchair Passage Width.
(1) Space Requirements for Wheelchairs. Many persons who use wheelchairs need a 30 in (760 mm) clear opening width for doorways, gates, and the like, when the latter are entered head-on. If the person is unfamiliar with a building, if competing traffic is heavy, if sudden or frequent movements are needed, or if the wheelchair must be turned at an opening, then greater clear widths are needed. For most situations, the addition of an inch of leeway on either side is sufficient. Thus, a minimum clear width of 32 in (815 mm) will provide adequate clearance. However, when an opening or a restriction in a passageway is more than 24 in (610 mm) long, it is essentially a passageway and must be at least 36 in (915 mm) wide.
(2) Space Requirements for Use of Walking Aids. Although people who use walking aids can maneuver through clear width openings of 32 in (815 mm), they need 36 in (915 mm) wide passageways and walks for comfortable gaits. Crutch tips, often extending down at a wide angle, are a hazard in narrow passageways where they might not be seen by other pedestrians. Thus, the 36 in (915 mm) width provides a safety allowance both for the person with a disability and for others.
(3) Space Requirements for Passing. Able-bodied persons in winter clothing, walking straight ahead with arms swinging, need 32 in (815 mm) of width, which includes 2 in (50 mm) on either side for sway, and another 1 in (25 mm) tolerance on either side for clearing nearby objects or other pedestrians. Almost all wheelchair users and those who use walking aids can also manage within this 32 in (815 mm) width for short distances. Thus, two streams of traffic can pass in 64 in (1625 mm) in a comfortable flow. Sixty inches (1525 mm) provides a minimum width for a somewhat more restricted flow. If the clear width is less than 60 in (1525 mm), two wheelchair users will not be able to pass but will have to seek a wider place for passing. Forty-eight inches (1220 mm) is the minimum width needed for an ambulatory person to pass a nonambulatory or semi-ambulatory person. Within this 48 in (1220 mm) width, the ambulatory person will have to twist to pass a wheelchair user, a person with a service animal, or a semi-ambulatory person. There will be little leeway for swaying or missteps (see Fig. A1).
A4.2.3 Wheelchair Turning Space. These guidelines specify a minimum space of 60 in (1525 mm) diameter or a 60 in by 60 in (1525 mm by 1525 mm) T-shaped space for a pivoting 180-degree turn of a wheelchair. This space is usually satisfactory for turning around, but many people will not be able to turn without repeated tries and bumping into surrounding objects. The space shown in Fig. A2 will allow most wheelchair users to complete U-turns without difficulty.
A4.2.4 Clear Floor or Ground Space for Wheelchairs. The wheelchair and user shown in Fig. A3 represent typical dimensions for a large adult male. The space requirements in this guideline are based upon maneuvering clearances that will accommodate most wheelchairs. Fig. A3 provides a uniform reference for design not covered by this guideline.
A4.2.5 & A4.2.6 Reach. Reach ranges for persons seated in wheelchairs may be further clarified by Fig. A3(a). These drawings approximate in the plan view the information shown in Fig. 4, 5, and 6.
The following table provides guidance on reach ranges for children according to age where building elements such as coat hooks, lockers, or controls and operating mechanisms are designed for use primarily by children. These dimensions apply to either forward or side reaches. Accessible elements, controls, and operating mechanisms designed for adult use or children over age 12 can be located outside these ranges but must be within the adult reach ranges required by 4.2.5 and 4.2.6.
Children's Reach Ranges
Forward or Side Reach | Ages 3 and 4 | Ages 5 through 8 | Ages 9 through 12 |
---|---|---|---|
High (maximum) | 36 in (915 mm) | 40 in (1015 mm) | 44 in (1120 mm) |
Low (minimum) | 20 in (510 mm) | 18 in (455 mm) | 16 in (405 mm) |
(1) Travel Distances. Many people with mobility impairments can move at only very slow speeds; for many, traveling 200 ft (61 m) could take about 2 minutes. This assumes a rate of about 1.5 ft/s (455 mm/s) on level ground. It also assumes that the traveler would move continuously. However, on trips over 100 ft (30 m), disabled people are apt to rest frequently, which substantially increases their trip times. Resting periods of 2 minutes for every 100 ft (30 m) can be used to estimate travel times for people with severely limited stamina. In inclement weather, slow progress and resting can greatly increase a disabled person's exposure to the elements.
(2) Sites. Level, indirect routes or those with running slopes lower than 1:20 can sometimes provide more convenience than direct routes with maximum allowable slopes or with ramps.
A4.3.10 Egress. Because people with disabilities may visit, be employed or be a resident in any building, emergency management plans with specific provisions to ensure their safe evacuation also play an essential role in fire safety and life safety.
A4.3.11.3 Stairway Width. A 48 in (1220 mm) wide exit stairway is needed to allow assisted evacuation (e.g., carrying a person in a wheelchair) without encroaching on the exit path for ambulatory persons.
A4.3.11.4 Two-way Communication. It is essential that emergency communication not be dependent on voice communications alone because the safety of people with hearing or speech impairments could be jeopardized. The visible signal requirement could be satisfied with something as simple as a button in the area of rescue assistance that lights, indicating that help is on the way, when the message is answered at the point of entry.
A4.4.1 General. Service animals are trained to recognize and avoid hazards. However, most people with severe impairments of vision use the long cane as an aid to mobility. The two principal cane techniques are the touch technique, where the cane arcs from side to side and touches points outside both shoulders; and the diagonal technique, where the cane is held in a stationary position diagonally across the body with the cane tip touching or just above the ground at a point outside one shoulder and the handle or grip extending to a point outside the other shoulder. The touch technique is used primarily in uncontrolled areas, while the diagonal technique is used primarily in certain limited, controlled, and familiar environments. Cane users are often trained to use both techniques.
Potential hazardous objects are noticed only if they fall within the detection range of canes (see Fig. A4). Visually impaired people walking toward an object can detect an overhang if its lowest surface is not higher than 27 in (685 mm). When walking alongside protruding objects, they cannot detect overhangs. Since proper cane and service animal techniques keep people away from the edge of a path or from walls, a slight overhang of no more than 4 in (100 mm) is not hazardous.
A4.5 Ground and Floor Surfaces.
A4.5.1 General. People who have difficulty walking or maintaining balance or who use crutches, canes, or walkers, and those with restricted gaits are particularly sensitive to slipping and tripping hazards. For such people, a stable and regular surface is necessary for safe walking, particularly on stairs. Wheelchairs can be propelled most easily on surfaces that are hard, stable, and regular. Soft loose surfaces such as shag carpet, loose sand or gravel, wet clay, and irregular surfaces such as cobblestones can significantly impede wheelchair movement.
Slip resistance is based on the frictional force necessary to keep a shoe heel or crutch tip from slipping on a walking surface under conditions likely to be found on the surface. While the dynamic coefficient of friction during walking varies in a complex and non-uniform way, the static coefficient of friction, which can be measured in several ways, provides a close approximation of the slip resistance of a surface. Contrary to popular belief, some slippage is necessary to walking, especially for persons with restricted gaits; a truly "non-slip" surface could not be negotiated.
The Occupational Safety and Health Administration recommends that walking surfaces have a static coefficient of friction of 0.5. A research project sponsored by the Architectural and Transportation Barriers Compliance Board (Access Board) conducted tests with persons with disabilities and concluded that a higher coefficient of friction was needed by such persons. A static coefficient of friction of 0.6 is recommended for accessible routes and 0.8 for ramps.
It is recognized that the coefficient of friction varies considerably due to the presence of contaminants, water, floor finishes, and other factors not under the control of the designer or builder and not subject to design and construction guidelines and that compliance would be difficult to measure on the building site. Nevertheless, many common building materials suitable for flooring are now labeled with information on the static coefficient of friction. While it may not be possible to compare one product directly with another, or to guarantee a constant measure, builders and designers are encouraged to specify materials with appropriate values. As more products include information on slip resistance, improved uniformity in measurement and specification is likely. The Access Board's advisory guidelines on Slip Resistant Surfaces provides additional information on this subject.
Cross slopes on walks and ground or floor surfaces can cause considerable difficulty in propelling a wheelchair in a straight line.
A4.5.3 Carpet. Much more needs to be done in developing both quantitative and qualitative criteria for carpeting (i.e., problems associated with texture and weave need to be studied). However, certain functional characteristics are well established. When both carpet and padding are used, it is desirable to have minimum movement (preferably none) between the floor and the pad and the pad and the carpet which would allow the carpet to hump or warp. In heavily trafficked areas, a thick, soft (plush) pad or cushion, particularly in combination with long carpet pile, makes it difficult for individuals in wheelchairs and those with other ambulatory disabilities to get about. Firm carpeting can be achieved through proper selection and combination of pad and carpet, sometimes with the elimination of the pad or cushion, and with proper installation. Carpeting designed with a weave that causes a zig-zag effect when wheeled across is strongly discouraged.
A4.6 Parking and Passenger Loading Zones.
A4.6.3 Parking Spaces. The increasing use of vans with side- mounted lifts or ramps by persons with disabilities has necessitated some revisions in specifications for parking spaces and adjacent access aisles. The typical accessible parking space is 96 in (2440 mm) wide with an adjacent 60 in (1525 mm) access aisle. However, this aisle does not permit lifts or ramps to be deployed and still leave room for a person using a wheelchair or other mobility aid to exit the lift platform or ramp. In tests conducted with actual lift/van/wheelchair combinations, (under a Board-sponsored Accessible Parking and Loading Zones Project) researchers found that a space and aisle totaling almost 204 in (5180 mm) wide was needed to deploy a lift and exit conveniently. The "van accessible" parking space required by these guidelines provides a 96 in (2440 mm) wide space with a 96 in (2440 mm) adjacent access aisle which is just wide enough to maneuver and exit from a side mounted lift. If a 96 in (2440 mm) access aisle is placed between two spaces, two "van accessible" spaces are created. Alternatively, if the wide access aisle is provided at the end of a row (an area often unused), it may be possible to provide the wide access aisle without additional space (see Fig. A5(a)).
A sign is needed to alert van users to the presence of the wider aisle, but the space is not intended to be restricted only to vans.
"Universal" Parking Space Design. An alternative to the provision of a percentage of spaces with a wide aisle, and the associated need to include additional signage, is the use of what has been called the "universal" parking space design. Under this design, all accessible spaces are 132 in (3350 mm) wide with a 60 in (1525 mm) access aisle (see Fig. A5(b)). One advantage to this design is that no additional signage is needed because all spaces can accommodate a van with a side-mounted lift or ramp. Also, there is no competition between cars and vans for spaces since all spaces can accommodate either. Furthermore, the wider space permits vehicles to park to one side or the other within the 132 in (3350 mm) space to allow persons to exit and enter the vehicle on either the driver or passenger side, although, in some cases, this would require exiting or entering without a marked access aisle.
An essential consideration for any design is having the access aisle level with the parking space. Since a person with a disability, using a lift or ramp, must maneuver within the access aisle, the aisle cannot include a ramp or sloped area. The access aisle must be connected to an accessible route to the appropriate accessible entrance of a building or facility. The parking access aisle must either blend with the accessible route or have a curb ramp complying with 4.7. Such a curb ramp opening must be located within the access aisle boundaries, not within the parking space boundaries. Unfortunately, many facilities are designed with a ramp that is blocked when any vehicle parks in the accessible space. Also, the required dimensions of the access aisle cannot be restricted by planters, curbs or wheel stops.
A4.6.4 Signage. Signs designating parking places for disabled people can be seen from a driver's seat if the signs are mounted high enough above the ground and located at the front of a parking space.
A4.6.5 Vertical Clearance. High-top vans, which disabled people or transportation services often use, require higher clearances in parking garages than automobiles.
A4.8.1 General. Ramps are essential for wheelchair users if elevators or lifts are not available to connect different levels. However, some people who use walking aids have difficulty with ramps and prefer stairs.
A4.8.2 Slope and Rise. Ramp slopes between 1:16 and 1:20 are preferred. The ability to manage an incline is related to both its slope and its length. Wheelchair users with disabilities affecting their arms or with low stamina have serious difficulty using inclines. Most ambulatory people and most people who use wheelchairs can manage a slope of 1:16. Many people cannot manage a slope of 1:12 for 30 ft (9 m).
A4.8.4 Landings. Level landings are essential toward maintaining an aggregate slope that complies with these guidelines. A ramp landing that is not level causes individuals using wheelchairs to tip backward or bottom out when the ramp is approached.
A4.8.5 Handrails. The requirements for stair and ramp handrails in this guideline are for adults. When children are principal users in a building or facility (e.g. elementary schools), a second set of handrails at an appropriate height can assist them and aid in preventing accidents. A maximum height of 28 inches measured to the top of the gripping surface from the ramp surface or stair nosing is recommended for handrails designed for children. Sufficient vertical clearance between upper and lower handrails (9 inches minimum) should be provided to help prevent entrapment.
A4.9.1 Minimum Number. Only interior and exterior stairs connecting levels that are not connected by an elevator, ramp, or other accessible means of vertical access have to comply with 4.9.
A4.9.4 Handrails. See A4.8.5.
A4.10.6 Door Protective and Reopening Device. The required door reopening device would hold the door open for 20 seconds if the doorway remains obstructed. After 20 seconds, the door may begin to close. However, if designed in accordance with ASME A17.1-1990, the door closing movement could still be stopped if a person or object exerts sufficient force at any point on the door edge.
A4.10.7 Door and Signal Timing for Hall Calls. This paragraph allows variation in the location of call buttons, advance time for warning signals, and the door-holding period used to meet the time requirement.
A4.10.12 Car Controls. Industry-wide standardization of elevator control panel design would make all elevators significantly more convenient for use by people with severe visual impairments. In many cases, it will be possible to locate the highest control on elevator panels within 48 in (1220 mm) from the floor.
A4.10.13 Car Position Indicators. A special button may be provided that would activate the audible signal within the given elevator only for the desired trip, rather than maintaining the audible signal in constant operation.
A4.10.14 Emergency Communications. A device that requires no handset is easier to use by people who have difficulty reaching. Also, small handles on handset compartment doors are not usable by people who have difficulty grasping.
Ideally, emergency two-way communication systems should provide both voice and visual display intercommunication so that persons with hearing impairments and persons with vision impairments can receive information regarding the status of a rescue. A voice intercommunication system cannot be the only means of communication because it is not accessible to people with speech and hearing impairments. While a voice intercommunication system is not required, at a minimum, the system should provide both an audio and visual indication that a rescue is on the way.
A4.11 Platform Lifts (Wheelchair Lifts).
A4.11.2 Other Requirements. Inclined stairway chairlifts, and inclined and vertical platform lifts (wheelchair lifts) are available for short-distance, vertical transportation of people with disabilities. Care should be taken in selecting lifts as some lifts are not equally suitable for use by both wheelchair users and semi-ambulatory individuals.
A4.12.1 General. Windows intended to be operated by occupants in accessible spaces should comply with 4.12.
A4.12.2 Window Hardware. Windows requiring pushing, pulling, or lifting to open (for example, double-hung, sliding, or casement and awning units without cranks) should require no more than 5 lbf (22.2 N) to open or close. Locks, cranks, and other window hardware should comply with 4.27.
A4.13.8 Thresholds at Doorways. Thresholds and surface height changes in doorways are particularly inconvenient for wheelchair users who also have low stamina or restrictions in arm movement because complex maneuvering is required to get over the level change while operating the door.
A4.13.9 Door Hardware. Some disabled persons must push against a door with their chair or walker to open it. Applied kickplates on doors with closers can reduce required maintenance by withstanding abuse from wheelchairs and canes. To be effective, they should cover the door width, less approximately 2 in (51 mm), up to a height of 16 in (405 mm) from its bottom edge and be centered across the width of the door.
A4.13.10 Door Closers. Closers with delayed action features give a person more time to maneuver through doorways. They are particularly useful on frequently used interior doors such as entrances to toilet rooms.
A4.13.11 Door Opening Force. Although most people with disabilities can exert at least 5 lbf (22.2N), both pushing and pulling from a stationary position, a few people with severe disabilities cannot exert 3 lbf (13.13N). Although some people cannot manage the allowable forces in this guideline and many others have difficulty, door closers must have certain minimum closing forces to close doors satisfactorily. Forces for pushing or pulling doors open are measured with a push-pull scale under the following conditions:
(1) Hinged doors: Force applied perpendicular to the door at the door opener or 30 in (760 mm) from the hinged side, whichever is farther from the hinge.
(2) Sliding or folding doors: Force applied parallel to the door at the door pull or latch.
(3) Application of force: Apply force gradually so that the applied force does not exceed the resistance of the door. In high-rise buildings, air-pressure differentials may require a modification of this specification in order to meet the functional intent.
A4.13.12 Automatic Doors and Power-Assisted Doors. Sliding automatic doors do not need guard rails and are more convenient for wheelchair users and visually impaired people to use. If slowly opening automatic doors can be reactivated before their closing cycle is completed, they will be more convenient in busy doorways.
A4.15 Drinking Fountains and Water Coolers.
A4.15.2 Spout Height. Two drinking fountains, mounted side by side or on a single post, are usable by people with disabilities and people who find it difficult to bend over.
A4.16.3 Height. Height preferences for toilet seats vary considerably among disabled people. Higher seat heights may be an advantage to some ambulatory disabled people, but are often a disadvantage for wheelchair users and others. Toilet seats 18 in (455 mm) high seem to be a reasonable compromise. Thick seats and filler rings are available to adapt standard fixtures to these requirements.
A4.16.4 Grab Bars.Fig. A6(a) and (b) show the diagonal and side approaches most commonly used to transfer from a wheelchair to a water closet. Some wheelchair users can transfer from the front of the toilet while others use a 90-degree approach. Most people who use the two additional approaches can also use either the diagonal approach or the side approach.
A4.16.5 Flush Controls. Flush valves and related plumbing can be located behind walls or to the side of the toilet, or a toilet seat lid can be provided if plumbing fittings are directly behind the toilet seat. Such designs reduce the chance of injury and imbalance caused by leaning back against the fittings. Flush controls for tank-type toilets have a standardized mounting location on the left side of the tank (facing the tank). Tanks can be obtained by special order with controls mounted on the right side. If administrative authorities require flush controls for flush valves to be located in a position that conflicts with the location of the rear grab bar, then that bar may be split or shifted toward the wide side of the toilet area.
A4.16.7 Water Closets for Children. The requirements in 4.16.7 are to be followed where the exception for children's water closets in 4.16.1 is utilized. Use of this exception is optional since these guidelines do not require water closets or other building elements to be designed according to children's dimensions. The following table provides additional guidance in applying the specifications for water closets for children according to the age group served and reflects the differences in the size, stature, and reach ranges of children 3 through 12. The specifications chosen should correspond to the age of the primary user group. The specifications of one age group should be applied consistently in the installation of a water closet and related elements.
Table A3
Specifications for Water Closets Serving Children Ages 3 through 12
Ages 3 and 4 | Ages 5 through 8 | Ages 9 through 12 | |
---|---|---|---|
(1) Water Closet Centerline | 12 in (305 mm) |
12 to 15 in (305 to 380 mm) |
15 to 18 in (380 to 455 mm) |
(2) Toilet Seat Height | 11 to 12 in (280 to 305 mm) |
12 to 15 in (305 to 380 mm) |
15 to 17 in (380 to 430 mm) |
(3) Grab Bar Height | 18 to 20 in (455 to 510 mm) |
20 to 25 in (510 to 635 mm) |
25 to 27 in (635 to 685 mm) |
(4) Dispenser Height | 14 in (355 mm) |
14 to 17 in (355 to 430 mm) |
17 to 19 in (430 to 485 mm) |
A4.17.3 Size and Arrangement. This section requires use of the 60 in (1525 mm) standard stall (Figure 30(a)) and permits the 36 in (915 mm) or 48 in (1220 mm) wide alternate stall (Figure 30(b)) only in alterations where provision of the standard stall is technically infeasible or where local plumbing codes prohibit reduction in the number of fixtures. A standard stall provides a clear space on one side of the water closet to enable persons who use wheelchairs to perform a side or diagonal transfer from the wheelchair to the water closet. However, some persons with disabilities who use mobility aids such as walkers, canes or crutches are better able to use the two parallel grab bars in the 36 in (915 mm) wide alternate stall to achieve a standing position.
In large toilet rooms, where six or more toilet stalls are provided, it is therefore required that a 36 in (915 mm) wide stall with parallel grab bars be provided in addition to the standard stall required in new construction. The 36 in (915 mm) width is necessary to achieve proper use of the grab bars; wider stalls would position the grab bars too far apart to be easily used and narrower stalls would position the grab bars too close to the water closet. Since the stall is primarily intended for use by persons using canes, crutches and walkers, rather than wheelchairs, the length of the stall could be conventional. The door, however, must swing outward to ensure a usable space for people who use crutches or walkers.
A4.17.5 Doors. To make it easier for wheelchair users to close toilet stall doors, doors can be provided with closers, spring hinges, or a pull bar mounted on the inside surface of the door near the hinge side.
A4.17.7 Toilet Stalls for Children. See A4.16.7.
A4.19 Lavatories and Mirrors.
A4.19.6 Mirrors. If mirrors are to be used by both ambulatory people and wheelchair users, then they must be at least 74 in (1880 mm) high at their topmost edge. A single full length mirror can accommodate all people, including children. Clear floor space for a forward approach 30 by 48 inches (760 mm by 1220 mm) should be provided in front of full length mirrors. Doors should not swing into this clear floor space. Mirrors provided above lavatories designed for children should be mounted with the bottom edge of the reflecting surface no higher than 34 inches (865 mm) above the finish floor or at the lowest mounting height permitted by fixtures and related elements.
A4.21.1 General. Shower stalls that are 36 in by 36 in (915 mm by 915 mm) wide provide additional safety to people who have difficulty maintaining balance because all grab bars and walls are within easy reach. Seated people use the walls of 36 in by 36 in (915 mm by 915 mm) showers for back support. Shower stalls that are 60 in (1525 mm) wide and have no curb may increase usability of a bathroom by wheelchair users because the shower area provides additional maneuvering space.
A4.22.3 Clear Floor Space. In many small facilities, single- user restrooms may be the only facilities provided for all building users. In addition, the guidelines allow the use of "unisex" or "family" accessible toilet rooms in alterations when technical infeasibility can be demonstrated. Experience has shown that the provision of accessible "unisex" or single-user restrooms is a reasonable way to provide access for wheelchair users and any attendants, especially when attendants are of the opposite sex. Since these facilities have proven so useful, it is often considered advantageous to install a "unisex" toilet room in new facilities in addition to making the multi-stall restrooms accessible, especially in shopping malls, large auditoriums, and convention centers.
Figure 28 (section 4.16) provides minimum clear floor space dimensions for toilets in accessible "unisex" toilet rooms. The dotted lines designate the minimum clear floor space, depending on the direction of approach, required for wheelchair users to transfer onto the water closet. The dimensions of 48 in (1220 mm) and 60 in (1525 mm), respectively, correspond to the space required for the two common transfer approaches utilized by wheelchair users (see Fig. A6). It is important to keep in mind that the placement of the lavatory to the immediate side of the water closet will preclude the side approach transfer illustrated in Figure A6(b). To accommodate the side transfer, the space adjacent to the water closet must remain clear of obstruction for 42 in (1065 mm) from the centerline of the toilet (Figure 28) and the lavatory must not be located within this clear space. A turning circle or T-turn, the clear floor space at the lavatory, and maneuvering space at the door must be considered when determining the possible wall locations. A privacy latch or other accessible means of ensuring privacy during use should be provided at the door.
RECOMMENDATIONS:
1. In new construction, accessible single-user restrooms may be desirable in some situations because they can accommodate a wide variety of building users. However, they cannot be used in lieu of making the multi-stall toilet rooms accessible as required.
2. Where strict compliance to the guidelines for accessible toilet facilities is technically infeasible in the alteration of existing facilities, accessible "unisex" toilets are a reasonable alternative.
3. In designing accessible single-user restrooms, the provisions of adequate space to allow a side transfer will provide accommodation to the largest number of wheelchair users.
A4.23 Bathrooms, Bathing Facilities, and Shower Rooms.
A4.23.3 Clear Floor Space.Figure A7 shows two possible configurations of a toilet room with a roll-in shower. The specific shower shown is designed to fit exactly within the dimensions of a standard bathtub. Since the shower does not have a lip, the floor space can be used for required maneuvering space. This would permit a toilet room to be smaller than would be permitted with a bathtub and still provide enough floor space to be considered accessible. This design can provide accessibility in facilities where space is at a premium (i.e., hotels and medical care facilities). The alternate roll-in shower (Fig. 57b) also provides sufficient room for the "T-turn" and does not require plumbing to be on more than one wall.
A4.23.9 Medicine Cabinets. Other alternatives for storing medical and personal care items are very useful to disabled people. Shelves, drawers, and floor-mounted cabinets can be provided within the reach ranges of disabled people.
A4.25.3 Height. For guidance on children's reach ranges, see A4.2.5 & 4.2.6.
A4.26 Handrails, Grab Bars, and Tub and Shower Seats.
A4.26.1 General. Many disabled people rely heavily upon grab bars and handrails to maintain balance and prevent serious falls. Many people brace their forearms between supports and walls to give them more leverage and stability in maintaining balance or for lifting. The grab bar clearance of 1-1/2 in (38 mm) required in this guideline is a safety clearance to prevent injuries resulting from arms slipping through the openings. It also provides adequate gripping room.
A4.26.2 Size and Spacing of Grab Bars and Handrails. This specification allows for alternate shapes of handrails as long as they allow an opposing grip similar to that provided by a circular section of 1-1/4 in to 1-1/2 in (32 mm to 38 mm).
A4.27 Controls and Operating Mechanisms.
A4.27.3 Height. Fig. A8 further illustrates mandatory and advisory control mounting height provisions for typical equipment.
Electrical receptacles installed to serve individual appliances and not intended for regular or frequent use by building occupants are not required to be mounted within the specified reach ranges. Examples would be receptacles installed specifically for wall-mounted clocks, refrigerators, and microwave ovens. For guidance on children's reach ranges, see A4.2.5 & 4.2.6.
A4.28.2 Audible Alarms. Audible emergency signals must have an intensity and frequency that can attract the attention of individuals who have partial hearing loss. People over 60 years of age generally have difficulty perceiving frequencies higher than 10,000 Hz. An alarm signal which has a periodic element to its signal, such as single stroke bells (clang-pause-clang- pause), hi-low (up-down-up-down) and fast whoop (on-off-on-off) are best. Avoid continuous or reverberating tones. Select a signal which has a sound characterized by three or four clear tones without a great deal of "noise" in between.
A4.28.3 Visual Alarms. The specifications in this section do not preclude the use of zoned or coded alarm systems.
A4.28.4 Auxiliary Alarms. Locating visual emergency alarms in rooms where persons who are deaf may work or reside alone can ensure that they will always be warned when an emergency alarm is activated. To be effective, such devices must be located and oriented so that they will spread signals and reflections throughout a space or raise the overall light level sharply. However, visual alarms alone are not necessarily the best means to alert sleepers. A study conducted by Underwriters Laboratory (UL) concluded that a flashing light more than seven times brighter was required (110 candela v. 15 candela, at the same distance) to awaken sleepers as was needed to alert awake subjects in a normal daytime illuminated room.
For hotel and other rooms where people are likely to be asleep, a signal-activated vibrator placed between mattress and box spring or under a pillow was found by UL to be much more effective in alerting sleepers. Many readily available devices are sound- activated so that they could respond to an alarm clock, clock radio, wake-up telephone call or room smoke detector. Activation by a building alarm system can either be accomplished by a separate circuit activating an auditory alarm which would, in turn, trigger the vibrator or by a signal transmitted through the ordinary 110-volt outlet. Transmission of signals through the power line is relatively simple and is the basis of common, inexpensive remote light control systems sold in many department and electronic stores for home use. So-called "wireless" intercoms operate on the same principal.
A4.29.2 Detectable Warnings on Walking Surfaces. The material used to provide contrast should contrast by at least 70%. Contrast in percent is determined by:
Contrast = [(B1 - B2)/B1] x 100
where B1 = light reflectance value (LRV) of the lighter area and B2 = light reflectance value (LRV) of the darker area.
Note that in any application both white and black are never absolute; thus, B1 never equals 100 and B2 is always greater than 0.
A4.30.1 General. In building complexes where finding locations independently on a routine basis may be a necessity (for example, college campuses), tactile maps or prerecorded instructions can be very helpful to visually impaired people. Several maps and auditory instructions have been developed and tested for specific applications. The type of map or instructions used must be based on the information to be communicated, which depends highly on the type of buildings or users.
Landmarks that can easily be distinguished by visually impaired individuals are useful as orientation cues. Such cues include changes in illumination level, bright colors, unique patterns, wall murals, location of special equipment or other architectural features.
Many people with disabilities have limitations in movement of their heads and reduced peripheral vision. Thus, signage positioned perpendicular to the path of travel is easiest for them to notice. People can generally distinguish signage within an angle of 30 degrees to either side of the centerlines of their faces without moving their heads.
A4.30.2 Character Proportion. The legibility of printed characters is a function of the viewing distance, character height, the ratio of the stroke width to the height of the character, the contrast of color between character and background, and print font. The size of characters must be based upon the intended viewing distance. A severely nearsighted person may have to be much closer to recognize a character of a given size than a person with normal visual acuity.
A4.30.4 Raised and Brailled Characters and Pictorial Symbol Signs (Pictograms). The standard dimensions for literary Braille are as follows:
Dot diameter: .059 in.
Inter-dot spacing: .090 in.
Horizontal separation between cells: .241 in.
Vertical separation between cells: .395 in.
Raised borders around signs containing raised characters may make them confusing to read unless the border is set far away from the characters. Accessible signage with descriptive materials about public buildings, monuments, and objects of cultural interest may not provide sufficiently detailed and meaningful information. Interpretive guides, audio tape devices, or other methods may be more effective in presenting such information.
A4.30.5 Finish and Contrast. An eggshell finish (11 to 19 degree gloss on 60 degree glossimeter) is recommended. Research indicates that signs are more legible for persons with low vision when characters contrast with their background by at least 70 percent. Contrast in percent shall be determined by:
Contrast = [(B1 - B2)/B1] x 100
where B1 = light reflectance value (LRV) of the lighter area and B2 = light reflectance value (LRV) of the darker area.
Note that in any application both white and black are never absolute; thus, B1 never equals 100 and B2 is always greater than 0.
The greatest readability is usually achieved through the use of light-colored characters or symbols on a dark background.
A4.30.7 Symbols of Accessibility for Different Types of Listening Systems. Paragraph 4 of this section requires signage indicating the availability of an assistive listening system. An appropriate message should be displayed with the international symbol of access for hearing loss since this symbol conveys general accessibility for people with hearing loss. Some suggestions are:
INFRARED ASSISTIVE LISTENING SYSTEM AVAILABLE ----PLEASE ASK---- AUDIO LOOP IN USE TURN T-SWITCH FOR BETTER HEARING ----OR ASK FOR HELP---- FM ASSISTIVE LISTENING SYSTEM AVAILABLE ----PLEASE ASK----
The symbol may be used to notify persons of the availability of other auxiliary aids and services such as: real time captioning, captioned note taking, sign language interpreters, and oral interpreters.
A4.30.8 Illumination Levels. Illumination levels on the sign surface shall be in the 100 to 300 lux range (10 to 30 footcandles) and shall be uniform over the sign surface. Signs shall be located such that the illumination level on the surface of the sign is not significantly exceeded by the ambient light or visible bright lighting source behind or in front of the sign.
A4.31.3 Mounting Height. In localities where the dial-tone first system is in operation, calls can be placed at a coin telephone through the operator without inserting coins. The operator button is located at a height of 46 in (1170 mm) if the coin slot of the telephone is at 54 in (1370 mm). A generally available public telephone with a coin slot mounted lower on the equipment would allow universal installation of telephones at a height of 48 in (1220 mm) or less to all operable parts.
A4.31.9(1) A public text telephone (TTY) may be an integrated text telephone (TTY) pay telephone unit or a conventional portable text telephone (TTY) that is permanently affixed within, or adjacent to, the telephone enclosure. In order to be usable with a pay telephone, a text telephone (TTY) which is not a single integrated text telephone (TTY) pay telephone unit will require a shelf large enough (10 in (255 mm) wide by 10 in (255 mm) deep with a 6 in (150 mm) vertical clearance minimum) to accommodate the device, an electrical outlet, and a power cord.
A4.31.9(3) Movable or portable text telephones (TTYs) may be used to provide equivalent facilitation. A text telephone (TTY) should be readily available so that a person using it may access the text telephone (TTY) easily and conveniently. As currently designed, pocket-type text telephones (TTYs) for personal use do not accommodate a wide range of users. Such devices would not be considered substantially equivalent to conventional text telephones (TTYs). However, in the future as technology develops this could change.
A4.32 Fixed or Built-in Seating and Tables.
A4.32.4 Height of Tables or Counters. Different types of work require different table or counter heights for comfort and optimal performance. Light detailed work such as writing requires a table or counter close to elbow height for a standing person. Heavy manual work such as rolling dough requires a counter or table height about 10 in (255 mm) below elbow height for a standing person. This principle of high/low table or counter heights also applies for seated persons; however, the limiting condition for seated manual work is clearance under the table or counter.
Table A1 shows convenient counter heights for seated persons. The great variety of heights for comfort and optimal performance indicates a need for alternatives or a compromise in height if people who stand and people who sit will be using the same counter area.
Table A1 Convenient Heights of Tables and Counters for Seated People1
Conditions of Use | Short Women | Tall Men | ||
Seated in a wheelchair: | in | mm | in | mm |
Manual work: | ||||
Desk or removeable armrests | 26 | 660 | 30 | 760 |
Fixed, full size armrests2 | 323 | 815 | 323 | 815 |
Light, detailed work: | ||||
Desk or removable armrests | 29 | 735 | 34 | 865 |
Fixed, full size armrests 2 | 323 | 815 | 34 | 865 |
Seated in a 16-in. (405 mm) high chair: | ||||
Manual work | 26 | 660 | 27 | 685 |
Light, detailed work | 28 | 710 | 31 | 785 |
(1) All dimensions are based on a work-surface thickness of 1 1/2 in (38 mm) and a clearance of 1 1/2 in (38 mm) between legs and the underside of a work surface.
(2) This type of wheelchair arm does not interfere with the positioning of a wheelchair under a work surface.
(3) This dimension is limited by the height of the armrests: a lower height would be preferable. Some people in this group prefer lower work surfaces, which require positioning the wheelchair back from the edge of the counter.
A4.33.2 Size of Wheelchair Locations. Spaces large enough for two wheelchairs allow people who are coming to a performance together to sit together.
A4.33.3 Placement of Wheelchair Locations. The location of wheelchair areas can be planned so that a variety of positions within the seating area are provided. This will allow choice in viewing and price categories.
Building/life safety codes set minimum distances between rows of fixed seats with consideration of the number of seats in a row, the exit aisle width and arrangement, and the location of exit doors. "Continental" seating, with a greater number of seats per row and a commensurate increase in row spacing and exit doors, facilitates emergency egress for all people and increases ease of access to mid-row seats especially for people who walk with difficulty. Consideration of this positive attribute of "continental" seating should be included along with all other factors in the design of fixed seating areas.
Removable armrests are recommended on fixed companion seats provided in assembly areas in amusement facilities. This provides the option for an individual using a wheelchair or other mobility device to transfer into a seat where motion and other effects may be provided as part of the amusement experience.
A4.33.6 Placement of Listening Systems. A distance of 50 ft (15 m) allows a person to distinguish performers' facial expressions.
A4.33.7 Types of Listening Systems. An assistive listening system appropriate for an assembly area for a group of persons or where the specific individuals are not known in advance, such as a playhouse, lecture hall or movie theater, may be different from the system appropriate for a particular individual provided as an auxiliary aid or as part of a reasonable accommodation. The appropriate device for an individual is the type that individual can use, whereas the appropriate system for an assembly area will necessarily be geared toward the "average" or aggregate needs of various individuals. A listening system that can be used from any seat in a seating area is the most flexible way to meet this specification. Earphone jacks with variable volume controls can benefit only people who have slight hearing loss and do not help people who use hearing aids. At the present time, magnetic induction loops are the most feasible type of listening system for people who use hearing aids equipped with "T- coils," but people without hearing aids or those with hearing aids not equipped with inductive pick-ups cannot use them without special receivers. Radio frequency systems can be extremely effective and inexpensive. People without hearing aids can use them, but people with hearing aids need a special receiver to use them as they are presently designed. If hearing aids had a jack to allow a by-pass of microphones, then radio frequency systems would be suitable for people with and without hearing aids. The Department of Justice's regulations implementing titles II and III of the ADA require public accommodations to provide appropriate auxiliary aids and services to ensure effective communication. See 28 C.F.R. 35.160, 28 C.F.R. 35.164, and 28 C.F.R. 36.303. Where assistive listening systems are used to provide effective communication, the Department of Justice considers it essential that a portion of receivers be compatible with hearing aids.
Some listening systems may be subject to interference from other equipment and feedback from hearing aids of people who are using the systems. Such interference can be controlled by careful engineering design that anticipates feedback sources in the surrounding area.
Table A2, shows some of the advantages and disadvantages of different types of assistive listening systems. In addition, the Access Board has published a pamphlet on Assistive Listening Systems which lists demonstration centers across the country where technical assistance can be obtained in selecting and installing appropriate systems. The state of New York has also adopted a detailed technical specification which may be useful.
Table A2
Summary of Assistive Listening Devices and Systems
COMPARISON OF LARGE AREA ASSISTIVE LISTENING SYSTEMS | |||
---|---|---|---|
System Description | Advantages | Disadvantages | Typical Applications |
FM BROADCAST (40 frequencies available on narrow band transmission systems. Ten frequencies available on wideband transmission systems.) Transmitters: FM base station or personal transmitter broadcasts signal to listening area. Receiver: Pocket size with: a)earphone(s), or b)headset, or c)induction neck-loop or silhouette coil coupling to personal hearing aid equipped with telecoil, or d)direct audio input (DAI) to personal hearing aid. |
Highly portable when used with body-worn, personal transmitter. Easy to install. May be used separately or integrated with existing PA-systems. Multiple frequencies allow for use by different groups within same area (e.g., multi-language translation). |
Signal spill-over to adjacent rooms/ listening areas (can prevent interference by using different transmission frequencies for each room/listening area). Choose infrared if privacy is essential. Receivers required for everyone. Requires administration and maintenance of receivers. Susceptible to electrical interference when used with induction neck-loop/silhouette (Provision of DAI audio shoes and cords is impractical for public applications). Some systems more susceptible to radio wave interference and signal drift than others. |
Service counters Outdoor guided tours Tour busses Meeting rooms Conference rooms Auditoriums Classrooms Courtrooms Churches and Temples Theaters Museums Theme parks Arenas Sport stadiums Retirement/nursing homes Hospitals |
INFRARED LIGHT Transmitter: Amplifier drives emitter panel(s) covering listening area. Receivers: Under-chin or Pendant type receiver with: a) headset, or b) earphone(s), or c) induction neck-loop or silhouette coil coupling to personal hearing aid equipped with telecoil, or d) direct audio input (DAI) to personal hearing aid. |
Unlike induction or FM transmission, IR transmission does not travel through walls or other solid surfaces. Insures confidentiality. Infrared receivers compatible with most infrared emitters. May be used separately or integrated with existing PA-systems. Can be used for multi- language translation (must use special multi-frequency receivers). |
Receivers required for everyone. Requires administration and maintenance of receivers. Ineffective in direct sunlight. Careful installation required to insure entire listening area will receive IR signal. Susceptible to electrical interference when used with induction neckloop/silhouette (Provision of DAI audio shoes and cords is impractical for public applications). Lifetime of emitters varies with company. Historical buildings may pose installation problems. |
Indoor service counters Meetings requiring confidentiality Meeting rooms Conference rooms Auditoriums Classrooms Courtrooms Churches and Temples Theaters Museums Arenas (indoors only) Sport stadiums (indoors only) Retirement/nursing homes Hospitals |
CONVENTIONAL INDUCTION LOOP Transmitter: Amplifier drives an induction loop that surrounds listening area. Receivers: a)Personal hearing aid with telecoil. b)Pocket size induction receiver with earphone or headset. c)Self-contained wand. d)Telecoil inside plastic chassis which looks like a BTE, ITE, or canal hearing aid. |
Requires little, or no administration of receivers, if most people have telecoil-equipped hearing aids. Induction receivers must be used where hearing aids in use are not equipped with telecoils. Induction receivers are compatible with all loop systems. Unobtrusive with telecoil hearing aid. May be used separately or integrated with existing PA-systems. Portable systems are available for use with small groups of listeners. These portable systems can be stored in a carrying case and set up temporarily, as needed. |
Signal spill-over to adjacent rooms. Susceptible to electrical interference. Limited portability unless areas are pre- looped or small, portable system is used (see advantages). Requires installation of loop wire. Installation may be difficult in pre- existing buildings. Skilled installation essential in historical buildings (and may not be permitted at all). If listener does not have telecoil-equipped hearing aid then requires administration and maintenance of receivers. |
Service counters Ports of transportation Public transportation vehicles Tour busses Meeting rooms Conference rooms Auditoriums Classrooms Courtrooms Churches and Temples Theaters Museums Theme parks Arenas Sport stadiums Retirement/nursing homes Hospitals |
3-D LOOP SYSTEM Transmitter: Amplifier drives a 3-D mat that is placed under the carpet of the listening area. Receivers: a) Personal hearing aid with telecoil. b) Pocket size induction receiver with earphone or head-set. c) Self-contained wand. d) Telecoil inside plastic chassis which looks like a BTE, ITE, or canal hearing aid. |
Requires little, or no administration of receivers, provided most listeners have telecoil-equipped hearing aids. Induction receivers are compatible with all loops systems. May be used separately or integrated with existing PA-systems. Three-dimensional reception of loop signal regardless of telecoil position. Reduced signal spillover allows adjacent rooms to be looped without signal interference. 3-D loop mats must be separated by 6 feet to avoid signal spillover. |
Limited portability (areas may be pre-3-D Loop matted to facilitate portability). Requires installation of 3-D Loop mats. Instal- lation may be difficult in pre-existing build- ings. Skilled installa- tion essential in historical buildings (and may not be permitted at all). If listener does not have telecoil-equipped hearing aid then requires administra- tion and maintenance of receivers. Susceptible to electrical interference. |
Service counters Ports of Transportation Meeting rooms Conference rooms Auditoriums Classrooms Courtrooms Museums Theme Parks Retirement/nursing homes Meetings requiring confidentiality Hospitals |
Modified from a chart published by Centrum Sound, Cupertino, California Cynthia L. Compton, Assistive Devices Center Department of Audiology and Speech-Language Pathology Gallaudet University, Washington, DC |
A4.36.2 Saunas and Steam Rooms. A 60-inch turning diameter space or a T-shaped space is required within the sauna or steam room. Removable benches or seats are permitted to obstruct the 60-inch or T-shaped space.
A4.37.3 Benches. Back support may be achieved through locating benches adjacent to walls or by other designs that will meet the minimum dimensions specified.
A5.0 Restaurants and Cafeterias.
A5.1 General. Dining counters (where there is no service) are typically found in small carry-out restaurants, bakeries, or coffee shops and may only be a narrow eating surface attached to a wall. This section requires that where such a dining counter is provided, a portion of the counter shall be at the required accessible height.
A7.0 Business, Mercantile and Civic.
A7.2(3)(iii) Counter or Teller Windows with Partitions. Methods of facilitating voice communication may include grilles, slats, talk-through baffles, and other devices mounted directly into the partition which users can speak directly into for effective communication. These methods are required to be designed or placed so that they are accessible to a person who is standing or seated. However, if the counter is only used by persons in a seated position, then a method of facilitating communication which is accessible to standing persons would not be necessary.
A7.2(4) Assistive Listening Systems. At all sales and service counters, teller windows, box offices, and information kiosks where a physical barrier separates service personnel and customers, it is recommended that at least one permanently installed assistive listening device complying with 4.33 be provided at each location or series. Where assistive listening devices are installed, signage should be provided identifying those stations which are so equipped.
A7.3 Check-out Aisles. Section 7.2 refers to counters without aisles; section 7.3 concerns check-out aisles. A counter without an aisle (7.2) can be approached from more than one direction such as in a convenience store. In order to use a check-out aisle (7.3), customers must enter a defined area (an aisle) at a particular point, pay for goods, and exit at a particular point.
A10.0 Transportation Facilities.
A10.3 Fixed Facilities and Stations.
A10.3.1(7) Route Signs. One means of making control buttons on fare vending machines usable by persons with vision impairments is to raise them above the surrounding surface. Those activated by a mechanical motion are likely to be more detectable. If farecard vending, collection, and adjustment devices are designed to accommodate farecards having one tactually distinctive corner, then a person who has a vision impairment will insert the card with greater ease. Token collection devices that are designed to accommodate tokens which are perforated can allow a person to distinguish more readily between tokens and common coins. Thoughtful placement of accessible gates and fare vending machines in relation to inaccessible devices will make their use and detection easier for all persons with disabilities.
A10.4.1(8) Security Systems. This provision requires that, at a minimum, an accessible route or path of travel be provided but does not require security equipment or screening devices to be accessible. However, where barriers consist of movable equipment, it is recommended that they comply with the provisions of this section to provide persons with disabilities the ability to travel with the same ease and convenience as other members of the general public.
A11.0 Judicial, Legislative and Regulatory Facilities.
A11.1.3 Two-Way Communication Systems. Two-way communication entry systems must provide both voice and visual display so that persons with hearing or speech impairments can utilize the system. This requirement may be met with a device that would allow security personnel to respond to a caller with a light indicating that assistance is on the way. It is important that signage be provided to indicate the meaning of visual signals.
A11.2.1(2) Assistive Listening Systems. People who wear hearing aids often need them while using assistive listening systems. The Department of Justice's regulation implementing title II of the ADA requires public entities to provide appropriate auxiliary aids and services where necessary to ensure effective communication. See 28 C.F.R. 35.160 and 28 C.F.R. 35.164. Where assistive listening systems are used to provide effective communication, the Department of Justice considers it essential that a portion of receivers be compatible with hearing aids. Receivers that are not compatible include ear buds, which require removal of hearing aids, and headsets that must be worn over the ear, which can create disruptive interference in the transmission.
A11.2.3(2)(b) Toilet and Bathing Facilities. The requirements of 4.22 for toilet rooms and 4.23 for bathrooms, bathing facilities, and shower rooms do not preclude the placement of toilet or bathing fixtures within housing or holding cells or rooms as long as the requirements for toilet rooms and bathrooms, including maneuvering space, are met. In such instances, the maneuvering space required within housing or holding cells or rooms may also serve as the maneuvering space required in toilet rooms by 4.22 or in bathrooms or shower rooms by 4.23.
A11.2.3(2)(c) Beds. The height of beds should be 17 in to 19 in (430 mm to 485 mm) measured from the finish floor to the bed surface, including mattresses or bed rolls, to ensure appropriate transfer from wheelchairs and other mobility aids. Where upper bunks are provided, sufficient clearance should be provided between bunks so that the transfer from wheelchairs to lower bunks is not restricted. Figure A3 provides average human dimensions that should be considered in determining this clearance.
A11.2.3(3) Visiting Areas. Accessible cubicles or portions of counters may have fixed seats if the required clear floor space is provided within the area defined by the cubicle. Consideration should be given to the placement of grilles, talk-thru baffles, intercoms, telephone handsets or other communication devices so they are usable from both the fixed seat and from the accessible seating area. If an assistive listening system is provided, the needs of the intended user and characteristics of the setting should be considered as described in A4.33.7 and Table A2.
A11.3 Legislative and Regulatory Facilities. Legislative facilities include town halls, city council chambers, city or county commissioners' meeting rooms, and State capitols. Regulatory facilities are those which house State and local entities whose functions include regulating, governing, or licensing activities. Section 11.3 applies to rooms where public debate, or discussion of local issues, laws, ordinances, or regulations take place. Examples include, but are not limited to, legislative chambers and hearing rooms, facilities where town, county council or school Board meetings, and housing authority meetings are held, and rooms accommodating licensing or other regulatory board hearings, adjudicatory administrative hearings (e.g., drivers license suspension hearings) and zoning application and waiver proceedings.
A11.3.2 See A11.2.1(2).
A12.0 Detention and Correctional Facilities.
A12.1 General. All common use areas serving accessible cells or rooms are required to be accessible. In detention and correctional facilities, common use areas include those areas serving a group of inmates or detainees, including, but not limited to, exercise yards and recreation areas, workshops and areas of instruction or vocational training, counseling centers, cafeterias, commissaries, medical facilities, and any other rooms, spaces, or elements that are made available for the use of a group of inmates or detainees. Detention and correctional facilities also contain areas that may be regarded as common use areas which specifically serve a limited number of housing cells or rooms. Where this occurs, only those common use areas serving accessible cells or rooms would need to be accessible as required by 12.5. For example, several housing cells may be located at and served by a dayroom or recreation room. In this instance, only those dayrooms serving accessible housing cells or rooms would need to be accessible. However, common use areas that do not serve accessible cells but that are used by the public or by employees as work areas are still subject to the requirements for public use areas and employee work areas in section 4.
A12.2.1 Entrances. Persons other than inmates and facility staff, such as counselors and instructors, may have access to secured areas. It is important that evacuation planning address egress for all possible users since a person with a disability might not be able to independently operate doors permitted by this exception.
A12.3 Visiting Areas. Accessible cubicles or portions of counters may have fixed seats if the required clear floor space is provided within the area defined by the cubicle. Consideration should be given to the placement of grilles, talk-thru baffles, intercoms, telephone handsets or other communication devices so they are usable from both the fixed seat and from the accessible seating area. If an assistive listening system is provided, the needs of the intended user and characteristics of the setting should be considered as described in A4.33.7 and Table A2.
A12.4.1 Holding Cells and General Housing Cells or Rooms. Accessible cells or rooms should be dispersed among different levels of security, housing categories and holding classifications (e.g., male/female and adult/juvenile) to facilitate access. Many detention and correctional facilities are designed so that certain areas (e.g., "shift" areas) can be adapted to serve as different types of housing according to need. For example, a shift area serving as a medium security housing unit might be redesignated for a period of time as a high security housing unit to meet capacity needs. Placement of accessible cells or rooms in shift areas may allow additional flexibility in meeting requirements for dispersion of accessible cells or rooms.
A12.4.2 Special Holding and Housing Cells or Rooms. While one of each type of special purpose cell is required to be accessible at a facility, constructing more than one of each type to be accessible will facilitate access at large facilities where cells of each type serve different holding areas or housing units. The requirement for medical isolation cells applies only to those specifically designed for medical isolation. Cells or rooms primarily designed for other purposes, such as general housing or medical care, are subject to the requirements in 12.4.1 or 12.4.4, respectively. Medical isolation cells required to be accessible by 12.4.2 shall not be counted as part of the minimum number of patient bedrooms or cells required to be accessible in 12.4.4. Thus, if a medical care facility has both types of cells, at least one medical isolation cell must be accessible under 12.4.2 in addition to the number of patient bedrooms or cells required to be accessible by 12.4.4. While only one medical isolation cell per facility is required to be accessible, it is recommended that consideration be given to ensuring the accessibility of all medical isolation cells.
A12.4.3 Accessible Cells or Rooms for Persons with Hearing Impairments. Many correctional facilities do not provide permanently installed telephones or alarms within individual housing cells. Such facilities are not subject to the requirements of 12.4.3. However, some categories of housing, such as minimum security prisons, may be equipped with such devices. The minimum two percent is based on the number of cells or rooms equipped with these devices and not on the total number of cells or rooms in the facility. In addition, this requirement applies only where permanently installed telephones or alarms are provided within individual cells. Permanently installed telephones and alarms located in common use areas, such as dayrooms, are required to be accessible according to the requirements for common use areas. See 12.1.
A12.5.2 Minimum Requirements. The requirements of this section apply to elements provided within housing or holding cells or rooms. Elements located outside cells or rooms for common use, such as in a day room, are subject to 12.1 and its application of requirements in section 4. For example, if a drinking fountain is provided within an accessible housing or holding cell, at least one must be wheelchair accessible under section 12.5.2(4). Drinking fountains located outside the cells in common use areas serving accessible cells or in public use areas, are subject to the requirements of 4.1.3(10).
A12.5.2(2) Toilet and Bathing Facilities. The requirements of 4.22 for toilet rooms and 4.23 for bathrooms, bathing facilities, and shower rooms do not preclude the placement of toilet or bathing fixtures within housing or holding cells or rooms as long as the requirements for toilet rooms and bathrooms, including maneuvering space, are met. In such instances, the maneuvering space required within housing or holding cells or rooms may also serve as the maneuvering space required in toilet rooms by 4.22 or in bathrooms or shower rooms by 4.23.
A12.5.2(3) Beds. Since beds may not always be fixed, a minimum number of accessible beds has not been specified. In barracks-style rooms with many beds, it is recommended that the scoping requirement for housing or holding cells or rooms (2 percent) also be applied to the number of beds in accessible cells or rooms.
The height of beds should be 17 to 19 in (430 mm to 485 mm) measured from the finish floor to the bed surface, including mattresses or bed rolls, to ensure appropriate transfer from wheelchairs and other mobility aids. Where upper bunks are provided, sufficient clearance must be provided between bunks so that the transfer from wheelchairs to lower bunks is not restricted. Figure A3 provides standard human dimensions that should be considered in determining this clearance.
Unless otherwise modified in Section 4 or specifically addressed in section 15, all other ADAAG provisions apply for the design and construction of recreation facilities and elements. The provisions in this section apply wherever these elements are provided. For example, office buildings may contain a room with exercise equipment and these sections therefore apply.
A15.1 Amusement Rides. These guidelines apply to newly designed or newly constructed amusement rides. A custom designed and constructed ride is new upon its "first use," which is the first time amusement park patrons take the ride. With respect to amusement rides purchased from other entities, "new" refers to the first permanent installation of the ride, whether it is used "off the shelf" or it is modified before it is installed. Where amusement rides are moved after several seasons to another area of the park or to another park, the ride would not be considered newly designed or newly constructed.
Amusement rides designed primarily for children, amusement rides that are controlled or operated by the rider, and amusement rides without seats, are not required to provide wheelchair spaces, transfer seats, or transfer systems, and need not meet the signage requirements in 15.1.6. The load and unload areas of these rides must, however, be on an accessible route and must provide maneuvering space under 15.1.4 and 15.1.5.
The scoping and technical provisions of the guidelines were developed to address common amusement rides. There will be other amusement attractions that have unique designs and features which are not adequately addressed by the guidelines. In those situations, the guidelines are to be applied to the extent possible.
An accessible route must be provided to these areas. Where an attraction or ride has unique features for which there are no applicable scoping provisions, then a reasonable number, but at least one, of the features must be located on an accessible route. Where there are appropriate technical provisions, they must be applied to the elements that are covered by the scoping provisions. Where an attraction has unique designs for which the technical provisions are not appropriate, the operators of those attractions are still subject to all the other requirements of the ADA, including program accessibility, barrier removal and the general obligation to provide individuals with disabilities an equal opportunity to enjoy the goods and services provided by their facilities. An example of an amusement ride not specifically addressed by the guidelines includes "virtual reality" rides where the device does not move through a fixed course within a defined area.
A15.1 Exception 1. Mobile or temporary rides are those set up for short periods of time such as traveling carnivals, State and county fairs, and festivals. The amusement rides that are covered by section 15.1 are ones that are not regularly assembled and disassembled.
A15.1 Exception 2. The exception does not apply to those rides where patrons may cause the ride to make incidental movements, but where the patron otherwise has no control over the ride.
A15.1 Exception 3. The exception is limited to those rides designed "primarily" for children, where children are assisted on and off the ride by an adult. This exception is limited to those rides designed for children and not for the occasional adult user. An accessible route to and maneuvering space in the load and unload area will provide access for adults and family members assisting children on and off these rides.
A15.1.2 Alterations to Amusement Rides. Routine maintenance, painting, and changing of theme boards are examples of activities that do not constitute an alteration subject to section 15.1.2. Where existing amusement rides are moved and not altered, section 15.1 does not apply unless the load and unload area of the amusement ride is newly designed and constructed. If a load or unload area is altered, the alteration provisions of ADAAG 4.1.6 must be applied to the altered area.
A15.1.4 Accessible Route. Steeper slopes are permitted (not to exceed 1:8) where the accessible route connects to the amusement ride in the load and unload position. This is permitted only where compliance with 4.8.2 (maximum slope 1:12) is "structurally or operationally infeasible". In most cases, this will be limited to areas where the accessible route leads directly to the amusement ride and where there are space limitations on the ride, not the queue line. Where possible, the least possible slope should be used on the accessible route that serves the amusement ride.
A15.1.7.1.2 Amusement Rides with Wheelchair Spaces. 36 C.F.R. 1192.83(c) ADA Accessibility Guidelines for Transportation Vehicles - Light Rail Vehicles and Systems - Mobility Aid Accessibility is available at www.access-board.gov/transit/html/vguide.htm#LRVM. It references provisions for bridge plates and ramps used for gaps between wheelchair spaces and floors of load and unload areas.
A15.1.7.2 Exception 3. This exception for protruding objects applies to the ride devices, not to circulation areas or accessible routes in the queue lines or the load and unload areas.
A15.1.7.2.2 Wheelchair Spaces - Side Entry. Under certain circumstances, a 32-inch clear opening will not provide sufficient width to accommodate a turn into an amusement ride. The amount of clear space needed within the ride, and the size and position of the opening are interrelated. Additional space for maneuvering and a wider door will be needed where a side opening is centered on the ride. For example, where a 42-inch opening is provided, a minimum clear space of 60 inches in length and 36 inches in depth is needed (see Fig. A9). This is necessary to ensure adequate space for maneuvering. For additional guidance refer to Figure 3 (Wheelchair Turning Space) and Figure 4 (Minimum Clear Floor Space for Wheelchairs) on minimum space requirements.
A15.1.8 Amusement Ride Seats Designed for Transfer. There are many different ways that individuals transfer to and from their wheelchairs or mobility devices. The proximity of the clear floor or ground space next to an element and the height of the element one is transferring to are both critical for a safe and independent transfer. Providing additional clear floor or ground space both in front of and diagonally to the element will provide flexibility and increased usability for a more diverse population of individuals with disabilities. Ride seats designed for transfer should involve only one transfer. Where possible, designers are encouraged to locate the ride seat no higher than 17 to 19 inches above the load and unload surface. Where greater distances are required for transfers, consideration should be given to providing gripping surfaces, seat padding, and avoiding sharp or protruding objects in the path of transfer to better facilitate the transfer process.
A15.1.9 Transfer Devices for Use with Amusement Rides. Transfer devices for use with amusement rides should permit individuals to make independent transfers to and from their wheelchairs or mobility devices. There are a variety of transfer devices available that could be adapted to provide access onto an amusement ride. Examples of devices that may provide for transfers include, but are not limited to, transfer systems (see 15.8.8), lifts, mechanized seats, and other custom designed systems. Operators and designers have flexibility in developing designs that will facilitate individuals to transfer onto amusement rides. These systems or devices should be designed to be reliable and sturdy. A transfer board, for example, would not be sufficient because it will not provide enough support or stability and may cause injury.
Designs which limit the number of transfers required from one’s wheelchair or mobility device to the ride seat are encouraged. When using a transfer device to access an amusement ride, the least amount of transfers for the least amount of distance is desired. Where possible, designers are encouraged to locate the transfer device seat no higher than 17 to 19 inches above the load and unload surface. Where greater distances are required for transfers, extra consideration should be given to providing gripping surfaces, seat padding, and avoiding sharp or protruding objects in the path of transfer to better facilitate the transfer process. Where a series of transfers are required to reach the amusement ride seat, each vertical transfer should not exceed 8 inches.
As discussed with amusement rides seats designed for transfer, there are many different ways that individuals transfer to and from their wheelchairs or mobility devices. The proximity of the clear floor or ground space next to an element and the height of the element one is transferring to are both critical for a safe and independent transfer. Providing additional clear floor or ground space both in front of and diagonally to the element will provide flexibility and increased usability for a more diverse population of individuals with disabilities.
A15.2.2 Accessible Route. The following two examples apply exceptions two and three.
Example 1. Boat slips which are required to be accessible are provided at a floating pier. The vertical distance an accessible route must travel to the pier when the water is at its lowest level is six feet, although the water level only fluctuates three feet. To comply with exceptions 2 and 3, at least one design solution would provide a gangway at least 72.25 feet long which ensures the slope does not exceed 1:12.
Example 2. A gangway is provided to a floating pier which is required to be on an accessible route. The vertical distance is 10 feet between the elevation where the gangway departs the landside connection and the elevation of the pier surface at the lowest water level. Exceptions 2 and 3, which modify 4.8.2, permit the gangway to be at least 80 feet long. Another design solution would be to have two 40-foot plus continuous gangways joined together at a float, where the float (as the water level falls) will stop dropping at an elevation five feet below the landside connection.
A15.2.3 Boat Slips: Minimum Number. Accessible boat slips are not "reserved" for persons with disabilities in the same manner as accessible vehicle parking spaces. Rather, accessible boat slip use is comparable to accessible hotel rooms. The Department of Justice is responsible for addressing operational issues relating to the use of accessible facilities and elements. The Department of Justice currently advises that hotels should hold accessible rooms for persons with disabilities until all other rooms are filled. At that point, accessible rooms can be open for general use on a first come, first serve basis.
The following two examples apply to a boating facility with a single non-demarcated pier.
Example 1. A site contains a new boating facility which consists of a single 60-foot pier. Boats are only moored parallel with the pier on both sides to allow occupants to embark or disembark. Since the number of slips cannot be identified, section 15.2.3 requires each 40 feet of boat slip edge to be counted as one slip for purposes of determining the number of slips available and determines the number required to be accessible. The 120 feet of boat slip edge at the pier would equate with 3 boat slips. Table 15.2.3 would require 1 slip to be accessible and comply with 15.2.5. Section 15.2.5 (excluding the exceptions within the section) requires a clear pier space 60 inches wide minimum extending the length of the slip. In this example, because the pier is at least 40 feet long, the accessible slip must contain a clear pier space at least 40 feet long which has a minimum width of 60 inches.
Example 2. A new boating facility consisting of a single pier 25 feet long and 3 feet wide is being planned for a site. The design intends to allow boats to moor and occupants to embark and disembark on both sides, and at one end. As the number of boat slips cannot be identified, applying section 15.2.3 would translate to 53 feet of boat slip edge at the pier. This equates with two slips. Table 15.2.3 would require 1 slip to be accessible. To comply with 15.2.5 (excluding the exceptions within the section), the width of the pier must be increased to 60 inches. Neither 15.2.3 or 15.2.5 requires the pier length to be increased to 40 feet.
A15.2.3.1 Dispersion. Types of boat slips are based on the size of the boat slips; whether single berths or double berths, shallow water or deep water, transient or longer-term lease, covered or uncovered; and whether slips are equipped with features such as telephone, water, electricity and cable connections. The term "boat slip" is intended to cover any pier area where recreational boats embark or disembark, unless classified as a launch ramp boarding pier. For example, a fuel pier may contain boat slips, and this type of short term slip would be included in determining compliance with 15.2.3.1.
A15.2.4 Boarding Piers at Boat Launch Ramps. The following two examples apply to a boat launch ramp boarding pier.
Example 1. A chain of floats is provided on a launch ramp to be used as a boarding pier which is required to be accessible by 15.2.4. At high water, the entire chain is floating and a transition plate connects the first float to the surface of the launch ramp. As the water level decreases, segments of the chain end up resting on the launch ramp surface, matching the slope of the launch ramp. As water levels drop, segments function also as gangways because one end of a segment is resting on the launch ramp surface and the other end is connecting to another floating segment in the chain.
Under ADAAG 4.1.2(2), an accessible route must serve the last float because it would function as the boarding pier at the lowest water level. Under exception 3 in 15.2.4, each float is not required to comply with ADAAG 4.8, but must meet all other requirements in ADAAG 4.3, unless exempted by exception 1 in 15.2.4. In this example, because the entire chain also functions as a boarding pier, the entire chain must comply with the requirements of 15.2.5, including the 60-inch minimum clear pier width provision.
Example 2. A non-floating boarding pier supported by piles divides a launching area into two launch ramps and is required to be accessible. Under ADAAG 4.1.2(2), an accessible route must connect the boarding pier with other accessible buildings, facilities, elements, and spaces on the site. Although the boarding pier is located within a launch ramp, because the pier is not a floating pier or a skid pier, none of the exceptions in 15.2.4 apply. To comply with ADAAG 4.3, either the accessible route must run down the launch ramp or the fixed boarding pier could be relocated to the side of the two launch ramps. The second option leaves the slope of the launch ramps unchanged, because the accessible route runs outside the launch ramps.
A15.2.4.1 Boarding Pier Clearances. The guidelines do not establish a minimum length for accessible boarding piers at boat launch ramps. The accessible boarding pier would have a length which is at least equal to other boarding piers provided at the facility. If no other boarding pier is provided, the pier would have a length equal to what would have been provided if no access requirements applied. The entire length of accessible boarding piers would be required to comply with the same technical provisions that apply to accessible boat slips. For example, at a launch ramp, if a 20-foot long accessible boarding pier is provided, the entire 20 feet must comply with the pier clearance requirements in 15.2.5. Likewise, if a 60-foot long accessible boarding pier is provided, the pier clearance requirements in 15.2.5 would apply to the entire 60 feet.
A15.2.5 Accessible Boat Slips. Although the minimum width of the clear pier space is 60 inches, it is recommended that piers be wider than 60 inches to improve the safety for persons with disabilities, particularly on floating piers.
A15.2.5.1 Clearances, Exception 3. Where the conditions in exception 3 are satisfied, existing facilities are only required to have one accessible boat slip with a pier clearance which runs the length of the slip. All other accessible slips are allowed to have the required pier clearance at the head of the slip. Under this exception, at piers with perpendicular boat slips, the width of most "finger piers" will remain unchanged. However, where mooring systems for floating piers are replaced as part of pier alteration projects, an opportunity may exist for increasing accessibility. Piers may be reconfigured to allow an increase in the number of wider finger piers, and serve as accessible boat slips.
A.15.3 Fishing Piers and Platforms.
A15.3.2 Accessible Route, Exception 2. For example, to provide access to an accessible floating fishing pier, a gangway is used. The vertical distance is 60 inches between the elevation that the gangway departs the landside connection and the elevation of the pier surface at the lowest water level. Exception 2 permits the use of a gangway at least 30 feet long, or a series of connecting gangways with a total length of at least 30 feet. The length of transition plates would not be included in determining if the gangway(s) meet the requirements of the exception.
A15.3.3.1 Edge Protection. Edge protection is required only where railings, guards, or handrails are provided on a fishing pier or platform. Edge protection will prevent wheelchairs or other mobility devices from slipping off the fishing pier or platform. Extending the deck of the fishing pier or platform 12 inches where the 34-inch high railing is provided is an alternative design, permitting individuals using a wheelchair or other mobility device to pull into a clear space and move beyond the face of the railing. In such a design, edge protection is not required.
A15.3.3.3 Dispersion. Portions of the railings that are lowered to provide fishing opportunities for persons with disabilities must be located in a variety of locations on the fishing pier or platform to give people a variety of locations to fish. Different fishing locations may provide varying water depths, shade (at certain times of the day), vegetation, and proximity to the shoreline or bank.
A15.4.2 Accessible Routes. The accessible route or golf car passage must serve accessible elements and spaces located within the boundary of a golf course. The 48-inch minimum width for the accessible route is necessary to ensure passage of a golf car on either the accessible route or the golf car passage. This is important where the accessible route is used to connect the golf car rental area, bag drop areas, practice putting greens, accessible practice teeing grounds, course toilet rooms, and course weather shelters. These are areas outside the boundary of the golf course, but are areas where an individual using an adapted golf car may travel. A golf car passage may not be substituted for other accessible routes, required by ADAAG 4.1.2, located outside the boundary of the course. For example, an accessible route connecting an accessible parking space to the entrance of a golf course clubhouse is not covered by this provision.
A15.4.3 Accessible Route - Driving Ranges. Both a stand alone driving range or a driving range next to a golf course must provide an accessible route or golf car passage that connects accessible teeing stations with accessible parking spaces. The accessible route must be a minimum width of 48 inches; 60 inches if handrails are provided. The additional width permits the use of a golf car on the accessible route. Providing a golf car passage will permit a person that uses a golf car to practice driving a golf ball from the same position and stance used when playing the game. Additionally, the space required for a person using a golf car to enter and maneuver within the teeing stations required to be accessible should be considered.
A15.5 Miniature Golf. Where possible, providing access to all holes on a miniature golf course is recommended. If a course is designed with the minimum 50 percent accessible holes, designers or operators are encouraged to select holes which provide for an equivalent experience to the maximum extent possible. Accessible holes are required to be consecutive with one break permitted, if the last hole on the course is in the sequence.
A15.5.3 Accessible Route. Where only the minimum 50 percent of the holes are accessible, an accessible route from the last accessible hole to the course exit or entrance must not require travel back through other holes. In some cases, this may require an additional route. Other options include increasing the number of accessible holes in a way that limits the distance needed to connect the last accessible hole with the course exit or entrance. In any case, careful consideration to the layout of the course will be important to minimize space impacts.
The 1-inch curb for a 32-inch minimum opening can be located in an area where the ball is less likely to ricochet. Where the accessible route on the hole is provided, steeper slopes are permitted for a limited distance. A landing or level area must separate each of these steeper sloping segments. This will provide a resting area between the steeper segments.
A15.5.5 Golf Club Reach Range. Accessible holes on a miniature golf course may be provided with an accessible route leading through the hole or with the accessible route next to the hole. Where the accessible route is provided adjacent to the hole, the route must be located within the golf club reach range. This allows individuals sufficient space and reach to play the game outside of the hole. Where possible, the distance between the level areas and the accessible route should be as close as possible, affording more opportunities for play.
A15.6.1 General. This section is to be applied during the design, construction, and alteration of play areas for children ages 2 and over. Play areas are the portion of a site where play components are provided. This section does not apply to other portions of a site where elements such as sports fields, picnic areas, or other gathering areas are provided. Those areas are addressed by other sections of ADAAG. Play areas may be located on exterior sites or within a building. Where separate play areas are provided within a site for children in specified age groups (e.g., preschool (ages 2 to 5) and school age (ages 5 to 12)), each play area must comply with this section. Where play areas are provided for the same age group on a site but are geographically separated (e.g., one is located next to a picnic area and another is located next to a softball field), they are considered separate play areas and each play area must comply with this section.
A15.6.2 Ground Level Play Components. A ground level play component is a play component approached and exited at the ground level. Examples of ground level play components include spring rockers, swings, diggers, and stand alone slides. When distinguishing between the different types of ground level play components, consider the general experience provided by the play component. Examples of different types of experiences include, but are not limited to, rocking, swinging, climbing, spinning, and sliding. A spiral slide may provide a slightly different experience from a straight slide, but sliding is the general experience and therefore a spiral slide is not considered a different type of play component than a straight slide.
The number of ground level play components is not dependent on the number of children who can play on the play component. A large seesaw designed to accommodate ten children at once is considered one ground level play component.
Where a large play area includes two or more composite play structures designed for the same age group, the total number of elevated play components on all the composite play structures must be added to determine the additional number and types of ground level play components that must be provided on an accessible route, and the type of accessible route (e.g., ramps or transfer systems) that must be provided to the elevated play components.
Ground level play components accessed by children with disabilities must be integrated in the play area. Designers should consider the optimal layout of ground level play components accessed by children with disabilities to foster interaction and socialization among all children. Grouping all ground level play components accessed by children with disabilities in one location is not considered integrated.
A15.6.3 Elevated Play Components. Elevated play components are approached above or below grade and are part of a composite play structure. A double or triple slide that is part of a composite play structure is one elevated play component. For purposes of this section, ramps, transfer systems, steps, decks, and roofs are not considered elevated play components. These elements are generally used to link other elements on a composite play structure. Although socialization and pretend play can occur on these elements, they are not primarily intended for play. Some play components that are attached to a composite play structure can be approached or exited at the ground level or above grade from a platform or deck. For example, a climber attached to a composite play structure can be approached or exited at the ground level or above grade from a platform or deck on a composite play structure. Play components that are attached to a composite play structure and can be approached from a platform or deck (e.g., climbers and overhead play components), are considered elevated play components. These play components are not considered ground level play components also, and do not count toward the requirements in 15.6.2 regarding the number of ground level play components that must be located on an accessible route.
A15.6.4 Accessible Routes. Accessible routes within the boundary of the play area must comply with 15.6.4. Accessible routes connecting the play area to parking, drinking fountains, and other elements on a site must comply with 4.3. Accessible routes provide children who use wheelchairs or other mobility devices the opportunity to access play components. Accessible routes should coincide with the general circulation path used within the play area. Careful placement and consideration of the layout of accessible routes will enhance the ability of children with disabilities to socialize and interact with other children.
Where possible, designers and operators are encouraged to provide wider ground level accessible routes within the play area or consider designing the entire ground surface to be accessible. Providing more accessible spaces will enhance the integration of all children within the play area and provide access to more play components. A maximum slope of 1:16 is required for ground level ramps; however, a lesser slope will enhance access for those children who have difficulty negotiating the 1:16 maximum slope. Handrails are not required on ramps located within ground level use zones.
Where a stand alone slide is provided, an accessible route must connect the base of the stairs at the entry point, and the exit point of the slide. A ramp or transfer system to the top of the slide is not required. Where a sand box is provided, an accessible route must connect to the border of the sand box. Accessibility to the sand box would be enhanced by providing a transfer system into the sand or by providing a raised sand table with knee clearance complying with 15.6.6.3.
Elevated accessible routes must connect the entry and exit points of at least 50 percent of elevated play components. Ramps are preferred over transfer systems since not all children who use wheelchairs or other mobility devices may be able to use or may choose not to use transfer systems. Where ramps connect elevated play components, the maximum rise of any ramp run is limited to12 inches. Where possible, designers and operators are encouraged to provide ramps with a lesser slope than the 1:12 maximum. Berms or sculpted dirt may be used to provide elevation and may be part of an accessible route to composite play structures.
Platform lifts complying with 4.11 and applicable State and local codes are permitted as a part of an accessible route. Because lifts must be independently operable, operators should carefully consider the appropriateness of their use in unsupervised settings.
A15.6.5 Transfer Systems. Transfer systems are a means of accessing composite play structures. Transfer systems generally include a transfer platform and a series of transfer steps. Children who use wheelchairs or other mobility devices transfer from their wheelchair or mobility devices onto the transfer platform and lift themselves up or down the transfer steps and scoot along the decks or platforms to access elevated play components. Some children may be unable or may choose not to use transfer systems. Where transfer systems are provided, consideration should be given to the distance between the transfer system and the elevated play components. Moving between a transfer platform and a series of transfer steps requires extensive exertion for some children. Designers should minimize the distance between the points where a child transfers from a wheelchair or mobility device and where the elevated play components are located. Where elevated play components are used to connect to another elevated play component in lieu of an accessible route, careful consideration should be used in the selection of the play components used for this purpose. Transfer supports are required on transfer platforms and transfer steps to assist children when transferring. Some examples of supports include a rope loop, a loop type handle, a slot in the edge of a flat horizontal or vertical member, poles or bars, or D rings on the corner posts.
A15.6.6 Play Components. Clear floor or ground spaces, maneuvering spaces, and accessible routes may overlap within play areas. A specific location has not been designated for the clear floor or ground spaces or maneuvering spaces, except swings, because each play component may require that the spaces be placed in a unique location. Where play components include a seat or entry point, designs that provide for an unobstructed transfer from a wheelchair or other mobility device are recommended. This will enhance the ability of children with disabilities to independently use the play component.
When designing play components with manipulative or interactive features, consider appropriate reach ranges for children seated in wheelchairs. The following table provides guidance on reach ranges for children seated in wheelchairs. These dimensions apply to either forward or side reaches. The reach ranges are appropriate for use with those play components that children seated in wheelchairs may access and reach. Where transfer systems provide access to elevated play components, the reach ranges are not appropriate.
Forward or Side Reach | Ages 3 and 4 | Ages 5 through 8 | Ages 9 through 12 |
---|---|---|---|
High (maximum) | 36 in (915 mm) | 40 in (1015 mm) | 44 in (1120 mm) |
Low (minimum) | 20 in (510 mm) | 18 in (455 mm) | 16 in (405 mm) |
Where a climber is located on a ground level accessible route, some of the climbing rings should be within the reach ranges. A careful balance of providing access to play components but not eliminating the challenge and nature of the activity is encouraged.
A15.6.7 Ground Surfaces. Ground surfaces along clear floor or ground spaces, maneuvering spaces, and accessible routes must comply with the ASTM F 1951 Standard Specification for Determination of Accessibility of Surface Systems Under and Around Playground Equipment. The ASTM F 1951 standard is available from the American Society for Testing and Materials (ASTM), 100 Barr Harbor Drive, West Conshohocken, PA 19428-2959, telephone (610) 832-9585. The ASTM F 1951 standard may be ordered online from ASTM (http://www.astm.org). The ASTM 1951 standard determines the accessibility of a surface by measuring the work required to propel a wheelchair across the surface. The standard includes tests of effort for both straight ahead and turning movement, using a force wheel on a rehabilitation wheelchair as the measuring device. To meet the standard, the force required must be less than that required to propel the wheelchair up a ramp with a 1:14 slope. When evaluating ground surfaces, operators should request information about compliance with the ASTM F 1951 standard.
Ground surfaces must be inspected and maintained regularly and frequently to ensure continued compliance with the ASTM F 1951 standard. The type of surface material selected and play area use levels will determine the frequency of inspection and maintenance activities.
When using a combination of surface materials, careful design is necessary to provide appropriate transitions between the surfaces. Where a rubber surface is installed on top of asphalt to provide impact attenuation, the edges of the rubber surface may create a change in level between the adjoining ground surfaces. Where the change in level is greater than ½ inch, a sloped surface with a maximum slope of 1:12 must be provided. Products are commercially available that provide a 1:12 slope at transitions. Transitions are also necessary where the combination of surface materials include loose fill products. Where edging is used to prevent the loose surface from moving onto the firmer surface, the edging may create a tripping hazard. Where possible, the transition should be designed to allow for a smooth and gradual transition between the two surfaces.
A15.7 Exercise Equipment and Machines, Bowling Lanes, and Shooting Facilities.
A15.7.2 Exercise Equipment and Machines. Fitness facilities often provide a range of choices of exercise equipment. At least one of each type of exercise equipment and machine must be served by an accessible route. Most strength training equipment and machines are considered different types. For example, a bench press machine is considered a different type than a biceps curl machine. The requirement for providing access to each type is intended to cover the variety of strength training machines. Where operators provide a biceps curl machine and free weights, both are required to meet the provisions in this section, even though an individual may be able to work on their biceps through both types of equipment. Where the exercise equipment and machines provided are only different in that different manufacturers provide them, only one of each type of machine is required to meet these guidelines. For example, where two bench press machines are provided and each is manufactured by a different company, only one is required to comply.
Similarly, there are many types of cardiovascular exercise machines, such as stationary bicycles, rowing machines, stair climbers, and treadmills. Each machine provides a cardiovascular exercise and is considered a different type for purposes of these guidelines.
One clear floor or ground space is permitted to be shared between two pieces of exercise equipment. Designers should carefully consider layout options to maximize space such as connecting ends of the row and center aisle spaces.
The position of the clear floor space may vary greatly depending on the use of the equipment or machine. For example, to make a shoulder press accessible, clear floor space next to the seat would be appropriate to allow for transfer. Clear floor space for a bench press machine designed for use by an individual seated in a wheelchair, however, will most likely be centered on the operating mechanisms.
Designers and operators are encouraged to select exercise equipment and machines that provide fitness opportunities for persons with lower body extremity disabilities. Upper body exercise equipment and machines that offer either cardiovascular or strength training will enhance fitness opportunities for persons with disabilities from a wheelchair or mobility device. Examples include: equipment or machines that provide arm ergometry, free weights, and weighted pulley systems that are usable from a wheelchair or mobility device.
A15.7.4 Shooting Facilities. Examples of different types of firing positions include, but are not limited to: positions having different admission prices, positions with or without weather covering or lighting, and positions supporting different shooting events such as argon, muzzle loading rifle, small bore rifle, high power rifle, bull’s eye pistol, action pistol, silhouette, trap, skeet, and archery (bow and crossbow).
A15.8 Swimming Pools, Wading Pools, and Spas.
A15.8.2 Swimming Pools. Where more than one means of access is provided into the water, it is recommended that the means be different. Providing different means of access will better serve the varying needs of people with disabilities in getting into and out of a swimming pool. It is also recommended that where two or more means of access are provided, they not be provided in the same location in the pool. Different locations will provide increased options for entry and exit, especially in larger pools.
A15.8.2 Swimming Pools, Exception 1. Pool walls at diving areas and areas along pool walls where there is no pool entry because of landscaping or adjacent structures should be counted when determining the number of accessible means of entry required.
A15.8.5 Pool Lifts. There are a variety of seats available on pool lifts ranging from sling seats to those that are preformed or molded. Pool lift seats with backs will enable a larger population of persons with disabilities to use the lift. Pool lift seats that consist of materials that resist corrosion and provide a firm base to transfer will be usable by a wider range of people with disabilities. Additional options such as armrests, head rests, seat belts, and leg support will enhance accessibility and better accommodate people with a wide range of disabilities.
A15.8.5.6 Footrests and Armrests. Footrests are encouraged on lifts used in larger spas, where the foot well water depth is 34 inches or greater. Providing footrests, especially ones that support the entire foot, will facilitate safe and independent transfers by a larger population of persons with disabilities.
A15.8.5.7 Operation. Pool lifts must be capable of unassisted operation from both the deck and water levels. This will permit a person to call the pool lift when the pool lift is in the opposite position. It is extremely important for a person who is swimming alone to be able to call the pool lift when it is in the up position so he or she will not be stranded in the water for extended periods of time awaiting assistance. The requirement for a pool lift to be independently operable does not preclude assistance from being provided.
A15.8.5.9 Lifting Capacity. Single person pool lifts must be capable of supporting a minimum weight of 300 pounds and sustaining a static load of at least one and a half times the rated load. Pool lifts should be provided that meet the needs of the population it is serving. Providing a pool lift with a weight capacity greater than 300 pounds may be advisable.
A15.8.6.1 Sloped Entries. Personal wheelchairs and mobility devices may not be appropriate for submerging in water. Some may have batteries, motors, and electrical systems that when submerged in water may cause damage to the personal mobility device or wheelchair or may contaminate the pool water. Providing an aquatic wheelchair made of non-corrosive materials and designed for access into the water will protect the water from contamination and avoid damage to personal wheelchairs or other mobility aids.
A15.8.6.3 Handrails. Handrails on both sides of a sloped entry provides stability to both persons with mobility impairments and persons using wheelchairs. For safety reasons, a single handrail is permitted on sloped entries provided at wave action pools, leisure rivers, sand bottom pools, and other pools where user access is limited to one area.
A15.8.8.4 Transfer Steps. Where possible, the height of the transfer step should be as minimal as possible. This will decrease the distance an individual is required to lift up or move down to reach the next step to gain access.
A15.8.8.7 Grab Bars. Pool operators have the choice of providing a grab bar on one side of each step and transfer platform or a continuous grab bar on one side serving each transfer step and the transfer platform. If provided on each step, the top of the gripping surface must be 4 to 6 inches above each step. Where a continuous grab bar is provided, the top of the gripping surface must be 4 to 6 inches above the step nosing. Each type has its advantages. A continuous handrail allows the person that is transferring to maintain a constant grip on the handrail while moving up or down the transfer steps. Grab bars provided on each step provide the gripping surface parallel to each step rather than on a diagonal.
A15.8.10 Water Play Components. Personal wheelchairs and mobility devices may not be appropriate for submerging in water when accessing play components located in water. Some may have batteries, motors, and electrical systems that when submerged in water may cause damage to the personal mobility device or wheelchair or may contaminate the water. Providing an aquatic wheelchair made of non-corrosive materials and designed for access into the water will protect the water from contamination and avoid damage to personal wheelchairs.